20 ГІДРО- ТА ГАЗОСТАТИ
Принцип дії гідравлічних та газових статів, які також називають гідростатами та газостатами,
полягає у відносно повільній (квазістатичній) дії на матеріал енергоносієм у вигляді рідини чи
газу, тиск яких є достатнім для отримання залишкових деформацій чи необхідної
густини матеріалу.
Класифікація
статів в КШВ здійснюється за видом середовища, яке
діє на оброблюваний матеріал (рис. 20.1).

Рис. 20.1.
Класифікація гідро- та газостатів
В гідро- та газостатах швидкість деформування складає 0,001...0,02 м/с,
а час деформування – від декількох секунд до декількох годин. Головним
параметром є питоме навантаження, що створює енергоносій.
Технологічним
призначенням гідро- та газостатів є формування
заготовок з листа, виконання пресування та видавлювання, а також ущільнення
порошкових, сипучих матеріалів.
В машинах для гідростатичного штампування
листову заготовку встановлюють на матрицю та герметизують спеціальним
притискним кільцем. В порожнину над заготовкою подається робоча рідина (вода,
емульсія або мінеральні оливи) під тиском від насоса. Тиском цієї рідини
проводять пластичну деформацію заготовки, надаючи їй форму порожнини матриці.
Після закінчення деформації відбувається розкриття штампу і видалення рідини.
Подачу рідини під тиском проводять від насоса
або спеціального гідравлічного циліндра.
Робоча камера 3 гідростата для
гідростатичного видавлювання (рис. 20.2) виконана у вигляді горизонтальної
труби, на одному кінці якої міститься матриця 5, а на іншому – затвор 2
для завантаження заготовки 4. Над
камерою розташований азотно-масляний мультиплікатор 1, робоча порожнина якого з'єднана з порожниною робочої камери.
Мультиплікатор працює на азоті під тиском 21 МПа. За рахунок різниці площ
поршня і плунжера мультиплікатора (коефіцієнт мультиплікації близько 35) тиск
рідини в його робочій порожнині підвищується до 735 МПа. Робочою рідиною
служить касторова олія. Під тиском оливи здійснюється видавлювання заготовки в
отвір матриці.
Рис. 20.2.
Схема гідростату горизонтальної конструкції: 1 –
мультиплікатор; 2 – затвор; 3 – робоча камера; 4 – заготовка; 5 - матриця
За такої схеми роботи гідростата заготовка перебуває в умовах
нерівномірного всестороннього стиску, що підвищує
пластичність матеріалу.
Головним елементом гідростата є робоча
камера, яка становить товстостінний багатошаровий циліндр. В робочу камеру
подається робоча рідина під високим тиском, що може сягати 500…3000 МПа. Робоча рідина в цьому випадку виконує
функції передавального середовища і мастила. При тиску до 2000 МПа застосовують
мінеральні оливи, а при більш високому тиску до (3000 МПа) – гліцерин або гліколь.
Застосування
в газостатах інертного (аргонового) чи нейтрального
(азотного) газового робочого середовища дозволяє забезпечити комбіновану дію
високого тиску та температури. Температура в робочій камері може сягати
2200 ºС при тиску газу 200 МПа. Це дає можливість отримувати
монолітні вироби з порошків, важкодеформівних
металевих та неметалевих матеріалів.
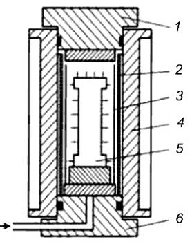
Основним
вузлом конструкції газостата є контейнер з пробками
(рис. 20.3), які утворюють його камеру. Всередині камери газостата розміщений нагрівальний пристрій. Заготовка
розміщується в робочому просторі контейнера всередині нагрівача.

Рис. 20.3.
Схема газостата вертикальної
конструкції: 1, 6 – пробки; 2 –
термоізоляція; 3 – нагрівач; 4 – корпус робочої камери; 5 - заготовка
Перевагою газостатів є відсутність рухомих частин. Джерелом
стиснутого повітря може служити заводська магістраль або спеціальний компресор.
Осьове питоме зусилля газостатів може сягати
50 МПа.