Курс "Ковальсько-штампувальне обладнання" є
одним з основних для підготовки сучасного інженера, особливо у випадку
спеціалізації на процесах пластичного формування матеріалів. Він передбачає
вивчення класифікації, принципу дії машин для обробки тиском їх конструктивних
особливостей, а також основних принципів побудови конструкцій машин, їх
основних вузлів та деталей.
Методичні вказівки
містять інструкції лабораторних робіт щодо вивчення роботи та дослідження
сучасних ковальсько-штампувальних машин (КШМ). У лабораторних роботах міститься
опис конструкцій машин, методики дослідження їх роботи, розрахункові залежності
для визначення основних параметрів КШМ, їх вузлів та деталей. Методичне видання
призначене для виконання лабораторних робіт з курсу КШО та формування загальних
уяв про конструкцію сучасного парку КШМ.
При
підготовці до виконання кожної роботи студент повинен:
-
вивчити відповідні теоретичні розділи літератури, вказаної в учбовому плані;
-
ознайомитись з описом лабораторної роботи;
-
скласти таблиці для запису результатів;
-
засвоїти правила техніки безпеки при роботі з приладами і
обладнанням.
Готовність
студента до виконання чергової лабораторної роботи перевіряє викладач. Якщо
студент не знає змісту і методики проведення лабораторної роботи, то він не
допускається до її виконання.
По
кожній лабораторній роботі студент складає індивідуальний звіт, який повинний
містити принципові схеми і результати досліджень у вигляді таблиць, графіків,
виконаних олівцем з застосуванням креслярських інструментів. Звіт оформляється
на стандартних листах паперу. В кінці звіту наводяться висновки, сформульовані
студентом самостійно. Звіти по всіх роботах повинні бути підшиті під однією
обкладинкою і пред'явлені викладачу. Вони слугують основою для здачі заліку по
практикуму.
Студент
повинен мати міцні знання по відповідних розділах дисципліни, вміти
використовувати методи експериментального дослідження і розрахунку. В
протилежному випадку робота вважається не зарахованою. До повторного заліку
студент допускається не раніше, як через 7-10 днів. Якщо і при цьому студент
виявив незадовільні знання, то він повинен індивідуально знову виконати весь
об'єм лабораторних робіт.
Перед
початком роботи кожен студент повинен пройти спеціальний інструктаж з техніки
безпеки у викладача чи лаборанта, про що необхідно зробити відмітку в журналі з
техніки безпеки.
Лабораторні
роботи виконуються тільки з дозволу викладача в його присутності. Перед
початком лабораторних робіт необхідно:
-
переконатися в тому, що макет чи установка відключені від електроживлення;
-
перевірити типи заземлення та їх підключення до лабораторного стенду;
-
перевірити чи немає зовнішніх пошкоджень кабелів електропроводки, штампів
пневмо- та гідроживлення;
- забрати всі сторонні предмети з робочої зони.
При проведенні лабораторної роботи необхідно:
- ознайомитись
з конструкцією машини, при потребі скласти схему і показати її викладачу або
лаборанту і тільки після їх дозволу провести включення;
-
увімкнувши лабораторний стенд, на короткий час, перевірити працездатність
системи екстреного відключення живлення;
-
увімкнувши лабораторний стенд провести необхідні роботи відповідно до
методичних вказівок.
Помітивши
під час експлуатації лабораторної установки або обладнання пошкодження,
необхідно негайно вимкнути електроживлення, повідомити про це викладача або
лаборанта.
Після
закінчення робіт лабораторний стенд показати для перевірки викладачу або
лаборанту, а після цього вимкнути. Всі органи управління необхідно
встановлювати у вихідне положення.
Тема: вивчення
конструкції кривошипного пресу загального призначення моделі КБ2326
Мета роботи: ознайомитись з типовою конструкцією кривошипного листоштампувального
пресу загального призначення.
Теоретичні відомості
Загальною ознакою
механічних пресів є наявність механічної передачі від електродвигуна до
виконавчого механізму машини.
Механічні преси за
розповсюдженням в машинобудуванні займають друге місце після металорізальних
верстатів та перше – серед всіх типів ковальсько-персових машин. Разом з тим це
машини, які випускаються в одиничних екземплярах або порівняно дрібними
партіями, т. т. практично кожний механічний прес – це унікальна інженерна
машина.
Будь-який
механічний прес складається з деякої кількості вузлів, близьких, якщо не за
конструкцією, то за фізичними законами та принципами, закладеними в основу їх
дії. Тому є доцільним для вивчення конструкції таких вузлів ознайомитись з
найбільш розповсюдженими їх типами.
Конструкції вузлів
пресу відрізняються один від одного в залежності від тих задач, які необхідно
виконувати вузлу. Основними вузлами механічного пресу є:
1.
Головний виконавчий механізм (ГВМ), або
механізми. Це механізм, що здійснює технологічну операцію. В звичайних пресах
ГВМ утворюють повзун, шатун та кривошипний чи ексцентриковий вал.
2.
Допоміжні механізми (ДМ), які можуть
входити до складу ГВМ. Ці механізми розширюють технологічні можливості пресу
або полегшують його ремонт та обслуговування. До числа таких відносять механізми:
зміни величини ходу повзуна, зміни закритої висоти пресу, запобіжний механізм.
3.
Допоміжні механізми, які виступають і в
якості самостійних вузлів (ДМС). До них відносять: виштовхувачі,
зрівноважувачі, механізми подушок, системи змащення та ін.
4.
Механізми вмикання пресу (МВ). Це муфти
вмикання ГВМ, гальма, системи вмикання (набори пристроїв).
5.
Головний привід пресу (ГП). Цей вузол
включає в себе двигун, систему валів та шестерень, які забезпечують пониження
обертів двигуна до необхідного числа обертів колінчастого валу. В більшості
випадків число обертів валу відповідає числу робочих ходів преса.
6.
Механізми обслуговування. До них відносять
механізми: зміни штампів, подачі матеріалу, видалення виробів чи відходу та ін.
7.
Пристрої енергозабезпечення: електро-,
пневмо-, парозабезпечення та ін.
8.
Станина. Всі перелічені механізми
монтуються на загальному вузлі пресу – станині.
Прес
однокривошипний простої дії КБ2326 (рис. 1.4) призначений для виконання
операцій листового штампування та складається з таких вузлів: станини, повзуна,
муфти включення, приводу, гальма, повітрярозподілювача, електрообладнання,
системи змащення, механізму регулювання величини ходу преса, механізму
регулювання закритої висоти пресу, механізму нахилу станини (для пресів з
нахилом).
До допоміжних
механізмів відносять: механізм зупинки пресу у верхньому положенні, механізм
регулювання зазору в напрявляючих повзуна, механізм контролю мастила в основних
маслопроводах, запобіжник пресу, механізм кріплення хвостовика штампу,
механізм, що запобігає самовикручуванню гвинта регулювання закритої висоти
пресу, фіксуючий механізм розвантаження нахилу станини, механізм натягу пасів,
виштовхувач, механізм регулювання ходу
виштовхувача.
Уяву про загальну
будову та роботу вузлів пресу дає його кінематична схема (рис. 1.5). Рух від
електродвигуна 1 через шків 2 та клинопасову передачу передається на маховик 5,
який вільно посаджений на ексцентриковий вал 6. Рух від маховика на
ексцентриковий вал передається через фрикційну однодискову муфту 3. Муфта має
пневматичний привід.

Рис. 1.4 – Загальний вигляд пресу КБ2326

Рис. 1.5 –
Кінематична схема однокривошипного пресу простої дії КБ2326:
1 –
електродвигун; 2 – шків; 3 – муфта вмикання; 4 – гальмо; 5 – маховик; 6 – вал
ексцентриковий; 7 – шатун; 8 – повзун
На протилежному
кінці ексцентрикового валу розміщено стрічкове гальмо, також з пневматичним
керуванням. За допомогою кривошипу ексцентрикового валу 6, з’єднаного зі
збірним шатуном 7 через регулювальну ексцентрикову втулку 9, обертовий рух валу
перетворюється у зворотно-поступальний рух повзуна 8.
Станина (рис. 1.6)
пресу відкрита двостійкова з нахилом С-подібної форми. В січенні має коробчату
форму, виконана з чавуну та призначена для сприймання зусиль, що виникають при
штампуванні. В двохстійкових станинах опори колінчастого чи ексцентрикового
валу розміщені з двох сторін, в одностійкових – з однієї сторони.
У верхній частині
станини 1 розточені отвори, в яких у двох підшипниках ковзання монтується
ексцентриковий вал. На правій консолі кривошипного валу кріпиться маховик з
пневматичною фрикційною муфтою, а на лівій – гальмо. В спеціальних місцях
станини за допомогою болтів 2 кріпляться направляючі повзуна 3 та 4.
Регулювання зазору між повзуном та направляючими виконується гвинтами 5,
розміщеними на лівій стороні станини. Для регулювання зазору необхідно
послабити болти 2, потім за допомогою гвинтів 5 виконати регулювання зазорів,
після чого затягнути болти 2.
На внутрішніх
стінках стійок станини кріпляться нерухомі 6 та рухомі 7 рейки, які слугують
для регулювання ходу верхнього виштовхувача.
В нижній частині
станини болтами 8 закріплена підштампова плита 9. Нахил станини здійснюється за
допомогою гвинта 10 та храпового механізму. На напрямок переміщення станини
вказує стрілка, що розмішена на кнопці фіксатора. При положенні стрілки
"вверх" чи "вниз", станина буде мати такий же напрямок
переміщення. Перед нахилом станини необхідно послабити гайки 12, винести з
гнізд упорні шайби та після цього виконати нахил станини гвинтом 10. Станина на
опорних стійках може фіксуватись в чотирьох положеннях: 0-10-20-30°. Після
нахилу станини необхідно її зафіксувати вводом в гнізда опорних шайб та
затягуванням гайок 12.


Рис. 1.6 -
Станина пресу КБ2326
Хід роботи
1.
Ознайомитись з основними вузлами
однокривошипних універсальних пресів.
2.
Замалювати кінематичну схему та дати опис
роботи пресу згідно схеми.
3.
Замалювати схему станини пресу. Описати
призначення її елементів.
4.
Опрацювати паспорт пресу КБ2326 та
креслення основних деталей і вузлів.
Контрольні питання
1.
Яка загальна ознака механічних пресів?
2.
Назвати основні вузли механічного пресу.
3.
Що таке ГВМ механічного пресу?
4.
Для чого слугують допоміжні механізми
механічного пресу?
5.
Що таке ГП механічного пресу?
6.
Перелічити основні вузли однокривошипного
пресу простої дії моделі КБ2326.
7.
Зобразити кінематичну схему
однокривошипного пресу простої дії моделі КБ2326.
8.
Яким чином виконується нахил станини
однокривошипного пресу простої дії моделі КБ2326?
9.
Чим і як виконується регулювання зазору між
повзуном та направляючими станини однокривошипного пресу простої дії моделі
КБ2326?
Тема: листоштампувальні
кривошипні преси подвійної та потрійної дії
Мета
роботи: вивчити будову та особливості роботи листоштампувальних
пресів подвійної дії
Теоретичні відомості
2.1.
Призначення та види листоштампувальних
пресів для витяжки та глибокого формування
Певна специфіка
процесів витяжки та формування листового матеріалу полягає в необхідності
отримання достатньо великого робочого ходу повзуна, створення зусилля
притискання заготовки, забезпечення виштовхування виробу. Це обумовлює
створення спеціалізованих листоштампувальних пресів для витягування. До таких
пресів відносять трьохкривошипні преси, преси подвійної та потрійної дії, преси
для глибокого витягування.
Трьохкривошипні
преси призначені для неглибокого витягування деталей типу ковпачків в масовому
виробництві. В цих пресах є два повзуни, один переміщується в середині іншого.
Зовнішній повзун зазвичай здійснює вирубку заготовки, внутрішній – витяжку.
Кожний повзун приводиться в рух від кривошипу. При цьому на зовнішньому
повзуні, який має точки підвіски на двох бічних кривошипах, закріплюють
вирубний інструмент, внутрішній повзун, який приводиться в рух центральним
кривошипом, містить інструмент для витяжки. Трьохкривошипні преси мають
невеликі зусилля (150...1600 кН) та останнім часом рідко проектуються,
внаслідок невисоких технологічних можливостей.
Більш складними є
конструкції пресів подвійної дії, які також мають зовнішній та внутрішній
повзуни. Зовнішній повзун виконує вирубку заготовки та надійне притискання її
країв під час виконання робочого ходу витяжки. Цей повзун, відповідно, має мати
деякий вистій у нижньому положенні, який зазвичай відповідає куту повороту
кривошипу внутрішнього повзуна 70...120°, т. т. приблизно половині ходу
внутрішнього повзуна. Переміщення зовнішнього повзуна задається спеціальним
механізмом, який розрахований на створення заданого номінального зусилля та
визначає потрібну тривалість і точність вистою.
В пресах потрійної
дії крім верхніх зовнішнього та внутрішнього повзунів присутній нижній повзун
для виконання зустрічної витяжки.
2.2.
Параметри витяжних листоштампувальних
пресів подвійної дії
Преси подвійної
дії, як і преси загального призначення, випускають різних конструкційних
модифікацій. Технічна характеристика пресів подвійної дії передбачає додаткові
параметри для зовнішнього повзуна: номінальне зусилля, довжину ходу, найбільшу
відстань між столом та повзуном, величину регулювання штампової висоти та розміри
робочої площини.
Загалом технічні
параметри пресів подвійної дії можуть суттєво відрізнятись від аналогічних
параметрів універсальних пресів. Зокрема довжина ходу внутрішнього повзуна цих
пресів в 2 рази більше, ніж в звичайних пресах. Швидкість його ходу обмежують з
метою уникнення динамічних напружень в листовому матеріалі під час витяжки.
Максимальна швидкість витяжного повзуна не повинна перевищувати
0,40...0,45 м/с. Тому число ходів пресів подвійної дії є меншим
90...5 хв‑1.
Довжина ходу зовнішнього
повзуна зазвичай складає 0,5...0,75 від довжини ходу внутрішнього повзуна. При
його крайньому нижньому положенні задається допустиме зусилля на внутрішньому
повзуні. Зазвичай це зусилля складає 40 % від номінального.
Більшість вузлів
пресів подвійної дії, крім виконавчих механізмів повзунів, мало відрізняються
від аналогічних вузлів універсальних пресів. Проте станина як правило має
більшу висоту та габарити. В траверсі монтують привід пресу, який може бути
відкритим, закритим чи комбінованим. Габарити траверси та загалом верхньої
частини пресу є збільшеними внаслідок розміщення двох та іноді трьох ступіней
зубчастих передач. Крім того остання ступінь зубчастої передачі в
листоштампувальних пресах подвійної дії виконується двохсторонньою.
В більшості
випадків використовують комбінований привід, коли лише швидкохідні зубчасті
передачі розміщують консольно з їх герметизацією в окремій масляній ванні, що
кріпиться до траверси.
Оскільки хід
основного повзуна пресів подвійної дії є великим, то в їх конструкції
використовують громіздкі кривошипні вали з великою довжиною шатуна. Тому в
сучасних конструкціях проектують кривошип, закріплений на зубчастих колесах
тихохідної передачі без кривошипного валу. При цьому коефіцієнт довжини шатуна
складає 0,2...0,3, при закритому розміщенні приводу та кривошипного механізму
його величина приймається до 0,45.
2.3.
Привід зовнішнього повзуна преса подвійної
дії
В сучасних пресах
привід зовнішнього повзуна (рис. 1.10) має забезпечувати ряд вимог:
1)
виконувати його переміщення та вистій в
нижньому положенні;
2)
сприймати всі навантаження, яки виникають
під час притискання заготовки та її витяжки;
3)
при необхідності виконувати вирубку
заготовки;
4)
забезпечувати вистій повзуна у верхньому
положенні для роботи механізмів подачі та видалення виробів за умов
автоматизації процесу штампування.
Кулачковий привід
(рис. 2.1, а) є найбільш
простим, проте такий привід присутній лише в пресах з малими зусиллями. Цей
привід доцільно використовувати у відкритих пресах подвійної дії.

Рис. 2.1 –
Схеми механізмів приводу зовнішнього повзуна.
В однокривошипних
закритих пресах застосовують вісьмиланковий кривошипно-важільний механізм з
повзунком (рис. 2.1, б або в). Оскільки повзун зазвичай підвішують
на чотирьох точках, два таких механізми встановлюють на передній та задній або
на бокових сторонах станини пресу. Механізм на рис. 2.1, б може бути виконаний з кулачками для
приводу повзунка в заміну приводу його від кривошипу.
Вісьмиланкові
кривошипно-важільні механізми на рис. 2.1, г, д застосовують в двох-
та чотирьохкривошипних пресах. Іноді для збільшення кута вистою застосовують
десятиланкові механізми аналогічного типу.
Всі описані
механізми не забезпечують ідеальної нерухомості притискного повзуна під час
вистою. Теоретично повзун коливається, здійснюючи два-три відходи від крайнього
нижнього положення на величину 0,03...0,05 мм. В дійсності повзун
залишається нерухомим, а змінюється пружна деформація ланок механізму, що
викликає коливання зусилля притискання заготовки.
2.4.
Циклограма руху повзунів листоштампувального
пресу подвійної дії
На рис. 2.2
показана кінематична схема витяжного пресу подвійної дії моделі К5535.
Внутрішній повзун цього пресу приводиться за допомогою звичайного аксіального
кривошипно-повзуного механізму.

Рис. 2.2 –
Кінематична схема вісьмиланкового механізму витяжного пресу.
Зовнішній повзун з
притискним кільцем, який приводиться в дію за допомогою площинного
вісьмиланкового кривошипного колінно-важільного механізму, здійснює
зворотно-поступальний рух в тому ж напрямку, що і головний повзун.
Розподілювачем руху
та одночасно ведучою ланкою механізму притискання є кінцевий кривошип ОК головного валу. Через шатун KL він приводить в рух повзунок LMM, рух якого передається тягам MN, які качають двоплечі важелі NO1C. Завдяки цьому важелі
коліна O1CD розпрямлюються
та ламаються, надаючи зворотно-поступального руху зовнішньому повзуну.
Взаємне переміщення
повзунів проказує циклограма їх руху (рис. 2.3). Графік руху внутрішнього
повзуна (крива 1) являє собою
синусоїдальну криву. Використовувати прямий його хід можна лише коли зовнішній
повзун опуститься вниз та притисне заготовку.
Потрібний рух зовнішнього повзуна (крива 2) забезпечується основними розмірами
ланок механізму та початковим положенням кінцевого кривошипу ОК по відношенню до головного кривошипу.
Це положення в даному випадку відповідає 150°. Завдяки цьому при повороті
головного кривошипу на кут 95° повзун зупиняється у крайньому нижньому
положенні. Внутрішній повзун з цього моменту може починати витяжку.

Рис. 2.3 –
Циклограма руху повзунів витяжного листоштампувального пресу подвійної дії.
Вистоювання
зовнішнього повзуна триває до тих пір, поки внутрішній повзун не підніметься
вверх до кута повороту ведучого кривошипу α=345°. Запізнення відходу
зовнішнього повзуна після витяжки необхідне для зняття деталі з верхнього
штампу. Зворотній хід повзуни здійснюють з різними швидкостями – зовнішній
рухається швидше. Зсув фази, при якому зовнішній повзун приходить в крайнє
верхнє положення, називають випередженням. Зазвичай воно складає 25...50°.
Хід роботи.
1.
Ознайомитись з будовою та особливістю
роботи витяжних пресів.
2.
Розглянути роботу багатоланкового
кривошипного механізму листоштампувального пресу подвійної дії
3.
Побудувати циклограму руху повзунів
листоштампувального пресу К5530.
Контрольні
питання
1.
Які преси відносять до листоштампувальних
пресів для витягування?
2.
Для чого призначені трьохкривошипні
листоштампувальних преси?
3.
Чим задається переміщення зовнішнього
повзуна листоштампувального пресу подвійної дії?
4.
В чому особливість листоштампувальних
пресів потрійної дії?
5.
З якою метою обмежують швидкість руху
витяжного повзуна листоштампувальних пресів подвійної дії?
6.
Скільки складає довжина ходу зовнішнього
повзуна листоштампувального пресу подвійної дії?
7.
Чим відрізняється конструкція станини та
верхньої траверси листоштампувальних пресів подвійної дії від універсальних
пресів?
8.
Чому в сучасних пресах подвійної дії
використовують головний виконавчий механізм без кривошипного валу?
9.
Що називають глибинним нагрівом при
індукційному способі нагріву заготовок?
Тема: конструкція
горизонтально-кувальних машин
Мета роботи:
вивчити будову та
особливості роботи горизонтально-кувальних машин
Теоретичні відомості
3.1.
Коротка характеристика
горизонтально-кувальних машин
Горизонтально-кувальна
машина (ГКМ), призначена для гарячого безоблойного штампування заготовок з
прутка в роз'ємних матрицях. За характером дії на заготовку ГКМ відносять до
пресів. На ГКМ проводять висадку, а також прошивку, відрізку, гнуття, витискування.
В порівнянні з іншим ковальсько-пресовим обладнанням ГКМ є високопродуктивними
машини, які забезпечують високу точність виробів. Робоче зусилля в ГКМ створює
кривошипний механізм, рух робочих органів відбувається в горизонтальній
площині. Допоміжні операції (подачу заготовки, затиск її і т. п.) здійснює
важільно-кулачковий механізм. Існують ГКМ із зусиллям на головному повзуні від
0,5 до 31,5 МН (від 50 до 3150 тс), що дозволяють висаджувати прутки діаметром
до 270 мм. Зусилля на бічному затискному повзуні ГКМ зазвичай складає
0,3...0,5 від зусилля на головному повзуні.
Широке
розповсюдження ГКМ в різних галузях промисловості обумовлене такими їх
перевагами:
1)
високою продуктивністю при виготовленні
відносно невеликих партій поковок;
2)
економічною витратою металу в порівнянні з
штампуванням на молотах;
3)
високою точністю отримуваних поковок, що у
поєднанні з малими припусками і уклонами забезпечує незначні відходи при
подальшій обробці на металоріжучих верстатах;
4)
широкими технологічними можливостями, за
чим ГКМ близькі до автоматів для гарячого об'ємного штампування;
5)
можливістю проведення автоматизації
штампування при виготовленні великих партій однотипних деталей.
Всі ГКМ, що
випускаються вітчизняною і зарубіжною промисловістю, можна підрозділити на дві
основні групи: з вертикальною і горизонтальною площиною роз'єму матриць. Машини
з горизонтальною площиною роз'єму матриць мають кращий доступ до штампового
простору та більш зручні в обслуговуванні. В цих машинах навпаки зусилля
затискного повзуна в 1,3 рази більше сили висадочного повзуна. В останні часи
ГКМ з горизонтальним роз'ємом матриць замінили гарячештампувальні автомати. ГКМ
з вертикальним роз’ємом матриць залишаються в експлуатації. Процес штампування
на них, як правило є також автоматизованим.
3.2.
Кінематична схема та робота ГКМ з
вертикальним роз’ємом матриць
Розмикання та
змикання матриць ГКМ, що затискають заготовку та утворюють в зімкненому стані
робочу порожнину штампу, здійснюється автоматично спеціальним затискним
механізмом складної конструкції. Затискні механізми ГКМ являють собою
багатоланкові, просторові кінематичні з’єднання, які розміщують з лівої сторони
станини. Для приводу головного повзуна ГКМ застосовують звичайний
кривошипно-повзунний механізм у горизонтальному виконанні.
В машинах з
вертикальним роз’ємом матриць застосовують три основні кінематичні схеми механізмів
затиску (рис. 3.1): кривошипно-важільні двохклинові, кривошипні
важільно-колінні та кулачкові повзунно-колінні.

Рис. 3.1 – Кінематичні схеми ГКМ з вертикальним роз’ємом
матриць:
а –
кривошипно-важільна двохклинова; б –
кривошипна важільно-колінна; в –
кулачкова повзунно-колінна.
З механічної та
експлуатаційної сторони найбільш досконалою є системи затиску матриць з
кулачковим повзунно-колінним механізмом або, його ще називають, механізм з
ексцентриковим приводом. Цей механізм, на відміну від двох попередніх,
забезпечує нерухомість всіх ведених ланок механізму з моменту повного закриття
матриць ГКМ до початку їх розкриття.
Роботу механізму
забезпечують два кулачки прямого 2 та
зворотного 3 ходу (рис. 3.1, в).
Кулачки посаджені на головний вал машини. Через ролики прямого 4 та зворотного 1 ходу кулачки надають зворотно-поступального руху бічному повзуну 5. Він з’єднаний через шатун 6 з коліном 8. При ході повзуна вперед відбувається розпрямлення коліна з
переміщенням затискного повзуна 7 до
нерухомого блоку матриць ГКМ. При ході бічного повзуна 5 назад коліно ламається та затискний повзун розкриває матриці.
Профілюванням робочої поверхні кулачків задають потрібний закон руху затискного
повзуна (рис. Д4 додатку).
Для монтажу головного та допоміжного виконавчих
механізмів ГКМ з вертикальним роз’ємом матриць використовують відкриті з верху
коробчаті станини зі стінками, що підсилені ребрами жорсткості (рис. Д3
додатку). Зверху станини стягнуті міцними повздовжніми болтами, для підвищення
жорсткості машини. Привід ГКМ переважно виконують відкритого типу в задній
частині станини.
3.3.
ГКМ з горизонтальним роз’ємом матриць
Заготовка в ГКМ з
горизонтальним роз’ємом матриць переміщується з рівчака в рівчак в
горизонтальній площині. Це спрощує обслуговування машини та розширює можливості
автоматизації процесу штампування.
Головний виконавчий
механізм цих машин – кривошипно-повзунний з висадочним повзуном, який
пересувається в горизонтальній площині. Затискний повзун здійснює коливальний
чи зворотно-поступальний рух у вертикальній площині.
В кінематичній
схемі затискного механізму першого типу верхня траверса 2 (рис. 3.2), яка
призначена для кліщового затиску заготовки, являє собою важіль ІІ роду,
шарнірно закріплений на станині. Коливання траверси здійснюється за допомогою
колінно-важільного механізму 1 з приводом від третьої точки головного шатуна 3.
Сила розпору в період робочого ходу сприймається масивною стяжкою
колінно-важільної пари. В процесі затиску при висадці на машинах цього типу має
місце коливальна рухливість матриць та ненадійність затиску заготовки.

Рис.
3.2 – Кінематичні схеми ГКМ з горизонтальним роз’ємом матриць:
Кінематичний ланцюг
затискного механізму машин другого типу подібний ланцюгу кулачкового
повзунно-колінного механізму в звичайних машинах, але в машинах з
горизонтальним роз’ємом матриць він розміщений на головному механізмі. Кулачки
прямого та зворотного ходу посаджені на окремому самостійному розподільчому
валі. Цей вал отримує рух від головного приводу через зубчасту пару,
передаточне відношення якої дорівнює и=1.
Рух кулачків через ролики передається верхньому повзуну, а від нього коліну.
При розпрямленні коліна затискний повзун рухається вниз та змикає матриці. Якщо
коліно ламається, то затискний повзун піднімається вверх та розкриває матриці.
Хід роботи
1.
Ознайомитись з будовою та особливістю
роботи горизонтально-кувальних машин.
2.
Замалювати та вивчити кінематичну схему ГКМ
(рис. 3.3).
3.
Описати роботу запобіжного пристрою (рис. 3.4)
від перевантаження ГКМ з вертикальним роз’ємом матриць.
4.
Підготувати звіт по роботі.

Рис. 3.3 –
Кінематична схема ГКМ з вертикальним роз’ємом та
ексцентриковим
приводом бічного повзуна:
1 – нерухомий блок
матриць, 2 – рухомий блок матриць, 3 – затискний повзун, 4 – колінно-важільний
механізм, 5 – пружинно-важільний запобіжник, 6 – бічний повзун, 7 – подвійний
кулачок, 8 – пневматичне стрічкове гальмо, 9 – клинопасова передача, 10 – електродвигун, 11 – фрикційна
пневматична муфта вмикання ходу ГКМ, 12 – шатун,
13 – зубчаста
передача, 14 – головний висадочний повзун

Рис. 3.4 –
Структурна схема пружинно-важільного запобіжного пристрою допоміжного
виконавчого механізму ГКМ з вертикальним роз’ємом матриць.
Коли пруток вставлений та правильно
затиснутий, вся ліва частина механізму за точкою D в період зупинки затискного повзуна вільна від навантажень. При
затисканні прутка між матрицями ця точка не може дійти до свого крайнього
положення – точки E, та зупиняється
десь раніше (на відстані а). Проте
бічний повзун продовжує рухатись та його переміщення повинно передаватись всій
важільній системі. Тоді при нерухомій точці D
та рухомому бічному повзуні почнеться поворот важелів ABC та KJL біля центрів B та J.
При цьому нижнє плече важеля KJL буде
відходити від стінки бічного повзуна та стискати циліндричну багаторядну
пружину, яка має попередню затяжку. Сила затяжки повинна відповідати силі
затиску прутка.
Контрольні
питання
1.
Для чого призначені та що виконують на
горизонтально-кувальних машинах?
2.
Які основні переваги ГКМ?
3.
Які існують основні групи ГКМ, і яка між
ними відмінність?
4.
Які основні кінематичні схеми механізмів
затискання використовують в сучасних ГКМ з вертикальним роз’ємом матриць?
5.
Зобразити кінематичну схему ГКМ з
кулачковим повзунно-колінним механізмом затиску матриць та пояснити її роботу.
6.
Зобразити кінематичну схему ГКМ з
горизонтальною площиною роз’єму матриць та пояснити її роботу.
7.
Пояснити призначення запобіжного пристрою
ГКМ.
Тема: основні вузли та деталі
гідравлічних пресів
Мета роботи: вивчити конструкцію та призначення станин, колон та робочих циліндрів
гідравлічних пресів
Теоретичні відомості
4.1.
Типи станин гідравлічних пресів
За своїми
конструктивним ознаками станини гідропресів поділяють на: горизонтальні,
вертикальні та комбіновані
Горизонтальні
станини бувають одностійкові, колонні та спеціальні.
Вертикальні
станини найбільш розповсюджені. Вони бувають одно-, двохстійкові, набірні з
одно- та двохстійкових секцій, колонні, набірні з двох- та чотирьохколонних
секцій, спеціальні.
Найбільшого
розповсюдження отримали колонні та двохстійкові конструкції станини
гідропресів. Вони бувають відкритого та закритого типів. Колонні станини можуть
бути двох-, трьох-, чотирьох колонні та багатоколонні.
Станина –
основний силовий елемент гідропресу. Вона сприймає повне навантаження, що
виникає при його роботі. Якщо прес має n
колон чи стійок та навантажений центрально, то зусилля, що діє на одну колону
буде становити
, або 
де p – тиск рідини в робочих циліндрах; z – число робочих циліндрів; D – діаметр
поршня (плунжера) робочого циліндра.
4.2.
Типи станин гідравлічних пресів
Одностійкові
станини відкритого типу виготовляють литтям чи зварюванням. Конструктивно ці
станини можуть бути виконані у вигляді однієї суцільної деталі та з'єднаної
конструкції (рис. 4.1), які збирають з двох чи більше деталей та стягують
болтами (колонами). Матеріалом станини як правило є вуглецева конструкційна
сталь 35, 45.
З'єднана станина
складається з верхньої 2 та нижньої 4 поперечин та стійки 3. Стійки стягнуті чотирма стяжним
болтами 1.

Рис.
4.1 – Одностійкові станини відкритих гідропресів
З'єднані
одностійкові станини застосовують в пресах номінальним зусиллям до 5 МН.
Особливу увагу звертають на зусилля затягування болтів. В деяких випадках воно
перевищує номінальне навантаження на 20 %. Поперечне січення стяжних
болтів вибирають таким, щоб напруження від початкового затягування складало не
більше 60 % від межі пружності. Початкова затяжка повинна забезпечити
нерозкриття стиків станини при прикладанні зусилля, що рівне номінальному.
Верхню поперечину
одностійкової станини використовують для установки насосного приводу та
поворотних кранових пристосувань (додаток),
призначених для завантаження габаритних заготовок та маніпулювання з ними під
час операцій деформування. В деяких конструкціях одностійкових станин
встановлюють направляючі для рухомої поперечини (повзуна) пресу.
4.3.
Типи станин гідравлічних пресів
Станина колонних
гідропресів складається з поперечин та колон.
Верхня та нижня
поперечини – це базові деталі пресу. Їх виготовляють зі сталі литими чи
зварними. Верхня поперечина (рис. 4.2) зазвичай являє собою коробчасту
конструкцію та складається з двох плит 1
та 2, які з'єднані між собою системою
ребер 3. Ребра поперечини утворюють
також гнізда 5, 4 для розміщення робочих циліндрів та проходу колон. Ребра надають
верхній поперечині потрібну жорсткість в поєднанні з легкістю та міцністю.

Рис.
4.2 – Верхня поперечина гідравлічного колонного пресу
Аналогічну
конструкцію мають також нижні та рухомі поперечини гідропресів (рис. 4.3). В цих деталях найбільша кількість
ребер сконцентрована в центральній частині, де виникає найбільше навантаження.
Нижня поверхня рухомої поперечини та верхня нижньої поперечини мають пази для
кріплення інструменту.

Рис.
4.3 – Рухома поперечина гідравлічного колонного пресу
Висоту направляючих
гнізд рухомої поперечини рекомендують приймати рівною (2,5...3,5)d, де d – діаметр колони. Для направлення її руху в гнізда поперечини
вставляють розрізні втулки з товщиною стінок 20...25 мм, виготовлені з
чавуну СЧ12, СЧ15. Висота кожної втулки приблизно рівна діаметру колони.
Поперечини
невеликих та середніх пресів виготовляють суцільними. Для великих пресів їх
виконують зварними, складеними з двох, трьох та більше частин, які з'єднані
електрошлаковим зварюванням.
4.4.
Колони гідропресів
Колони гідравлічних
пресів з'єднують нижню та верхню поперечини, а також слугують направляючими для
рухомої поперечини. Поверхні колон, по яким ковзає рухома поперечина, ретельно
шліфують.
Колони в нижній та
верхній поперечинах кріплять гайками. Кінці колон для пресів малого зусилля (до
4000 кН) мають метричну різьбу, для потужних пресів виконують упорну різьбу.
Для колон великого діаметра (понад 150 мм) крок різьби розраховують за
залежністю
,
де t – крок
різьби, мм; d – зовнішній діаметр колони, мм.
Для менших значень d крок
різьби приймають близько 5 мм.
Конструкція
з'єднання колон з поперечинами має забезпечувати відсутність зміщення деталей
та зручністю виготовлення та монтажу. Існує два основних типи з'єднань колон та
поперечин гідропресів (рис. 4.4): з допомогою конічних буртів та з
використанням гайок.
Перший тип
забезпечує відсутність зміщень, але важкий у виконанні. З'єднання з
використанням гайок є більш простим у виконанні та монтажу


Рис. 4.4 – Конструкція кріплення колон:
а – посадка на
бурти; б – посадка на гайки
Колони гідропресів
виготовляють кованими з конструкційних сталей 35 чи 45. Вздовж колон діаметром
400 мм та вище просвердлюють наскрізні отвори. Через ці отвори підводять
нагрівачі з метою термічного затягування гайок, а також отвори слугують для
підводу комунікацій та, іноді, в якості трубопроводів для подачі робочої
рідини.
Гайки колон також
виготовляють з кованих сталевих заготовок. Їх виконують суцільними чи
подвійними. Розміри гайок: висота h=(1...2)d, зовнішній діаметр D=1,5d.
4.5.
Циліндри та
плунжери гідропресів
Циліндри гідропресів.
Циліндри – це
найбільш навантажені елементи гідравлічних пресів. Вони являють собою
(рис. 4.5) циліндричну оболонку з днищами пласкої чи куполоподібної
(сферичної) форми. В нижній частині на внутрішній поверхні циліндру розточений
паз, в який вставлені ущільнення, а також притискне кільце та направляюча
втулка.

Рис.
4.5 – Робочі циліндри гідропресів та їх кріплення
до
верхньої поперечини: а – гайкою; б – болтами
На зовнішньої
поверхні циліндру виконані посадочні пояски для встановлення його у верхній
поперечині. Циліндр кріплять до верхньої поперечини через спеціальне кільце чи
гайку (рис. 4.5, б) або болтами за допомогою фланців (рис. 4.5, а).
При цьому гайку закручують з верхньої сторони
траверси. Більш доцільним кріпленням циліндру є кріплення болтами.
Внутрішній діаметр
робочого циліндру на 10...15 мм більший діаметра плунжера. Для
забезпечення потрібного напрямку руху плунжера в робочий циліндр запресовують
бронзові втулки висотою 0,75D.
Шорсткість поверхні плунжера становить Rz=0,04 мкм.
Товщину сферичної форми днища циліндру приймають рівною 1,5 товщини його
стінки, а плоского днища – 2 товщини стінки. Переходи від стінок до днища
виконують плавними з радіусами 0,25D
для куполоподібного та 0,12D для
плоского дна.
Матеріалом для виготовлення
робочих циліндрів слугує високоякісна кована вуглецева (30А, 35А) чи
низьколегована (35НА) сталь. На протязі всієї технології виготовлення ретельно
слідкують за уникненням появи рисок на всіх поверхнях гідроциліндрів.
Плунжери гідропресів.
Плунжер зазвичай
переміщується всередині циліндра в направляючій бронзовій втулці. Як правило
плунжер працює на стиснення, але у випадку ексцентричного навантаження він
зазнає також згину. Цією обставиною і визначається конструкція плунжера
(рис. 4.6), в якій самою складною ланкою є його з'єднання з рухомою
поперечиною.

Рис.
4.6– Кріплення плунжерів робочих циліндрів до рухомої поперечини: а, б –
жорстке; в, г – шарнірне
Жорстке з'єднання
плунжера з рухомою поперечиною (рис. 4.6, а, б) є доцільним в пресах з
одним плунжером. При наявності декількох плунжерів жорсткий тип кріплення
вимагав би високої точності виготовлення всіх деталей. Найменша неточність
викликає перекоси при збиранні, що приводить до передчасного спрацювання
ущільнень. Тому в багатоциліндрових пресах не рекомендують використання
жорсткого кріплення плунжера до рухомої траверси.
Шарнірне з'єднання
(рис. 4.6, в, г) є зручним при монтажі та дозволяє підвищити термін служби
ущільнень циліндру. Його часто використовують в пресах для кування. Проте в
шарнірному підп'ятнику виникає значний момент тертя при перекосах поперечини,
що викликає також нерівномірне спрацювання ущільнень. Це усувають за рахунок
направляючих втулок в рухомій поперечині, які ковзають по колонах пресу. В
трьохциліндрових пресах середній плунжер, як правило, має жорстке з'єднання, а
бокові –шарнірне.
В якості матеріалу
для плунжерів використовують низьколеговану сталь, в деяких випадках чавун,
який гарно працює на стиск. Поверхня плунжеру має бути гладкою та твердою. Від
чистоти обробки залежить стійкість ущільнень, шорсткість поверхні плунжеру має
відповідати восьмому класу (Ra 0,32...0,63 мкм).
Хід роботи
1.
Ознайомитись з конструкцією станин, колон
та робочих циліндрів гідравлічних пресів.
2.
Вивчити особливості з'єднання колон,
циліндрів та плунжерів з поперечинами пресів.
3.
Підготувати звіт по роботі.
Контрольні
питання
1.
Які поділяють станини гідропресів за
конструктивними ознаками?
2.
Що таке станина гідравлічного пресу?
3.
Як визначається зусилля, що діє на одну
колону гідропресу?
4.
Описати конструкцію одностійкової станини
гідропресу.
5.
Описати конструкцію станини колонного
гідропресу.
6.
Чим відрізняються верхня та нижня
поперечини колонного гідропресу?
7.
Для чого слугують колони гідравлічних
пресів?
8.
Які є типи з'єднання колон гідропресів з
поперечинами?
9.
Що являють собою робочі циліндри
гідропресів?
10.
Як кріплять робочі циліндри до верхньої
поперечини гідропресу?
Тема: вивчення режимів
роботи та повітрярозподілення привідних пневматичних молотів
Мета роботи: ознайомитись з конструкцією, режимами роботи та системою
повітрярозподілення пневматичного молоту МА4129А.
Теоретичні відомості
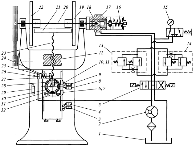
6.1.
Конструкція пневматичного молоту МА4129А
Привідні
пневматичні молоти знайшли широке використання для виконання операцій кування, іноді
штампування. Енергоносієм в цих молотах є стиснене повітря. Ударні маси
рухаються під дією стиснутого повітря, яке, подібно до пружного елементу,
стискається і розширюється в замкнутих об'ємах нижніх і верхніх порожнин
компресорного і робочого циліндрів.

Рис. 1. Конструкція
та схема пневматичного молоту МА4129А
1 – поршень
компресорного циліндру, 2 – компресорний циліндр, 3 – станина, 4 – шатун. 5 –
зубчаста передача, 6 – пасова передача, 7 – електродвигун, 8 – кривошипний вал,
9 – шабот, 10 – баба, 11 – робочий циліндр,
12 – повітророзподільчий пристрій.
hп – висота поршня, Hm – максимальний хід поршня баби, hб – висота буферу
Основні вузли пневматичного
молота МА4129А (рис. 1) наступні: станина 3, відлита заодно з
робочим 11 і компресорним 2 циліндрами; порожниста баба 10,
яка одночасно служить поршнем і штоком робочого циліндру; шабот 9; повітророзподільні
пристрої 12 і привід. Останній складається з електродвигуна 7,
пасовою 6 і зубчатою 5 передач, кривошипного валу 8,
шатуна 4 і поршня 1 компресорного циліндру.
Вітчизняна
промисловість випускає двохциліндрові молоти моделей М4127, М4129, МА4129А,
М4130, М4134, МА4134А, М4136, МА4136, МБ4136, М4138, М4138А, К05.538.01, М4139,
М4140, М4140А, М4140Б, К05.540 та ін. Переважно це молоти двосторонньої дії з
двома горизонтальними робочими та одним холостим кранами з енергією удару
0,8...28 кДж та масою падаючих частин 50...1000 кг, кратністю мас m1/m2=12.
2. Зв’язок циклової діаграми з
графіками ходу пневматичного молота
Принцип дії, взаємне розташування поршнів, а також тиск
повітря в компресорному і робочому циліндрах можуть бути встановлені з
сумісного розгляду кругової циклограми (рис. 2, а), графіків
ходу s та швидкості v (рис. 2,
б, д), а також індикаторних діаграм (рис. 2, в, г). Їх будують на
основі розрахунку або за результатами випробувань пневматичних молотів.
В початковому положенні поршень компресорного циліндру
перебуває в КВП, а робочого – в КНП, кривошипний вал перебуває КВП (точка А на циклограмі, рис. 2, а).
При обертанні валу кривошипу за годинниковою стрілкою
поршень КЦ опускається. Його порожнини відключаються від атмосферного тиску та
відбувається стиснення повітря в нижніх порожнинах КЦ та РЦ (НПКЦ, НПРЦ).
Поршень РЦ залишається нерухомим до тих пір (точка Б, рис. 2, а) поки сила
тиску в НПРЦ не перевищить силу тяжіння баби молота.
При куті повороту кривошипу α1, сила тиску в НПРЦ стає рівна сили тяжіння баби
і вона починає підніматись. Тиск повітря в НПКЦ та НПРЦ продовжує зростати, а у
верхніх порожнинах (ВПКЦ, ВПРЦ) - зменшуватись. При α2=π (точка В, рис. 2, а) поршень компресорного цилідру перебуває в КНП та надалі починає
рухатись в гору. Верхні порожнини циліндрів при α2=π зєднуються з атмосферою та тиск повітря в
них різко підвищується до атмосферного (див. рис. 2, г). Поршень РЦ під дією тиску повітря та накопиченої кінетичної енергії продовжує підніматись
вгору, хоча тиск повітря при α>α2 в нижніх порожнинах
циліндрів починає зменшуватись, а у верхніх – зростати.
При куті повороту α3
(точка Г на рис. 2, а) поршень робочого циліндру перекриває
канал, що з’єднує верхні порожнини циліндрів. З цього моменту тиск повітря у
ВПРЦ починає різко зростати, оскільки її об’єм досить малий, а в НПРЦ
створюється вакуум. Це супроводжується гальмування руху поршня. В результаті
поршень РЦ після миттєвої зупинки в КВП (точка Д, рис. 2, а) починає
опускатися. Через деякий час відкривається зворотній клапан (точка Е), верхні порожнини з’єднуються між
собою, та тиск повітря в них вирівнюється. Тиск в нижніх порожнинах обох
циліндрів зростає, хоча поршень КЦ продовжує рухатись в гору. При куті повороту
кривошипного валу α5
(точка Ж на циклограмі) відбувається
удар бійника по заготовці.

Рис.2. Кругова циклограма (а), графіки ходу та швидкості (б,
д) та індикаторні діаграми (в, г)
роботи молоту
(КЦ, РЦ – компресорний та робочий циліндри; ВПКЦ, НПКЦ,
ВПРЦ, НПРЦ – верхні та нижні порожнини компресорного та робочого циліндрів)
Швидкість баби в момент удару визначають по відповідному
графіку (рис. 2, д), який
будують графічним диференціюванням діаграми переміщення баби по функції часу, а
ефективну енергію удару – за формулою mv2/2.
3. Система повітрярозподілення молота МА4129А
Роботою молотів керують за допомогою трьох кранів:
верхнього, нижнього та середнього (рис. 3). Верхнім та нижнім краном, виконують
безпосередньо керування роботою молоту, вони обертаються за допомогою педалі чи
рукоятки. Середній повітряний кран вмикає та вимикає керування.
У верхньому положенні поршня компресорного циліндру обидві
його порожнини з’єднані з атмосферою через отвори в поршні та штоці та канали в
циліндрі (рис. 4, а). З’єднання верхньої та нижньої порожнин компресорного
циліндру з атмосферою в крайньому нижньому положенні поршня показано на
рис. 4, б.

Рис.3. Положення рукояток та кранів молоту
Щоб запобігти удару поршня по
верхній кришці, в конструкції передбачено утворення повітряного буфера при русі
поршня вгору. Буферним пристроєм (рис. 5) є замкнений повітряний об'єм А,
який утворюється після перекриття ним каналу 1, що зв'язує верхні порожнини робочого і компресорного циліндрів.
У цьому пристрої передбачений клапан 2 для з'єднання верхніх порожнин
обох циліндрів при русі робочого поршня вниз для відкриття каналу 1. Наявність зворотного клапана
забезпечує вищу швидкість падаючих частин при ударі.

Рис.4. З’єднання порожнин компресорного
циліндру з атмосферою (а) та між собою в крайньому нижньому положенні (б)

Рис.5. Схема буферного пристрою
Між верхнім і нижнім кранами в станині молота розташована
камера зі зворотним клапаном
4 Режим роботи пароповітряного молота МА4129А
Молоти вітчизняного виробництва можуть працювати в чотирьох
режимах роботи:
1) автоматичні і послідовні удари;
2) утримання баби в повітрі;
3) притиск поковки;
4) холостий хід.
Розглянемо положення рукояток та кранів молоту МА4129А
(табл. 1) при виконанні цих режимів.
Таблиця 1 – Положення рукоятки керування, що відповідає
режиму роботи

Для вивчення роботи повітрярозподілення будують розгортку
січень кранів молоту (рис. 6).

Рис.6. Схема
кранового повітрярозподілення
молотів (розгортка
січень кранів)
Автоматичні і
послідовні удари. Крани з’єднують верхні і нижні порожнини робочого і
компресорного циліндрів попарно між собою (рис. 8).
Для цього в січеннях I – нижнього і II – верхнього кранів
відповідні канали 1 і 2, 10
і 8 повинні бути відкритими. Молот
буде здійснювати n ударів за хвилину,
число яких відповідатиме числу обертів валу компресора. Енергія ударів може
регулюватися за рахунок повороту верхнього і нижнього кранів і дроселюванням
повітря, яке проходить через канали 8
і 10, 1 і 2. Обидва крани
кінематично зв’язані між собою і управляються однією рукояткою.
Утримання баби на
льоту. Для здійснення цього режиму крани повертаються на 40° за
годинниковою стрілкою. Зверху робочого поршня повинен бути атмосферний тиск, а
знизу тиск, який необхідний для утримання рухомих частин у повітрі.
Цей тиск повинен бути збережений незалежно від положення
поршня компресорного циліндра.
Повітря, яке направляється із нижньої порожнини
компресорного циліндру, надходить каналом 10
січення I нижнього крана і відкритим каналом 11 у камеру через зворотний клапан 12, а із камери каналами 6
і 7 січення III – в нижню порожнину
робочого циліндру. При русі поршня компресорного циліндра вгору зворотний
клапан закривається. Верхні порожнини обох циліндрів з’єднані з атмосферою
відкритим клапаном 3 верхнього крана.
Таким чином, при повороті рукоятки управління (в положенні 1) верхніми і нижніми кранами на 40° за часовою стрілкою,
здійснюється перекриття каналу 8 і
відкриття каналу 11 нижнього крана та
відкриття каналу 3 верхнього крана.
Притиск поковки. Цей режим
здійснюється тиском повітря, яке поступає із нижньої порожнини компресорного
циліндра через канали 10, 11 і 5
у верхню порожнину робочого циліндра. Під поршнем робочого циліндра через відкритий
канал 9 встановлюється атмосферний
тиск. Канали 8, 2 і 6 закриті. Канал 3 відкритий, він забезпечує з’єднання
верхньої порожнини компресорного циліндра з атмосферою.
Холостий хід
компресора. Щоб не перегрівати компресор при довготривалих паузах, він
переводиться на холосту роботу. Це здійснюється поворотом середнього крана і
з’єднанням обох порожнин компресорного циліндра з атмосферою через відкритий
канал 4.
Хід роботи
1.
Ознайомитись з загальною конструкцією та
принципом дії привідного пневматичного молоту МА4129А. Замалювати його схему.
Вивчити основні його конструктивні елементи та вузли.
2.
Пояснити зв’язок циклової діаграми з
графіками ходу пневматичного молота. Замалювати
відповідні графіки ходу баби та її швидкості (рис. 2).
3.
Ознайомитись з конструкцією системи
повітрярозподілення пневматичного молота МА4129А.
4.
Замалювати схему (рис. 6) та описати
роботу системи повітрярозподілення молоту
МА4129А при різних режимах роботи.
Контрольні питання
1.
Що таке молот як один з видів КШМ?
2.
Що відносять до основних частин молота?
3.
Зобразити схему одностійкового молоту.
4.
Що відносять до головних параметрів молоту?
5.
Які ви знаєте моделі молотів?
6.
Що називають механічним ударом?
7.
Чим відрізняється ударна та квазіударна
взаємодія мас?
8.
Що таке еталонна швидкість ударної взаємодії?
9.
За якими основними ознаками класифікують
молоти?
10.
Як поділяють молоти за технологічним
призначенням?
11.
Як поділяють молоти за конструктивним
виконанням?
Тема: вивчення конструкцій
фундаментів молотів.
Мета роботи: ознайомитись
з типовими конструкціями фундаментів молотів та методикою їх розрахунку.
Теоретичні відомості
6.1.
Класифікація і призначення фундаментів
Фундаменти виконують у вигляді масивних залізобетонних
блоків, які можуть опиратися безпосередньо на грунт або на опори (пружні
амортизатори, пневмо- чи гідроопори). Фундаменти слугують основами, на яких
встановлюються молоти. За призначенням їх поділяють на опорні і шаботні
(рис. 1).

Рис.1. Класифікація
фундаментів молотів
Опорні фундаменти
сприймають статичні і невеликі динамічні навантаження, шаботні – ударні і динамічні навантаження. Шаботний фундамент
сприймає також частину ефективної енергії, яка передається на нього при ударі.
Шаботні фундаменти поділяють на жорсткі і віброізольовані.
Жорсткий фундамент, під час навантажувального етапу удару,
викликає пружну деформацію ґрунту. Під час подальшого розвантажувального етапу
потенційна енергія пружної деформації переходить у кінетичну, викликаючи
коливання фундаменту. Пружні хвилі розповсюджуються у ґрунті, створюючи його
нерівномірне ущільнення, вібрації будівельних споруд і обладнання.
Для зниження вібрацій застосовують віброізольовані
фундаменти, в яких ізолюють масивний залізобетонний блок або безпосередньо
шабот. Система віброізоляції може бути опорною, коли блок або шабот вмонтовані
на віброізольовані опори, або підвісною – коли блок або шабот підвішені на
віброізольованих елементах.
6.2.
Конструкція фундаментів
Опорні фундаменти
застосовують в основному для безшаботних молотів. Вони являють собою
залізобетонну масу у формі прямокутного паралелепіпеда з колодязями для
анкерних болтів. Анкерними болтами кріплять стійки станини молота. На опорний
фундамент повністю опирається весь молот.
Шаботні жорсткі
фундаменти. Для кувальських одностійкових і двохстійкових молотів
застосовують жорсткі шаботні суцільні фундаменти під стійки станини і шабот.
Під шабот і фундаментні плити. на які встановлюють стійки станини, підкладають
пікладки зі струганих брусів сухої деревини твердих порід (дуба, бука) або
плити з транспортерної тканинної прогумованої стрічки. Щоб
запобігти зміщенню шаботу в горизонтальному напрямку його заклинюють брусами із
деревини твердих порід (рис. 2).
Фундамент являє собою суцільний залізобетонний блок із
заглибинами під шабот. Амортизаційна дерев’яна подушка складається з трьох
рядів брусків: два (верхній і нижній) повздовжньому, а середній у поперечному
напрямках укладки.

Рис.2. Жорсткий шаботний фундамент для
привідного пневматичного молота
1 – кладка з дерев’яних брусів; 2 – шабот.
Загальна товщина амортизаційної подушки від 0,4…0,6 м для
легких молотів та до 1,5…1,8 м – для важких молотів з масою робочих частин
16000…25000 кг.
Порівняно малий (3…5 років) строк служби дерев’яних
амортизаційних подушок примушує їх заміняти на плити з прогумованої тканини
товщиною 10…80 мм. Допустимий тиск на прогумовану тканину у 3 рази більше, ніж
на дубову подушку.
Шаботні
віброізольовані фундаменти.
Опорні і підвісні віброізольовані фундаменти призначені для
зниження ударної дії на ґрунт і демпфування пружних
хвиль.
У віброізольованих фундаментах з ізольованим інерційним
блоком застосовуються амортизатори і віброгасники 2, які встановлюються в
опорному варіанті під залізобетонним інерційним блоком фундаменту 3, який
опирається через амортизатори і віброгасники 2 на залізобетонний короб 1 (рис.
3), а в підвісному варіанті - на кінцях підвісних штанг (рис. 4). Як
амортизатори застосовують жорсткі кільцеві тарільчасті пружини, а також гуму.

Рис.3. Віброізольований опорний шаботний фундамент
1 – Короб залізобетонний; 2 – амортизатори і віброгасники;
3 – фундаментний інерційний блок; 4 – шабот.

Рис.4. Підвісний шаботний віброізольований
фундамент
Шабот 1 опирається на дві балки 2 двотаврового січення, які
підвішені на штангах 3 з гайками 4 і замками 5 на кінцях (рис. 4). Ресори
кінцями вставлені у пази опорних плит 6, які приварені до підкладок 7 і залиті
в тумбах фундаменту. Шабот молота закріплений на балках 2 за допомогою шпонок.
Ресори розміщені під настилом підлоги і доступні для обслуговування.
6.3.
Основи теорії розрахунку фундаментів
Жорсткий фундамент.
До удару швидкість шабота
. Під час навантажувального етапу удару шабот зміщується під
дією ударного імпульсу баби (рис. 5) в сторону її руху й отримує
швидкість:
,
(6,1)
де
– найбільша швидкість
розгону баби (масою
) при одиночному ударі;
м/с;
– маса молота;
– коефіцієнт
відновлення швидкості, який для кувальних молотів приймається 0,25; для
штампувальних 0,5.

Рис. 5. Розрахункова схема жорсткого
фундаменту
Внаслідок пружньої деформації
підшаботної підкладки вплив удару передається фундаментному блоку, який в свою
чергу зміщується вниз і пружно деформує ґрунт основи. Під час наступного етапу
під дією пружної відновлюючої сили ґрунту, фундаментний блок і шабот
відбиваються вверх, після чого відбувається коливальний рух фундаментного
блоку, який передається на основу у вигляді вібрації.
Приймемо маси шабота
і фундаментного блока
абсолютно жорсткими,
жорсткість ґрунту
постійною, тертя незначним
(рис. 5).
У
початковий момент
.
Рівняння руху маси фундаментного блоку:
, (6.2)
де
– жорсткість ґрунту;
– амплітуда коливань;
– прискорення
фундаменту.
З урахуванням початкових умов отримаємо:
, (6.3)
де
– частота вільних
коливань фундаментного блоку. Найбільша амплітуда фундаментного блоку при
(13.4)
Жорсткість ґрунту:
, (6.5)
де
– площа основи
фундаментного блоку;
– коефіцієнт
відновлення швидкості;
– коефіцієнт пружного
рівномірного стиснення ґрунту, який разом з допустимим напруженням стиснення
ґрунту
характеризує механічні
властивості ґрунту.
Існує три категорії ґрунтів:
– слабкий:
МН/м3,
кПа;
– середній:
МН/м3;
кПа;
– міцний:
МН/м3;
кПа, а також кам’яні
породи.
Підставляючи значення
із (6.1)
із (6.5) в (6.4)
отримаємо
, (6.6)
Приймаючи для наближених розрахунків
отримаємо із рівняння
(6.6) необхідну площу основи фундаменту при обмеженні амплітуди коливань
допустимою величиною ![]()
. (6.7)
Масу фундаментного блоку знайдемо із рівняння (6.6)
, (6.8)
Висота фундаментного блоку
, (6.9)
де
– щільність
фундаменту.
Допустиму амплітуду вібрації можна знайти із міцності ґрунту
,
(6.10)
де
– коефіцієнт запасу
міцності ґрунту;
– коефіцієнт
динамічного навантаження на ґрунт.
Виходячи із санітарно-технічних норм, амплітуду обмежують
величиною на 1…2 мм меншою порівнюючи з розрахунковою згідно рівняння
(6.10).
Хід роботи
1.
Ознайомитись з загальною конструкцією
фундаментів молотів.
2.
Вивчити методику розрахунку жорсткого
фундаменту.
3.
Визначити площу, масу та висоту фундаменту
для пароповітряного молота М2140.
Контрольні питання
1.
Що таке фундамент молоту?
2.
Які бувають фундаменти молотів за
призначенням?
3.
Чим відрізняються опорний та шаботний
фундамент молота?
4.
Чим відрізняються жорсткий та
віброізолюючий шаботні фундаменти молота?
5.
Які використовують амортизаційні подушки
для жорстких фундаментів молотів?
6.
Які бувають види віброізольованих
фундаментів молотів?
7.
Пояснити рівняння руху фундаментного блоку
при ударі молоту?
8.
Яким рівнянням визначають масу жорсткого
фундаментного блоку молота?
Тема: вивчення конструкції
та схеми керування гвинтового дводискового пресу.
Мета роботи: ознайомитись з
типовою конструкцією дводискового гвинтового фрикційного пресу та схемою його
керування.
Теоретичні відомості.
7.1.
Типова конструкція гвинтового дводискового
пресу
Дводискові
фрикційні преси внаслідок простоти конструкції і експлуатації знайшли більш
широке застосування в промисловості в порівнянні з іншими типами гвинтових
пресів. Вони відносяться до пресів типу П2, виконані по схемі М3 і є
вертикальними машинами закритого типу з відкритим верхнім приводом (рис. 7.1).
Лита станина складається з двох частин: основи (столу) з бічними стійками 16 і верхньою траверсою 17. Замкнутість рами станини і її
жорсткість забезпечуються стягуванням двома болтами 12. До траверси
прикріплено два кронштейни 9 під опори приводного валу 7. Ведуча гайка 10 гвинтової пари
встановлена на пресовій посадці і законтрована спеціальними клинами в отворі по
центру траверси. Гайки виготовляють з бронзи БРАЖ9‑4, антифрикційного
чавуну або біметалічними.

Рис. 7.1 – Вертикальний
дводисковий прес
Вузол приводу преса включає індивідуальний електродвигун 2, клинопасову передачу 3 і
привідний вал 7 зі шківом 4 та двома плоскими дисками 5
і 8. Положення дисків
на валу регулюють гайками. Опорами валу слугують роликові підшипники.
Головний виконавчий механізм пресу містить маховик 6, гвинт 1 і повзун 15. Маховик
виготовлений із сталевого виливка. На зовнішній циліндровій поверхні маховика
закріплена стрічка з ферродо або колодок з інших фрикційних матеріалів. Ступиця
маховика сполучена з гвинтом трьома циліндровими шпонками, які одночасно
виконують роль запобіжників від перевантаження.
Заготовки для гвинтів виковують із сталі 40ХН або 40ХНМА з подальшою
термообробкою на твердість НВ=2350...2740 МПа (235...274 НВ). Різьба
на гвинті несамогальмівна з кутом підйому а=13...17 ° і трьома-чотирма
заходами. У нижній частині гвинта встановлено гальмо колодки 14 для
зупинки механізму.
Повзун
пресу – коробчастого типу з литим корпусом. Нижня опора п'яти гвинта плоска і
змінна, верхня виконана у вигляді упорного кулькового підшипника.
Прес
оснащений нижнім виштовхувачем 17
механічного типу: поперечина виштовхувача зв'язана тягою з повзуном, і при його
підйомі здійснюється цикл виштовхування відштампованого виробу.
Змащення пресу здійснюється централізовано від ручної маслостанції 18 та
індивідуально. Гайку шпінделя змащують через спеціальну оливницю в траверсі
преса. П'ята гвинта в повзунові працює з повним зануренням в масляну ванну.
Керування
дводисковими пресами може бути механічним (важелем), електрогідравлічним,
гідромеханічним або пневмомеханічним, допускаючи роботу одиночними і
безперервними послідовними ходами.
7.2.
Система електрогідравлічного керування
гвинтового дводискового пресу
В системі електрогідравлічного керування (рис. 7.2) використовується
гідроциліндр перемикання ходів пресу, який керує положеням привідного валу з
дисками.

Рис. 7.2 – Система
електрогідравлічного керування фрикційного
гвинтового дводискового пресу
До правого кінця приводного валу 20 приєднаний через упорний
кульковий підшипник поршень 18 гідроциліндра 17 перемикання
ходів. Рухом поршня управляє трипозиційний золотник 5. Лопастний насос 2 з індивідуальним електродвигуном подає
рідину високого тиску в ліву або праву порожнини циліндра 17. Поперемінний
рух поршня забезпечує підведення до маховика 21 то лівого 22, то
правого 19 приводних дисків. Тому гвинт 23 то вгвинчується в
гайку 12 – хід
повзуна 32 вниз, то вигвинчується з неї – хід повзуна вгору.
При ввімкненому головному електродвигуні, але ненатиснутих кнопках «Пуск»
поршень 18 циліндра 17 під дією пружини 16 займає середнє
положення, таке ж положення займає і золотник 5. Обидві порожнини циліндра 17 при цьому сполучені із
зливним баком 1. На схемі видно, що в цьому
випадку на злив працює і насос 2,
тому тиску рідини в робочій порожнині гальмівного циліндра 27 немає і
поршень 25 віджатий пружиною 24 в крайнє ліве положення. При цьому
важіль 28 відхилений вліво і
притискує гальмівні колодки 30 до барабана 31,
який закріплений на гвинті 23.
Останній виявляється загальмованим, щоб утримувати повзун нерухомим в крайньому
верхньому положенні, як показано на рисунку.
При натисненні кнопки «Пуск» золотник 5 під дією свого лівого
електромагніту зміщується вправо і сполучає ліву порожнину циліндра 17 з насосом, а праву – із зливним
баком. Під тиском робочої рідини поршень 18, стискуючи пружину 16,
зміщується вправо і притискує лівий диск 22 до маховика 21.
Для початку руху повзуна 32
вниз має бути відключене
гальмо. Це відбувається в результаті одночасного надходження рідини високого
тиску в робочу порожнину циліндра 27, зсуву його поршня 25 вправо і відведення гальмівних колодок 30 від барабана 31.
При деякому недоході повзуна до крайнього нижнього положення кулачна планка
7 натискає на кінцевий вимикач (KB) 4
і вимикає лівий електромагніт золотника 5.
Останній під дією власної пружини повертається в середнє положення, перемикаючи
обидві порожнини циліндра 17 на злив. Звільнена пружина 16 також
повертає поршень 18 в середнє
положення. Привідний вал встановлюється так, що диски не торкаються маховика.
Головний виконавчий механізм продовжує рух за інерцією за рахунок накопиченої
кінетичної енергії. Тиск в робочій порожнині циліндра 27 падає, але
гальмо не вмикається, оскільки при ході повзуна вниз ролик 26 на лівому
штоці поршня 25 набігає на кулачну планку 29, що і утримує
гальмівні колодки відтиснутими.
Далі слідує удар. У цей момент кулачна планка 6 натискає на KB 3,
що включає правий електромагніт золотника 5. Останній зміщується вліво, сполучаючи праву порожнину циліндра 17 з насосом, а ліву – із зливним баком.
В результаті до маховика підводиться правий диск 19 і відбувається
хід вгору. Гальмо при цьому вимкнене, оскільки рідина високого тиску поступає в
робочу порожнину циліндра 27. При підході повзуна до КВП
кулачна планка 10 натискає на KB 8,
відключаючи правий електромагніт золотника 5. В результаті сам золотник і поршень 18 циліндра 17 займають
середнє положення, відводячи диски від маховика. Маховик продовжує обертатися,
а повзун рухається вгору за інерцією. Проте, одночасно при скиданні тиску в
робочій порожнині циліндра 27 пружина
24 включає гальмо: запас кінетичної енергії швидко гаситься і
повзун зупиняється в крайньому верхньому положенні.
Якщо положення кулачної планки 10 належним чином не відрегульовано і
вимкнення приводу запізнюється, то надлишок кінетичної енергії гаситься при
ударі повзуна по гумових амортизаторах 13 (див. рис. 7.2).
Для підтримки тиску в гідросистемі призначені запобіжні клапани 13 і 14 з переливними
золотниками. Як тільки тиск в напірній магістралі лівої порожнини циліндра 17 перевищить встановлене значення,
спрацьовує клапан 13 і надлишок
рідини переливається в зливний бак. Тиск в напірній магістралі правої порожнини
циліндра 17 регулює клапан 14. Правильність регулювання тиску в
напірних магістралях контролюється манометром 15.
Перед самою зупинкою повзуна в крайньому верхньому положенні кулачна планка
11 натискає на KB 9, який
готує схему керування до наступного ходу повзуна.
У аварійних випадках (відключення електроенергії, поломка гідросистеми),
коли зникає тиск рідини, ведучі диски автоматично (під дією пружини 16) відводяться
від маховика, гвинт (дією пружини 24) загальмовується і повзун зупиняється в будь-якому положенні.
Основні параметри і розміри гвинтових фрикційних пресів з Рном=400 кН...100 МН
регламентує ГОСТ 713. Як основний параметр також приймають ефективну енергію Lэ
рухомих частин преса в кінці робочого ходу, рівну 1,25...5000 кДж для
пресів з нормальним числом ходів повзуна в хвилину (п=5...36) і в 1,5...1,6 рази менше – для пресів із
збільшеним числом ходів (п=8...42).
Хід роботи
1.
Вивчити конструкцію вертикального
гвинтового дводискового пресу.
2.
Схематично замалювати систему
електрогідравлічного керування фрикційного гвинтового дводискового
пресу.
3.
Ознайомитись з роботою системи
електрогідравлічного керування фрикційного гвинтового дводискового
пресу.
Контрольні питання
1.
Як отримують станину гвинтового фрикційного
дводискового пресу?
2.
З чого складається головний виконавчий механізм
гвинтового дводискового пресу?
3.
З якого матеріалу виготовляють ходові гайки
головного механізму гвинтових дводискових пресів?
4.
Що включає в себе вузол приводу гвинтового
дводискового пресу?
5.
З чого виготовляють
заготовки для гвинтів головного
механізму гвинтових дводискових пресів?
6.
Що являє собою повзун гвинтового
дводискового пресу?
7.
Опишіть роботу виштовхувача гвинтового
дводискового пресу.
8.
Як виконується керування дводисковими
гвинтовими пресами?
9.
Опишіть роботу системи електрогідравлічного
керування фрикційного гвинтового дводискового пресу.
10.
Опишіть роботу системи електрогідравлічного
керування фрикційного гвинтового дводискового пресу після удару.
Тема: кінематичні схеми та
конструкція ковальських вальців
Мета роботи: ознайомитись з конструкцією ковальських
вальців як одного з класів ротаційних машин для обробки тиском
Теоретичні відомості
8.1.
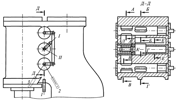
Консольні (відкриті) ковальські вальці
Ковальські вальці відносять до валкових ротаційних
машин.
Консольні
ковальські вальці відносять до найбільш розповсюдженого типу ковальських
вальців. Їх використовують для отримання заготовок під наступне штампування на
гарячештампувальних кривошипних пресах, молотах та гвинтових пресах.
Принцип роботи
ковальських вальців можна зрозуміти зі схеми приведеної на рис. 8.1. У
вальцях виконують профілювання простих стержневих заготовок, що дозволяє
відмовитись від виконання заготівельних переходів штампувальних операцій.

Рис. 8.1 – Принцип
профілювання заготовок на ковальських вальцях
а – подача заготовки
до упору, б – вальцювання, в – видача вальцьованої заготовки
Основним
технологічним інструментом є сектори вальців. Обтиснення заготовки між
секторами може виконуватись в один, два чи три переходи. Консольні вальці
виконують однією чи декількома кліттями. Найбільш універсальними є вальці з
однією кліттю.
Однокліттьові
консольні вальці (рис. 8.2) обладнані однією парою робочих валків.
Редуктор приводу на відміну від комбінованих вальців розміщується між опорними
стійками, що скорочує габаритну довжину та дозволяє монтувати вальці в
ковальсько-штампувальні лінії для попереднього профілювання заготовок з одного
нагріву.
Кут охоплення
робочих ділянок валків-штампів з виконаною гравюрою (рівчаком) може сягати 270°
кільцевого інструменту та не більше 180° секторного інструменту. Від довжини
розгортки робочих ділянок залежить найбільша оброблювана довжина заготовки. На
робочому валку можуть розміщуватись до трьох рівчаків.

Рис. 8.1 –
Кінематична схема консольних ковальських вальців С1335.
1 – маховик; 2 –
клинопасова передача; 3 – електродвигун; 4 – зубчаста передача; 5 –
зубчаста передача на вінці втулок 11; 6, 10 – зубчаста пара для синхронізації
валків; 7 – зубчасте колесо для компенсації бокового зазору; 8, 9 –
конічна передача для безконтактного контролера; І – привідний вал; ІІ – вал
нижнього робочого валка; ІІІ – вал верхнього робочого валка; IV –
проміжний вал
У відповідності до
ГОСТ 16434-80 однокліттєві ковальські вальці виготовляють номінальним
зусиллям 0,125...1,0 МН з діаметром вальцювальних сегментів
160...400 мм, частота обертання валків 45...85 хв-1.
Потужність електроприводу може складати 13...35 кВт. Подібного типу
ковальські вальці виготовляють також і закордонні фірми.
Багатокліттьові
консольні вальці містять дві та більше послідовно розташованих кліттів. На
робочому валку розміщується один рівчак і вальцювання виконується на прохід.
Для автоматичної передачі заготовки від однієї пари валків до іншої кліті
валків зближують та розміщують самі валки перпендикулярно. При цьому заготовка передається
між кліттями безпосередньо валками без інших пристосувань.
8.2.
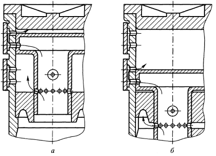
Закриті (двохопорні) ковальські вальці
Закриті ковальські
вальці (рис. 8.3) виготовляють у відповідності з ГОСТ 16435‑80
номінальним зусиллям 0,1...2,5 МН, з діаметром вальцювальних сегментів
(міжосьовою відстанню валів) 160...1000 мм. В конструкціях закритих
вальців робочі валки з інструментом (штамп-сегментом) встановлюють між двома
опорами (додаток А). Завдяки такій конструкції забезпечується більша
жорсткість, що гарантує більшу точність процесу вальцювання. Для відрізування
та правки заготовок в деяких конструкціях закритих ковальських вальців
передбачається вмонтований прес.
Деякі закриті
конструкції ковальських вальців виконують комбінованими з розміщенням валків з
інструментом між опорами та на консолі. Також використовують спеціалізований
інструмент для відтягування лез ножів, вилок, лопаток турбін та ін.
Підшипники валків
ковальських вальців встановлюють в рамках, які можуть переміщатися у
вертикальних пазах станини. У деяких конструкціях консольних і двоопорних
кувальних вальців передбачають рухомий повзун, який використовують як ножиці
для відрізки мірної заготовки після вальцювання або для виконання штампувальних
робіт (відтяжки хвостовиків та ін.).

а

б
Рис. 8.1 –
Відкриті (а) та закриті (б) ковальські вальці
Закриті ковальські
вальці у випадку серійного та масового виробництва оснащують автоматизованими
системами з ЧПК та роботизованими маніпуляторами. Автоматизовані закриті
вальцювальні машини іноді виконують з кліттями для поперечно-клинового
вальцювання. Ці машини використовують для вальцювання деталей типу ступінчастих
валів з циліндричними, конічними та сферичними ділянками.
До недоліків
закритих ковальських вальців слід віднести деяку складність заміни інструменту (штампів-сегментів),
тому їх використання виправдане лише для процесів точного вальцювання в
багатосерійному та масовому виробництвах.
Хід роботи
1.
Ознайомитись конструкцією консольних та
закритих ковальських вальців.
2.
Вивчити конструктивну схему консольних
вальців, як одного з найбільш поширених типів вальцювальних машин.
3.
Налаштувати модель ковальських вальців для
профілювання свинцевої заготовки виданої викладачем.
4.
Провести профілювання заготовки в
ковальських вальцях.
Контрольні питання
1.
До якого типу ротаційних машин відносять
ковальські вальці?
2.
Пояснити принцип роботи ковальських
вальців.
3.
Назвати особливості використання
ковальських вальців.
4.
Що таке клітть ковальських вальців?
5.
Чим відрізняються закриті ковальські вальці
від відкритих?
6.
Які переваги та недоліки закритих
ковальських вальців?