16 ВИСОКОШВИДКІСНІ МОЛОТИ
Останнім
часом в системах пластичного формування матеріалів знаходять використання
технологічні процеси обробки, що пов’язані з всебічним стисненням та
інтенсивним направленим течінням металу. Це наприклад
об’ємне штампування деталей з ребрами, шліцями, зворотнє видавлювання та ін.
В цих
випадках пластична деформація супроводжується контактним ковзанням металу
відносно поверхні інструменту при високому нормальному тиску. Енергія
пластичних зсувів перетворюється в енергію граничного тертя та, відповідно,
процеси деформування металу можна розглядати як рух з внутрішнім тертям.
В цих умовах
деформування актуальним є використання високих швидкостей деформування. Тоді
механічна енергія граничного тертя, перетворюючись в теплову, акумулюється в
металі, підвищуючи його температуру. Обладнанням для таких процесів обробки
тиском є високошвидкісні молоти з великою початковою швидкістю удару рухомих
частин до 20 м/с.
Якщо
початкова швидкість v0 збільшена настільки, що тривалість tнав навантажувального етапу
удару складає тисячні чи менше частки секунди, то потужність всіх процесів
різко зростає та накопичена теплота не встигає розсіюватись. Поцес деформування по суті стає ізольованим від середовища,
та метал розігрівається настільки, що стає помітним перевага процесів знеміцнення.
Дія приводу
високошвидкісних молотів заснована на принципі термомеханічної системи типу
циліндр – поршень. Для того, щоб поршень з рухомими частинами досягнули високої
кінцевої швидкості на малому шляху, необхідно створити велику активну силу, яка
б надала прискореного руху на протязі всього робочого ходу.
В
термомеханічних системах високошвидкісних молотів в якості енергоносія
застосовують стиснений газ високого тиску, вибухові речовини або горючі суміші.
Розрізняють високошвидкісні газові молоти,
в яких використовують газ високого тиску, та високошвидкісні вибухові молоти, енергоносієм в яких є вибухові
речовини та горючі суміші.
На сьогодні
розроблено багато конструктивних схем високошвидкісних газових молотів. За
принципом дії їх можна розділити на однокамерні та двокамерні. В якості робочого
газу переважно використовується азот. Тиск азоту може досягати 15 МПа.
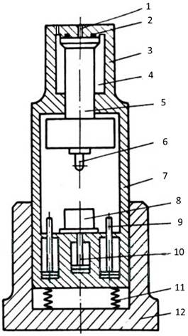
В
однокамерних молотах (рис. 16.1) зі швидкістю рухомих частин 20 м/с
робочий циліндр 3 з’єднаний через
отвір 1 з балонами, які наповнені
стисненим азотом, або з акумуляторною газовою станцією.

Рис. 16.1 Схема та
конструктивний вигляд високошвидкісного однокамерного газового молоту
1 – отвори для газу, 2 –
ущільнення, 3 – робочий циліндр, 4 – камера для газу, 5 – шток-поршень, 6 –
пуансон, 7 – рама молота, 8 – матриця, 9 – гідроциліндри, 10 – виштовхувач, 11 – амортизатори, 12 – станина.
Повзун 6 молоту піднімають з нижнього у верхнє
положення гідравлічними циліндрами 9.
При цьому шток-поршень 5 витісняє
азот з порожнини циліндру в балони. У КВП верхня площина поршня контактує з
кільцевим ущільненням 2.
Як тільки верхня порожнина поршня увійде до контакту з торцевим ущільненням
2 закріпленим на верхній кришці
циліндру 3, з простору між верхньою
порожниною поршня 5 і кришкою через
отвір 1 випускається залишок
стиснутого газу. Після цього
штоки циліндрів зворотнього ходу можуть бути опущені
в нижнє початкове положення. При цьому баба утримується у верхньому положенні за рахунок різниці зусиль,
що діють знизу і зверху на верхню головку поршня 5,
оскільки на ту її частину, яка розташована всередині ущільнення 2, тиск не діє.
Для здійснення робочого ходу через отвір 1 впускають невеклику кількість азоту,
завдяки чому поршень відштовхується від ущільнення. Надалі азот, розширюючись в
робочому циліндрі 4, чинить тиск на
площу штоку. Газ реактивно діє на дно циліндру та зєднана
з ним рама 7, що встановлена на
амортизаторах 11, переміщується вверх
по направляючим 12 назустріч повзуну 6 до удару. Для видалення поковки зі
штампу слугують виштовхувачі 10.
В
двохкамерних молотах крім робочої камери високого тиску з азотом по ходу штока
виконана камера низького тиску. В перемичці між камерами циліндру виконана
спеціальна емкість для акумуляції газу
(р=14 МПа). Акумуляційна камера відділена від робочої розподільчим
пристроєм – золотником, який приводиться в рух від системи керування.
В вибухових
молотах застосовують енергоносії двох видів: гарматні вибухові речовини та
горючі суміші.
Гарматні
вибухові речовини виготовляють на основі нітроцелюлози та зазвичай називають
порохами. Швидкість горіння пороху є порівняно невисока, що дає можливість
керувати точністю гарматного поштовху рухомих частин молоту.
При згорянні пороху утворюються
газові суміші, що складаються з СО, CО2, Н2О та N2, з об’ємом від 940 до 1060 см2 на 1 гр. твердої речовини. Оскільки камера термомеханічної системи, де відбувається
спалювання пороху, замкнена різке збільшення питомого об'єму енергоносія
приводить до створення високого тиску. Процес розпаду твердого пороху на гази супроводжується
значним їх нагріввом,
внаслідок екзотермічного характеру реакції.
При використанні пороху вибухові
молоти як правило виготовляють зі стволів артилерійських гармат, які слугують в
якості робочих циліндрів. На казно ствола кріпиться вибухова камера, в яку
закладають патрон чи заряд. Перевагою таких молотів є компактність конструкції,
але їх використання обмежується необхідністю отримання спеціального державного
дозволу на використання пороху, а також чутливістю останнього до вологи. Широке
розповсюдження природного газу дає молотам, що працюють на горючих сумішах
більших переваг.
В якості енергоносія в вибухових
молотах використовують також висококалорійні палива: бензини, горючі гази.
Згоряння сумішей цих палив з повітрям відбувається з досить великою швидкістю,
яка є достатньою для миттєвого підвищення тиску у вибуховій камері.
На рисунку 16.2 представлена
послідовність роботи вибухового молоту з використанням горючих сумішей. Молот
має традиційну вертикальну конструкцію.

Рис. 16.2 Послідовність
роботи високошвидкісного вибухового молоту
Розширення продуктів згоряння в
циліндрі термомеханічної системи викликає гарматний характер руху рухомих
частин молоту. Максимальний тиск в циліндрі молоту може сягати
20...35 МПа. Його визначають:
![]()
де
– ступінь підвищення тиску при згорянні суміші в постійному
об’ємі (
=6,5...7,5 для природного газу, 8...9 для суміші пропану з
бутаном),
– початковий тиск газоповітряної суміші.
Високошвидкісні вибухові молоти
часто мають горизонтальну конструкцію.
Імпульсні вибухові машини
працюють на горючих сумішах.
На рис. 16.3, а
показана схема імпульсної машини для обробки вибухом. Машина виконана в
горизонтальному варіанті без станини. Машина має раму, яка за допомогою катків 2 встановлена на балочну основу 1.

Рис. 16.3 Схема
імпульсної вибухової машини
Рама складена з масивної лівої
поперечини 3 та правої головки, які
стягнуті колонами 4. На правій
поперечині 6 закріплений циліндр 7 з глушником 8 та вибуховою камерою 10.
Шток 9 циліндру кріпиться до траверси
5, утворюючи разом з нею рухомі
частини машини.
Для приводу машини в робочий
стан спочатку у вибухову камеру через електроклапан 5 (рис. 16.2, б) подається горючій газ. Коли тиск газу
відповідатиме заданому спрацьовує реле тиску 4 і клапан закривається. Відразу відкривається аналогічний клапан 6 для впуску стисненого повітря. Коли
тиск суміші підвищиться до необхідного, клапан 6 закривається від реле тиску 7.
Машина готова до пуску. Горюча суміш підпалюється від свічі 2. Впускні магістралі під час вибуху
блоковані зворотніми клапанами 3.
Після вибуху суміші рухомі
частини розганяються до швидкості 20...80 м/с. Швидкість руху регулюють
шляхом зміни початкового тиску газу та повітря. Вибуховий імпульс, діючи на
кришку камери циліндру, викликає відкат рами
назустріч рухомим частинам. Відбувається двосторонній удар по заготовці,
відповідно енергія руху гаситься в системі машини.
Тиск в камері скидується автоматично через вихлопні вікна в лівому
крайній частині циліндру. У початкове положення рухомі частини повертаються
плунжерами бічних гідроциліндрів. Виріб зі штампу видаляється гідровиштовхувачем.