15 ГІДРАВЛІЧНІ ТА ГАЗОГІДРАВЛІЧНІ МОЛОТИ
Гідравлічні
молоти за принципом дії та призначенням аналогічні пароповітряним, але для
індивідуального приводу в них використовуються робоча рідина та газ. В якості
рідин використовують мінеральні оливи, синтетичні рідини, водні емульсії (тиск
рідини 12...18 МПа), в якості газу – технічний азот.
Розрізняють
два варіанти конструкції гідравлічного приводу: гідравлічний насосний чи
насосно-акумуляторний для руху вниз та вгору і газогідравлічний,
в якому стиснений газ застосовують для розгону робочих мас вниз та рідину для
зворотного ходу.
Перші
промислові конструкції гідравлічних штампувальних молотів були розроблені в
Німеччині та Великобританії 1960 рр. Зараз на основі гідравлічних та газогідравлічних молотів розробляють автоматизовані та роботизовані технологічні комплекси для виготовлення
штампованих заготовок підвищеної точності слюсарно-монтажного та медичного
інструменту.

Рис. 15.1. Класифікація гідравлічних і газогідравлічних молотів
Гідравлічні молоти класифікують (рис. 15.1):
1) за типом енергоносія - газогідравлічні і гідравлічні;
2) за кратністю
використання енергоносія - простої і подвійної дії;
3) за типом приводу - з
насосним і насосно-акумуляторним приводом;
4) за характером механічної
дії на поковку - молоти (ударної дії) і прес-молоти (натискної дії).
В газогідравлічних
молотах енергія стиснутого газу використовується для розгону робочих мас вниз
(за напрямком до поковки), а енергія стисненої рідини – для повернення мас
вгору. В гідравлічних молотах для розгону і повернення робочих мас
використовується рідина.
Останнім
часом використовують гідравлічні та газогідравлічні
молоти подвійної дії.
В газогідравлічних молотах подвійної дії (рис. 15.2) для
розгону маси робочих частин вниз до швидкості v=5...6 м/с застосовують стиснений азот чи повітря та силу
тяжіння ударної маси mg,
а для зворотного переміщення робочої маси – робочу рідину. Отже, принцип
перетворення енергії можна записати так:
,
де β – коефіцієнт розширення газу,
,
р01, р1 –
початковий та поточний тиск газу в ресивері; S1 – верхня площа поршня; sр – переміщення при розгоні; η – гідромеханічний ККД процесу розгону, η=0,9; ηд – ККД
ударного деформування, ηд=0,7.

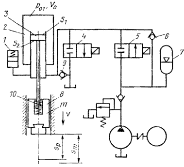
Рис. 15.2 Схема газогідравлічного молоту
1 – компенсатор, 2 –
ресивер, 3 – поршень, 4 –зливний клапан, 5 – напірний клапан, 6, 9 – зворотній
клапан, 7 – акумулятор, 8 – ударна маса, 9 – зливний клапан, 10 – амортизатор.
Баба молота з’єднана з поршнем тонким штоком через
амортизатор. Це підвищує довговічність штоку в порівнянні з пароповітряними
молотами.
В гідравлічних
молотах подвійної дії (рис. 15.3) тиск робочої рідини р1, що діє на площу поршня S1
та сила тяжіння mg
розганяють робочу масу, яка на переміщенні sр набуває ефективної кінетичної
енергії Те:
,
де S1 – кільцева площа поршня (зворотного циліндру); р2 – тиск рідини під поршнем.

Рис. 15.3 Схема
гідравлічного молоту
1 – кришка циліндру, 2 – робоча
порожнина циліндру, 3 – поршень, 4 –робочий циліндр, 5 – шток, 6 – зворотна
порожнина циліндру, 7 – зворотній клапан, 8 – дросель, 9 – зливний клапан, 10,
11, 16 – золотники, 12 – ударна маса, 13 – амортизатор штоку, 14 – направляючі,
15 – шабот, 17 – насосна станція, 18 – газогідравлічний
акумулятор, 19 – напорний клапан, 20 – компенсатор,
ВК1, ВК2 – безконтактні вимикачі, р1,
р2, р3 – тиск в робочій, зворотній порожнинах циліндру та
акумуляторі.
В
гідроприводах гідравлічних молотів застосовують робочі рідини з в’язкістю при
робочій температурі 10...50 сСт. Застосування
гідроприводу дає можливість підвищити ефективний ККД молоту, використовувати
гідравлічні виштовхувачі, програмне керування та
точне дозування енергії. Це дозволяє підвищити якість штампованих поковок,
підвищити продуктивність та покращити умови праці.