11 ТИПОВІ КОНСТРУКЦІЇ ВУЗЛІВ ГІДРОПРИВОДУ ГІДРАВЛІЧНИХ ПРЕСІВ
В приводах
гідравлічних пресів використовують насоси високого та середнього тисків. Насоси
високого тиску нагнітають рідину до тисків понад 10 МПа, до них відносять
кривошипно-плунжерні, ротаційно- та ексцентриково-плунжерні насоси. Насоси
середнього тиску створюють тиск в системі менше 10 МПа, це – лопастні, шестеренні, гвинтові та відцентрові насоси.
Кривошипно-плунжерні насоси.
Ці насоси використовують в індивідуальному та груповому приводах
гідропресів. Вони працюють з будь-якими рідинами: з водою, оливами, емульсіями.
Рис. 11.1. Схема одноплунжерного
кривошипного насосу. 1 – кривошипний вал; 2 – шатун; 3 – повзун; 4 – плунжер; 5 –
ущільнення;
6 – напірний клапан; 7 – бак; 8 – напірна магістраль; 9 – насосний клапан
В сучасних гідроприводах пресів найчастіше застосовують трьохплунжерні
насоси. Дійсну подачу насосу в м3/с визначають
,
де f –
активна площа плунжера, м2; S – довжина ходу плунжера, м; z – число плунжерів; n – кількість обертів кривошипного валу насоса, хв-1;
ηо – об’ємний ККД
(0,92...0,94).
При конструюванні насосів важливим є вибір довжини ходу S та середньої
швидкості плунжера v. Рекомендують приймати: S=(1,2...3,0)d ; v=Sn/30<3 м/с. Кількість обертів кривошипного валу n обмежують 95...180 хв-1.
При більших значеннях з'являється стук клапанів та швидко спрацьовуються
ущільнення.
Потужність на колінчастому валу насосу в кВт визначають
,
де р – тиск рідини, що створює
насос, МПа; ηм – механічний ККД (0,80...0,85).
Звичайна подача кривошипно-плунжерних насосів становить 1000 л/хв.
Ротаційно-плунжерні насоси.
Ці насоси бувають з радіальним та аксіальним розміщенням плунжерів.
В радіально-плунжерному ротаційному
насосі (рис. 11.2) навколо нерухомої розподільчої осі 3 обертається ротор 1.
Радіально розміщені плунжери 2 ротору
здійснюють зворотно-поступальний рух. Плунжери опираються на ролики 5, які котяться по кільцям рухомого
блоку 6. Блок можна переміщувати в
направляючих 7, регулюючи величину та
напрямок подачі насосу. Розподільча система має клапани 4 для всмоктування та подачі оливи.

Рис. 3.2. Принципова (а) та конструктивна
(б) схеми радіально-плунжерного ротаційного насосу. 1 – ротор; 2
– плунжери; 3 – нерухома вісь; 4 – клапани; 5 – ролики; 6 – рухомий
блок; 7 – направляючі блоку
За схемою рис. 11.2, а через верхню половину розподільчої осі
здійснюється всмоктування оливи, а через нижню – нагнітання. Переміщуючи
рухомий блок, можна змінювати подачу оливи та її напрямок.
Об'єм, що витісняється плунжерами за один оберт ротора в м3/об
,
де d –
діаметр плунжера, м; h – хід поршня, м; z – число поршнів.
Зі схеми видно, що хід поршня h=2e. Тоді
теоретична подача насосу в м3/с буде становити
,
де е – ексцентриситет, м.
Дійсна подача насосу визначиться
,
ηо –
об’ємний ККД (0,80...0,95).
Потужність на валу ротора насосу, кВт
,
де р – тиск рідини, МПа; ηм – механічний ККД (0,94...0,96).
Радіально-плунжерні насоси виготовляють зазвичай для тисків до 25 МПа,
з числом обертів ротору до 1000 об/хв та подачею до 1000 л/хв. Для
збільшення подачі робочі циліндри насосу встановлюють в декілька рядів. Зміну
подачі насосу здійснюють зміною положення блоку насоса відносно ротора.
Найбільш простим механізмом для цього є гвинтова та черв'ячна пара (рис. 11.2,
б).
В сучасних конструкціях використовують також радіально-плунжерні ротаційні
насоси з автоматичним регулюванням подачі за тиском в робочій магістралі (рис. 11.3).

Рис. 11.3. Схема радіально-плунжерного ротаційного насосу з автоматичним регулюванням
подачі. 1 – рухомий
блок; 2 – пружина; 3 – гвинт пружини; 4 –
направляючі; 5 – упор регульований; 6 – поршень; 7 –
напірна магістраль
Аксіально-плунжерні ротаційні насоси. Плунжерний
чи поршневий ротаційний насос аксіального типу складається з нерухомого розподілюючого диску 1
(рис. 11.4), обертального блоку циліндрів 2,
поршнів 3, штоків поршнів 4, похилого диску чи шайби 6, що шарнірно з'єднана зі штоками 4.
В розподілюючому диску 1 зроблені дугові вікна 7,
через які олива засмоктується та нагнітається поршнями 3. Обертання блоку циліндрів 2 та шайби 6 здійснюється за допомогою
валу 5.

Рис. 11.4. Схема аксіально-плунжерного ротаційного
насосу.
1 – розподілюючий диск; 2 – блок циліндрів; 3 – поршень; 4 – шток
поршня; 5 – вал; 6 – похила шайба; 7 –
вікно диску
За один оберт блоку циліндрів насос подає об'єм оливи
,
де d –
діаметр поршня, h – хід
поршня (h=Dsinγ), z – число
поршнів.
Середня теоретична подача насосу буде становити
.
Дійсна подача насосу
,
ηо –
об’ємний ККД (0,9).
Потужність на валу ротора насосу, кВт, визначиться аналогічно:
.
Насоси аксіального типу бувають постійної та змінної подачі, вони мають
більш високий ККД, ніж радіально-плунжерні насоси. Аксіальні насоси
виготовляють для тисків до 42 МПа з подачею до 800 л/хв. Кількість
циліндрів зазвичай 7 чи 10. Максимальний кут нахилу між осями циліндрів та
дисків не більше 20º.
Ексцентриково-плунжерні насоси.
В гідроприводах гідропресів все частіше починають використовувати ексцентриково-плунжерні
насоси для створення тисків 30...40 МПа. Часто, вони працюють в комбінації
з насосами низького тиску.
Робота
насосу зрозуміла з принципової схеми (рис. 11.5). Ексцентрик 3 через підшипник кочення діє на плунжер
2. Піднімаючись плунжер витісняє рідину через клапан 5. Опускання плунжеру відбувається під дією пружини 6, що приводить до всмоктування рідини
через клапан 1. Ексцентриковий вал та
поршні розміщені в корпусі 4
(рис. 11.5, б).

Рис. 11.5. Принципова (а) та
конструктивна (б) схеми ексцентриково-плунжерного насосу. 1 – клапан всмоктування; 2 – плунжери; 3 –
ексцентрик; 4 – корпус; 5 – клапан нагнітання; 6 – пружина
Дійсна подача ексцентриково-плунжерного насосу буде визначатись:
,
ηо –
об’ємний ККД (до 0,9 при тисках 30 МПа); d – діаметр поршня; е
– ексцентриситет, n – число обертів ексцентрикового валу; z – кількість плунжерів.
Ексцентриково-плунжерні насоси з подачею рідини до 1000 л/хв можна використовувати в приводах
великих гідравлічних пресів.
Насоси середнього тиску для
гідроприводу гідропресів.
Найчастіше серед насосів даного класу використовують лопастні
та шестеренні.
Лопастні насоси
застосовують для тисків до 8 МПа. Їх об'ємний ККД становить 0,84...0,93.
Ці насоси бувають простої та подвійної дії. В насосі подвійної дії (рис. 11.6)
при обертанні ротору 1 лопасті 2
притискаються до фасонної поверхні статора 6.
рідина всмоктується через вікна 3, 5 та нагнітається через вікна 4 та 7.
Таким чином в насосах подвійної дії кожна лопасть
нагнітає рідину за один оберт ротору двічі.

Рис. 11.6. Схема лопастного
насосу.
1 – ротор; 2
– лопасті; 3, 5
– вікна всмоктування; 4, 7 – вікна
нагнітання
Подачу рідини лопастного насосу можна визначити
,
де
– велика та мала півосі
статора; b – ширина
лопасті, n – число обертів ротору.
Крутний момент на валу ротора
.
Шестеренні насоси найбільш прості та компактні зі всіх насосів без
регулювання подачі рідини. Вони забезпечують подачу до 150 л/хв при тиску
до 6,5 МПа.
При обертанні шестерні (рис. 11.7) рідина заповнює простір між зубцями
шестерень і таким чином відбувається її нагнітання. Об'ємний ККД шестеренного
насосу ηо=0,75...0,90.

Рис. 11.7. Схема шестеренного насосу.
Подачу шестеренного насосу можна визначити
,
де D – діаметр ділильного кола шестерні; m – модуль зачеплення; b – ширина шестерні.
Лопастні та
шестеренні насоси можуть створювати високі тиски, проте їх об'ємний ККД при
цьому різко падає.
Акумулятори
в насосному приводі призначені для накопичення рідини високого тиску в період
пауз холостого ходу і витрату (віддачу) її в період робочого ходу. Акумулятори
виготовляють для тиску до 32 МПа, тому що при більшому тиску важко забезпечити
герметичність системи. В насосному приводі пресів застосовують, як правило, пневмогідравлічні і поршневі. Із-за великих габаритів
газові не застосовують.
Пневмогідравлічні акумулятори без поділу повітря і рідини, застосовують
тільки для водяних емульсій. Але якщо в якості робочої рідини застосовувати
оливи, рекомендують відділити повітря від оливи діафрагмами або поршнем, тому
що оливи мають властивість розчинити повітря у великих кількостях (при високих
тисках). Пневмогідравлічний акумулятор складається із
балона для рідини і батареї балонів для повітря. Нормальне співвідношення
об’ємів між балонами для рідини і повітря 1:10. Експлуатаційні параметри насоса
і акумулятора, можна визначити по графіку миттєвих витрат рідини преса.

Рис. 11.8. Схема балона
Об’єм рідини
балона складається з об’єму рідини, що віддається пресу, нижнього аварійного і
верхнього резервного.
Аварійний
об’єм встановлюють по часу витікання рідини від появи сигналу „аварійного” і
моменту ручного відключення акумулятора. Щоб в балоні залишалась ще рідини, щоб
не відбулося повне випорожнення балона і прориву повітря в систему преса –
встановлюють верхній резервний рівень, щоб не відбувся перелив рідини в балон
для повітря.
Гідравлічні
мультиплікатори забезпечують подачу в силовий циліндр рідини підвищеного тиску
в порівнянні з рідиною, яка поступає з акумулятора чи насоса (рис. 11.9).

Рис. 11.9. Гідравлічні мультиплікатори:
1 – плунжер малого діаметру; 2 – поршень великого
діаметру; 3 – робоча рідина
Мультиплікатори в основному
випускають двох типів, а саме:
-
мультиплікатори безперервної дії;
-
мультиплікатори разової дії.

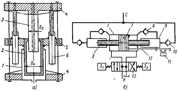
Рис. 11.10. Гідравлічні мультиплікатори:
а) разової дії; б) безперервної дії.
1 -
циліндр високого тиску;
2 -
плунжер низького тиску суміщений з циліндром високого
тиску;
3 -
плунжер високого тиску;
4 -
нерухомі поперечини;
5 -
рухома поперечина;
6 -
зворотні циліндри;
7 -
поршень циліндра низького тиску;
8 -
всмоктуючий клапан;
9 -
циліндр високого тиску;
10 -
нагнітаючий клапан;
11 -
кінцевий перемикач;
12 -
штанга з штовхачем;
13 -
золотниковий розподілювач;
14 -
електромагніти керування золотником
Мультиплікатори
разової дії призначені для забезпечення максимального тиску рідини в силовому
циліндрі преса при пікових навантаженнях робочого ходу рухомої поперечини.
Цикл роботи
мультиплікатора, як правило, співпадає з циклом роботи силового органу преса.
Хід мультиплікатора
і діаметр плунжера
високого тиску визначається виходячи з об’єму рідини
, який необхідний для одиночного ходу плунжера преса, що
живиться від мультиплікатора об’ємом
![]()
Він
приймається 0,9...0,95.
Коефіцієнт
мультиплікації визначається як:
– механічний
коефіцієнт корисної дії, який рівний 0,95;
– діаметр плунжера
низького тиску;
– діаметр плунжера
високого тиску.
Мультиплікатори
безперервної дії забезпечують підвищений тиск в силовому циліндрі необмежений
час, що являється перевагою в порівнянні з мультиплікаторами разової дії. При
переміщенні поршня 7 (рис. 11.10 б) з плунжерами 3
в одну і другу сторони забезпечується високий тиск в напірній магістралі С, то з правої,
то лівої частини мультиплікатора. Подачу рідини в порожнини циліндра 1 низького тиску регулює золотник із
електромагнітами
, сигнал до яких поступає від кінцевого перемикача 11, який керується штангою 12 з штовхачами. При русі поршня 1 вправо нагнітається рідина з циліндра 9 через зворотній клапан 10 в напірну магістраль С, а при русі правого плунжера вліво
перекривається напірна магістраль клапаном 10.
Заповнення циліндра 9 рідиною
здійснюється з правої порожнини циліндра 1
через клапан 8.
Аналогічним
чином працює і ліва сторона мультиплікатора. Таким чином здійснюється
безперервна подача рідини високого тиску в напірну магістраль С. Як правило, такі мультиплікатори
забезпечують тиск 40…60 МПа.