Лекція 14.
Особливості прибирання міських територій
14.1.
Організація прибирання міських територій
14.2.
Механізоване прибирання міських територій
14.3.
Літнє прибирання міських територій
14.4.
Зимове прибирання міських територій
14.1.
Організація прибирання міських територій
При організації прибирання
населених місць їх територію закріплюють за різними організаціями та
установами, а також за власниками приватних будинків, які повинні забезпечувати
прибирання за встановленим режимом.
Закріплення території прибирання
за спеціалізованими комунальними організаціями оформлюється титульними
списками, затвердженими рішеннями виконкому місцевих Рад. Для інших організацій
територія, яку слід прибирати, закріплюється загальним положенням.
Прибирання дворових територій і
прилеглих до них тротуарів, розташованих в межах червоних ліній вулиць вздовж
забудови, забезпечують житлово-експлуатаційні організації, домоуправління,
підприємства установи міністерств та відомств, орендатори, забудовники та інші
домовласники, в користуванні яких знаходяться прилеглі до цього покриття
будівлі, протягом усієї ділянки домоволодінь.
Прибирання проїзної частини вулиць
і доріг, мостів, шляхопроводів, естакад, і тунелів, тротуарів в межах червоних
ліній вулиць та доріг біля парків, скверів та інших місць, де немає забудови, а
також очищення зливостоків покладено на дорожньо-експлуатаційні організації
(департаменти), або спеціальні автогосподарства комбінати благоустрою.
14.2.
Механізоване прибирання міських територій
Механізоване прибирання міських
територій є одним з важливих і складних завдань охорони навколишнього
середовища міст. Якість робіт з прибирання та санітарного очищення міста
залежить від раціональної організації робіт і виконання технологічних режимів. Улітку
виконують роботи, що забезпечують максимальну чистоту міських доріг і приземних
шарів повітря. Узимку проводять найбільш трудомісткі роботи: видалення снігу й
відколу, боротьба з ожеледдю, запобігання сніжно-крижаних утворів.
Роботи з механізованого збирання і
видаленню побутових відходів виконують комунальні підприємства
(спецавтогосподарства, шляхоексплуатаційні підприємства (департаменти) та
ін.).
Для організації робіт з
механізованого збирання територію міста розбивають на ділянки, які обслуговують
механізовані колони, що забезпечують виконання всіх видів робіт із установленої
технології.
Доцільно створювати ділянки для
кожного адміністративного району міста.
Відділ експлуатації департаменту
спецавтогосподарства повинен:
- визначати обсяги робіт і число
машин, необхідних для їхнього виконання;
- містити договори з організаціями
на обслуговування об'єктів;
- розробляти технологічні режими
збирання відповідно до наявності техніки й з урахуванням місцевих умов;
- вчасно становити маршрутні карти
й графіки, організовувати перевірочні обкатування маршрутів;
- підготовляти розрахунки потреби
в технологічних матеріалах;
- контролювати виконання графіків
механізованими колонами, а також здійснювати контроль технічної експлуатації
машин і механізмів.
Диспетчерська служба повинна
забезпечувати:
– контроль
підготовки до випуску машин на лінію;
– підготовку
документації з випуску машин на лінію (шляхового аркуша й довідки про роботу
спецмашин);
– організацію
своєчасного випуску машин, періодичну перевірку знаходження їх на лінії;
– оперативний
перерозподіл машин у випадках порушення затвердженого графіка або зміни за
якихось причин умов роботи машин на лінії;
– реєстрацію
машин, що повертаються з лінії в гараж; приймання і забезпечення заявок на
машини;
– підготовку
щоденного (добового) звіту роботи машин;
– своєчасну передачу колонам
прогнозу погоди і її змін.
Диспетчери вносять у спеціальний
журнал по даним метеорологічних центрів відомості погоди (дату й час одержання
прогнозу, температуру повітря, вологість, очікуване випадання снігу й
тривалість снігопаду, можливість настання ожеледі).
Начальник колони є
відповідальним за технічну готовність засобів механізації, ефективне
використання машин на лінії, своєчасне і якісне виконання робіт. Начальник
колони керує роботами та контролює їх якість через майстрів колони, які
працюють позмінно на кожній ділянці. При відсутності начальника колони його
обов'язки виконує змінний майстер.
Змінний майстер організує
і контролює роботу на ділянці, забезпечує виконання і дотримання встановленої
технології робіт, правил техніки безпеки та ефективне використання техніки.
Майстер повинен вчасно через диспетчерську службу запитувати додаткові машини з
резерву та залежно від умов, що склалися, переводити роботу машин з одного об'єкта
на іншій. По закінченні роботи майстер оцінює обсяг та якість виконаних робіт і
складає відповідні документи. Із числа водіїв у кожній зміні призначається
бригадир, який стежить за виконанням технологічних операцій безпосередньо на
лінії.
Організація механізованого
прибирання
Організація механізованого
прибирання міських територій вимагає проведення підготовчих заходів:
– своєчасного ремонту
вдосконалених покриттів вулиць, проїздів, площ (щоб не було нерівностей,
вибоїв, виступаючих кришок колодязів підземної
міської мережі);
– періодичного очищення
відстійників колодязів дощової каналізації;
– огородження зелених насаджень
бортовим каменем.
При виробництві всіх робіт,
пов'язаних з прибиранням, слід керуватися «Правилами техніки безпеки та
виробничої санітарії при прибиранні міських територій».
Місцеві органі влади затверджують:
– титульні
списки вулиць, площ, проїздів, які потребують прибирання влітку та узимку;
– визначають
проїзди, сніг з яких перекидається роторними снігоочисниками;
– місця
розміщення снігових звалищ, пунктів вивантаження сміття (сміття, яке змели), заправлення водою поливально-мийних
машин;
– кількість
піску й хімічних матеріалів, заготовлюваних для посипання доріг узимку;
– число
чергових збиральних машин;
– число
самоскидів з нарощуваними бортами, які виділяються автотранспортними
підприємствами для вивозу снігу в період сильних снігопадів.
Обслуговуючу територію (ділянку)
поділяють на маршрути, за кожним з яких закріплюють потрібне число машин.
Виходячи, з обсягів робіт і продуктивності
машин розподіл на маршрути роблять на карті-плані ділянки, на яку попередньо
наносять:
- довжину вулиць, їх категорії,
- місця заправлення поливально-мийних машин,
- розташування баз технологічних
матеріалів,
- стоянок машин, що перебувають на
чергуванні,
- наявність більших ухилів, кривих
малих радіусів і таке інше.
Ґрунтуючись на характерних
відомостях про снігопади, їх інтенсивності та тривалості за зиму визначають
необхідне число прибиральних машин і організацію їх
роботи на ділянці.
При підготовці до літнього
прибирання попередньо встановлюють режими прибирання, які в першу чергу
залежать від значимості вулиці, інтенсивності транспортного руху та інших
показників, які зазначені у паспорті вулиці. Вулиці групують за категоріями, в
кожній з яких вибирають характерну вулицю; по якій встановлюють режими
прибирання усіх вулиць цієї категорії і обсяги робіт. Виходячи, з обсягів
робіт, визначають необхідне число машин для виконання технологічних операцій.
Для кожної машини, що
виконує роботи з літнього або зимового прибирання, складають маршрутну карту,
тобто графічне вираження шляху проходження машин, послідовність і періодичність
виконання тієї або іншої технологічної операції. Відповідно до маршрутних карт
розробляють маршрутні графіки. При зміні місцевих умов (зміні умов руху
на ділянці, ремонті дорожніх покриттів на одній з вулиць і таке інше) маршрути
коректують. Один екземпляр маршрутів руху прибиральних
машин перебуває в диспетчера, інший у водія. Водіїв машин закріплюють за
певними маршрутами, що підвищує відповідальність кожного виконавця за строки і
якість робіт.
З метою поліпшення організації
робіт по видаленню обвалованого снігу й зачищенню прилоткової
частини проїздів у зимовий період за узгодженням з органами ДАІ та рішенням
виконкомів встановлюють порядок, що забороняє на основних магістралях міста
стоянку машин – по парних числах на парній стороні вулиці, по непарних – на
непарній стороні.
14.3.
Літнє прибирання міських територій
У завдання літнього прибирання
міських територій входить:
- видалення сміття із дорожніх
покриттів з такою періодичністю, щоб його кількість на дорогах не перевищувала
встановленої санітарної норми.
- видалення із проїзної частини та
лотків вулиць ґрунтових наносів в міжсезонні й дощові періоди року;
- очищення відстійників зливоприймальних
колодязів дощової водовідвідної системи (каналізації);
- збирання опалого листя;
- зволоження повітря для
поліпшення мікроклімату у жаркі дні.
Основним фактором, що впливає на засмічення
вулиць, є інтенсивність руху міського транспорту. На накоплення підметеного
сміття і засмічення вулиць суттєво впливає також благоустрій прилягаючих
вулиць, тротуарів, місць виїзду міського транспорту та стан покриттів прилеглих
дворових територій.
Основними операціями літнього
прибирання є підмітання лотків і мийка проїзної частини дороги.
Мийка лотків допускається на вулицях, що мають дощову водовідвідну систему
(каналізацію), добре спрофільовані лотки та поздовжні ухили більше 70/00.
На вулицях з інтенсивним рухом бруд збивається потоком транспорту убік, і
прибирання цих вулиць полягає головним чином в очищенні лотків, а мийка
проїзної частини необхідна тільки 1 раз в 2–3 дні.
Бруд видаляють підмітально-прибиральними
машинами, оснащеними лотковими щітками. На вулицях, що мають дощову
водовідвідну систему (каналізацію), добре спрофільовані лотки й ухили,
прибирання лотків можуть виконувати поливально-мийні
машини зі спеціальними насадками. У цьому випадку увесь бруд змивається потоком
води до зливоприймальних
колодязів дощової водовідвідної системи (каналізації).
Видалення ґрунтових наносів. Ґрунтові
наноси, як правило, утворюються в міжсезонний час, а також при сильних дощах і
грозах. На кількість, утворюваних ґрунтових наносів найбільший вплив виявляє
правильність експлуатації зелених насаджень, що прилягають, до дорожніх
покриттів. Міжсезонні ґрунтові наноси при незначній їх кількості прибираються плугово-щітковими снігоочисниками з наступним підгортанням,
навантаженням і вивозом, а при великій їх кількості, коли, неможливо їх забрати
плугово-щітковими снігоочисниками, застосовуються
автогрейдери.
Наноси вантажать
снігонавантажувачами в автосамоскиди.

Рис.
14.1. Схема мийки дорожніх покриттів
а) — мийка вулиць; б) — поливання
вулиць

Рис.
14.2. Схема установки насадок: а) – для мийки; б) – для поливання
14.4.
Зимове прибирання міських територій
Основним завданням зимового
прибирання дорожніх покриттів є забезпечення нормальної роботи міського
транспорту та руху пішоходів.
Прибирання міських територій
узимку трудомістке. Складність організації прибирання пов'язана з нерівномірним
завантаженням парку снігоприбиральних машин, яка залежить від інтенсивності
снігопадів, їх тривалості, кількості палого снігу, а також від температурних
умов. Міські території взимку прибирають у два етапи:
- розчищення проїзної частини
вулиць і проїздів;
- видалення з міських проїздів
зібраного у вали снігу.
Прибирання вулиць узимку
складається з наступних робіт:
- своєчасного очищення проїзної
частини від палого снігу і боротьби з утворенням криги (ущільненої кірки);
- ліквідації ожеледі і боротьби зі
слизькістю покриттів вулиць;
- видалення сніжно-крижаних
накатів і ущільненої кірки снігу;
- видалення сніжних валів з
міських вулиць (вивіз на звалища, складування, сніготанення);
- розчищення перехресть, зупинок
міського транспорту, очищенні лотків після навантаження снігу, прибирання
вулиць у безсніжні дні.
Роботою, що визначає ефективність
прибирання, є снігоочищення.
Ефективне виконання снігоочисних
робіт можливо лише за умови суворого дотримання технологічних режимів, від часу
початку роботи машин по очищенню вулиць від снігу. Цей час повинен бути
мінімальним, в ідеалі очистку слід починати як тільки почався снігопад, що
вимагає практично цілодобової готовності машин до роботи. Тому в містах на
період снігопадів рекомендується передбачати цілодобове чергування піскорозкидачів
і плугово-щіткових снігоочисників.
Для визначення строків видалення
снігу з міських доріг і проведення робіт з боротьби зі слизькістю вулиці ділять
на три категорії:
I – виїзні магістралі; всі
вулиці з інтенсивним рухом і мають автобусні та тролейбусні лінії; вулиці, що
мають ухили, звуження проїздів, де сніжні вали особливо ускладнюють рух
транспорту;
II – вулиці із середньою
інтенсивністю руху міського транспорту; площі перед вокзалами, видовищними
організаціями, магазинами, ринками та іншими місцями з інтенсивним, пішохідним
рухом;
III – вулиці міста з невеликою інтенсивністю
руху транспорту.
Снігоочищення. Основний
спосіб видалення снігу з покриттів міських доріг – підмітання й згрібання його
у вали плугово-щітковими снігоочисниками. Очищення
проїзної частини вулиць до асфальту одними снігоочисниками може бути
забезпечена тільки при порівняно малій інтенсивності руху міського транспорту
(не більше 120 маш./година.). При більшій
інтенсивності руху, як правило, не можна запобігти утворенню ущільненого снігу
без застосування хімічних матеріалів на покриттях доріг.
Хімічні матеріали перешкоджають
ущільненню й накочуванню снігу, який тільки впав, знижуючи величину сил
змерзання льоду з поверхнею дорожнього покриття, але їх можна застосовувати
тільки при інтенсивності снігопаду не менше 0,5 мм/год. тому що в противному
разі на дорожньому покритті утворюються розчини реагентів. Застосування
хімічних матеріалів дає позитивний ефект при ретельному перемішуванні реагентів
зі снігом яке можливо досягнути при русі транспортних засобів інтенсивністю
більше 100 маш./год.
Міські дороги з інтенсивністю руху транспорту більше 100 маш./год.,
а також при снігопадах інтенсивністю менше 0,5мм/год. прибирають без
використання хімічних матеріалів за рахунок згортання та змітання снігу плугово-щітковими снігоочисниками.
Перший цикл роботи снігоочисника
виконують протягом години після початку снігопаду, а наступні кожні 1,5 години.
По закінченні снігопаду сніг згрібають і підмітають. Кожний цикл обробки
дорожнього покриття розбитий на етапи: витримка, обробка хімічними
реагентами, інтервал, згрібання й підмітання снігу.
Витримка – час від
початку снігопаду до моменту внесення реагентів у сніг – залежить від
інтенсивності снігопаду та температури повітря й ухвалюється такий, щоб
повністю виключити утворення на дорожньому покритті розчинів при контактуванні
снігу та реагентів.
Інтервал – період між
посипанням хімічними реагентами і початком обслуговування. Інтервал витримують
тільки при снігопадах незначної інтенсивності. При виконанні робіт першого
циклу витримувати інтервал слід тільки при снігопаді інтенсивністю 0,5–1
мм/год.
При взаємодії з реагентами сніг,
зберігає властивості сипкості, не зазнає ущільнення й прикочування, завдяки
чому при роботі плугово-щіткових снігоочисників
досягаєте високоякісного прибирання дорожніх покриттів.
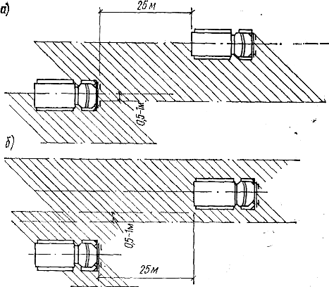
На вулицях із двобічним рухом
перша машина робить прохід по осі проїзду, наступна рухається уступом з
розривом 20–25 м (рис. 14.3). Смуга, яка очищена попередньою машиною, повинна
бути перекрито на 0,5–1 м.
Маршрути роботи снігоочисників
вибирають так, щоб згрібання й змітання починалися з проїздів з найбільш інтенсивним
рухом, а також, маючих адміністративні та торговельні центри (до початку роботи
цих установ).

Рис.
14.3. Схема роботи колони плугово-щіткових
снігоочисників
В особливих експлуатаційних умовах
(підйоми міських доріг, під'їзди до мостів, тунелів і таке інше), коли потрібно
підвищити коефіцієнт зчеплення коліс транспортних засобів з дорожнім покриттям,
необхідно застосовувати піщано-сольову суміш.
При виконанні снігоочисних робіт
особливу увагу слід приділяти розчищенню перехресть і зупинок міського
транспорту.
Видалення ущільненого снігу й
льоду. Ущільнений сніг з дорожніх покриттів видаляють автогрейдером,
обладнаним спеціальним ножем гребінчастої форми, або
сколювачами-розпушувачами. Сніг видаляють складуванням у при лоткову частину
проїзду або на площах, вільних від забудови. Крім того, сніг можна видаляти
через люки обводненої дощової або господарсько-побутової системи
водовідведення.
Боротьба з ожеледдю. Для
боротьби з ожеледдю (покриттям пішохідної проїзної поверхонь тонкою крижаною
плівкою) можна застосовувати:
– профілактичний
метод, що перешкоджає виникненню ожеледі, – метод пасивного впливу,
який сприяє підвищенню коефіцієнта зчеплення шин з дорогою, покритою льодовою
плівкою.
Перевагу віддають профілактичним
методам, але їх застосування можливе тільки при своєчасному одержанні
попереджувальних повідомлень метеорологічної служби про виникненні ожеледиці.
Після одержання повідомлення необхідно обробити дорожнє покриття хімічними
матеріалами з розрахунку 15–20 г/м2. Для того, щоб реагенти не
розкидалися в сторони колесами транспортних засобів, їх слід розподіляти
безпосередньо перед виникненням ожеледі. При такій обробці доріг крижана плівка
на поверхні дорожнього покриття не утворюється, дорога робиться лише злегка
вологою.
Для усунення слизькості дорожнє
покриття треба в найкоротший термін обробити піщано-сольовою сумішшю.
При боротьбі з ожеледдю або
утворенням сніжно-крижаних накатів широко застосовують хімічні реагенти (водяні
розчини яких замерзають при більш низьких температурах, ніж вода), а також
піщано-сольові суміші.
Температурні умови визначають
вибір матеріалів (хлористий натрій, хлористий кальцій та ін.).
Контрольні запитання
1. Як відбувається
організація прибирання міських територій?
2. Чим характеризується
механізоване прибирання міських територій?
3. Повноваження відділу експлуатації департаменту спецавтогосподарства.
4. Повноваження диспетчерської служби.
5.
Повноваження начальник колони.
6.
Повноваження змінний майстер.
7. Як відбувається організація механізованого прибирання?
8. В чому особливості
літнього прибирання міських територій?
9. Що входить у завдання літнього прибирання
міських територій?
10.
Що є основним фактором, який
впливає на засмічення вулиць?
11.
Як відбувається видалення ґрунтових
наносів?
12.
В чому
особливості зимового прибирання міських територій?
13.
Що є основним завданням зимового
прибирання?
14.
Як відбувається снігоочищення?
15.
Як відбувається видалення ущільненого
снігу й льоду?
16.
Як відбувається боротьба з ожеледдю?