9. Вимірювання
енергії
Вирази
для електричної енергії, що є інтегралом від потужності по часу, отримують
інтегруванням виразів для потужності. Тому лічильник електричної енергії складається
з вимірювального перетворювача потужності та інтегратора, яким є механічний або
електричний лічильник.
Для
вимірювань та обліку енергії постійного струму застосовують електродинамічні та
феродинамічні лічильники електричної енергії. Вони будуються на базі
вимірювачів активної потужності з подальшим інтегруванням їх вихідного сигналу
за виразом
. В її окремих випадках, коли основним показником
технологічного процесу є кількість спожитих ампер-годин або вольт-годин (в гальванічних
ваннах під час зарядження акумуляторів і т.д.)
застосовують лічильники ампер-годин або вольт-годин.
В колах
змінного струму промислової частоти вимірювання та облік електричної енергії
здійснюється головним чином за допомогою індукційних лічильників електричної
енергії.
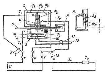
Прилад
складається з магнітопроводів 4, на який намотана катушка
(число витків w1) і 7 з катушкою напруги з більшою
кількістю витків w2, алюмінієвого диска 5, постійного магніта
8 для створення протидіючого моменту, протиполюсної пластинки
9 для направлення основної частини потоку Ф2 через алюмінієвий диск (робоча
частина потоку). До клем Г подають живлення від мережі , до клем Н – провідники
що ведуть до навантаження.Початок катушки
напруги підключається до початку струмової катушки
через допоміжну клему 2 і перемичку 1. В середині лічильника знаходиться
перемичка 13.
При
включенні лічильника до мережі і при ввімкненні навантаження по струмовій катушці починає проходити струм навантаження І1, що створює
намагнічуючу силу І1w1 і магнітний потік Ф1, який зверху і знизу пронизує диск,
наводячи в ньому ЕРС і вихровий струм Ів1, такий що створений ним потік Фв намагається зменшити Ф1. (напрямок струму за правилом
правої руки). При проходженні струму І2 по катушці
напруги в ній створюється магнітний потік Ф2, частина якого ФL
розсіюється через бокові відводи, а інша частина – робочий потік Фр пронизує диск знизу вверх. В результатів взаємодії Фр і Ів1 на диск діє сила F1, що створює відносного нього
перший обертальний момент. Змінний потік Фр індукує в
диску струм Ів2, що попадає в поле дії потоку Ф1, в результаті взаємодії на
диск діє сила F2, що створює другий обертальний момент.
Результуючий
обертальний момент пропорційний добутку двох потоків, що пронизують диск і
синусу кута зсуву між ними.
. Оскільки в лічильнику на шляху магнітних потоків Фi і Фu є великі повітряні зазори
можна вважати, що залежність між потоками і струмами II, IU
лінійна, тобто
Ф1
= К1IH; Ф2 = К2IU = KU1U.
В індукційних лічильниках для
отримання обертального моменту пропорційного активній потужності
конструктивними методами добиваються виконання умови: y = p/2 - j, де j - кут зсуву фаз між
струмом і напругою на навантаженні.
Цей момент викликає обертання
диска в полі постійного магніта, в диску виникають
вихрові струми і створюється гальмівний (протидіючий момент) пропорційний
швидкості обертання диска
,
- кількість обертів диска за одиницю часу. При включенні навантаження
швидкість обертання диска збільшується доки
. Звідси
, домноживши обидві частини на час
t отримаємо
, де
- число оборотів диска
за час t, с – постійна лічильника (кількість енергії за один оберт).
Для
виконання операції інтегрування по часу, в індукційних лічильниках
використовуються рахункові механізми.

Індукційний
лічильник електричної енергії.

Схема вмикання
однофазного лічильника в низьковольтну мережу зі струмом меншим номінального
аналогічна до схеми вмикання ватметра. При вимірюванні енергії порівняно
потужних споживачів, лічильник вмикається через вимірювальні трансформатори
струму, а при високих напругах - через вимірювальні трансформатори струму і
вимірювальні трансформатори напруги (див. рис). Покази лічильника множать на
коефіцієнти трансформації kHI i kHU.
Основним
недоліком індукційних лічильників є їх порівняно невисокий клас точності (не більше
1,0) та вузький частотний діапазон (45-62 Гц).
Наявність вищих гармонік сигналу погіршує їх роботу.

Для
обліку активної електроенергії в трифазних колах застосовують спеціальні дво- і триелементні лічильники
енергії.
Вищу
точність вимірювань забезпечують електронні лічильники. Структурна схема такого
лічильника наведена на рис.

Структурна схема електронного лічильника
електричної енергії
Лічильник
виконується на базі первинного перетворювача потужності ППН в напругу Up=kpP. А
оскільки одним з найзручніших варіантів інтегрування напруги є її проміжне
перетворення в частоту, в схемі передбачений перетворювач напруги в частоту ПНЧ
і подальше інтегрування частоти fP (підрахунок
імпульсів) за допомогою інтегрувального пристрою ІП. Вихідний код N і буде пропорційний спожитій
енергії за відповідний проміжок часу. Здебільшого як інтегрувальний пристрій
використовують мікропроцесор.
Похибка
таких лічильників для обліку енергії промислової частоти при коефіцієнті
потужності в межах 1,0...0,5 становить ±0,1... 1,0%.