Лекція 3. Технологічне
обладнання для миття сировини і тари
1. Класифікація обладнання для миття сировини і
тари.
2. Обладнання для миття рослинної сировини.
3. Обладнання для миття тари.
1. Класифікація обладнання для миття сировини і тари.
В теперішній час для
миття харчової рослинної сировини, тари і санітарної обробки обладнання
застосовуються мийні машини різних типів і конструкцій. Вони класифікуються
наступним чином: залежно від характеру процесу (безперервної і періодичної
дії); від виду об’єктів які обробляються (для миття сировини і миття тари); за
типом пристроїв, які переміщують об’єкти, що миються (лінійні і барабанні); за
способом миття (м’який і жорсткий); за конструкцією робочого органу (кулачкові
(лопатеві), елеваторні, вібраційні, барабанні).
Для миття сировини
використовується проточна або зворотна водопровідна вода. Після відмочування
забруднення з поверхні сировини видаляються щітками або рідинними потоками.
Серед мийних машин найбільше поширення отримали лопатеві, стрічкові, барабанні,
вібраційні, комбіновані, елеваторні, щіточні та ін. машини. Вибір мийної машини
визначається структурно-механічними і міцнісними властивостями рослинної
сировини, а також характером і кількістю забруднень на поверхні сировини.
Миття рослинної сировини
проводять зануренням в воду (відмочуванням), споліскуванням струменями води із насадок,
використанням щіткових пристроїв, активним перемішуванням. В більшості мийних
машин використовують комбінацію перерахованих способів миття.
Миття забезпечує
видалення з поверхні сировини залишків землі, піску, сторонніх важких і легких
домішок. Для кожного виду сировини вимагається свій спосіб і режим миття.
2. Обладнання для миття рослинної сировини.
Машини для миття сировини бувають
з м’яким режимом миття (для миття м’яких плодів і ягід) і жорстким режимом
миття (для миття бульб і
коренеплодів).
Найбільш поширеними серед машин з
м’яким режимом миття є КУМ-1 і КУВ-1.
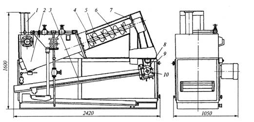
Машина КУВ-1 (рис. 3.1)
елеваторного типу являє собою ванну 1, якій розміщене роликове полотно 17, що
приводиться в рух направляючих 16 від електродвигуна 9 через пасову передачу,
редуктор 8, ланцюгову передачу 10.
Ванна встановлюється на стійках
12, які зв’язані між собою рамою, на якій монтуються повітряний компресор 15 і
пускові пристрої 13 та 14 електродвигунів. Над ванною встановлений душовий
пристрій 6, вода до якого підводиться через вентиль 21. Вана обладнана люками 7
і 19, вентилем 22 для підводу води і вентилями 20 і 23 для зливання води. В
нижній частині ванни встановлено натяжний пристрій 18 конвеєра.
Сировина поступає в ванну 1 на
решітку 3, з якої попадає на роликове полотно, яке переміщує її до вихідного
лотка 11. В процесі переміщення сировина миється в ванні і споліскується з
душового пристрою. Для рівномірного розподілу сировини на конвеєрі знаходиться
заслінка 4.
Для інтенсифікації процесу миття
в нижню частину ванни компресором 15 по трубопроводу 5 через барботер 2
нагнітається повітря.

Рисунок 3.1 – Елеваторна машина
КУВ-1: 1 – ванна; 2 – барботер; 3 – решітка;
4 – заслінка; 5 – трубопровід; 6 – душовий
пристрій; 7; 19 – люки; 8 – редуктор;
9 – електродвигун; 10 – ланцюгова передача;
11 – вихідний лоток; 12 – стійки;
13; 14 – пускові пристрої; 15 – повітряний компресор;
16 – направляючі; 17 – роликове полотно;
18 – натяжний пристрій; 20; 23 – вентилі для зливання
води; 21; 22 – вентилі для підводу води.
Для миття плодів і овочів, а
також для охолодження їх після теплової обробки використовують мийно-струшуючу
машину КМЦ (рис. 3.2). Вона складається із каркаса 1, душового колектора
6, ванни 3 і привода 2.
Каркас машини має чотири стійки з
опорними плитами. До каркасу на чотирьох шарнірних підвісках прикріплено під
кутом 5° до горизонту сито 4, яке здійснює зворотно-поступальний рух, що
передається від колінчастого вала.
Над ситом 4 встановлений бункер 5
з шибером для регулювання кількості подачі сировини. Над ситом розміщений також
душовий колектор 6 з соплами, а під ним встановлена ванна з отвором для зливання
відпрацьованої води.

Рисунок 3.2 – Мийно-струшуюча
машина КМЦ: 1 – каркас; 2 – привід; 3 – ванна;
4 – сито; 5 – бункер; 6 – душовий колектор
Крім цих машин для миття ягід
використовують флотаційні мийні машини, для миття твердих плодів і овочів
(коренеплодів, груш, яблук і т. д.) використовують барабанні мийні машини.
Миття в барабанних машинах здійснюється при обертанні барабана шляхом
інтенсивного перемішування сировини і за рахунок ударів падаючої сировини в
поверхню води. Ефективність процесу миття залежить від числа обертів барабана.
При малих обертах барабана сировина розміщується в нижній частині. Із
збільшенням числа обертів барабана збільшується кут піднімання сировини, й чим
більше число обертів, тим вищий кут піднімання, відривання і висота падіння
сировини. Внаслідок цього ефективність процесу миття збільшується. Але при
значному числі обертів барабана може наступити такий момент, коли відцентрова
сила переважить силу тяжіння і сировина протягом всього оберту буде притиснута
до стінок барабана, тобто процес миття буде порушений.
Для миття круп і зернобобових
використовують шнекову мийну машину А1 – БГМ (рис. 3.3).
Шнекова мийна машина складається
із станини 9, на якій змонтовані телескопічний живильник 1, мийна ванна 2,
ситовий кузов 3 і система трубопроводів. Живильник 1 служить для подачі крупи в
воду на будь-яку глибину залежно від виду крупи.
Машина працює наступним чином.
Крупа подається в живильник 1 машини. Із живильника, залежно від виду крупи,
вона поступає або на поверхню води, або на визначену глибину.
Легкі домішки спливають і разом з
забрудненою водою через зливний патрубок поступають на друге сито кузова 3, де
від них відділяється вода і домішки виводяться в збірник відходів.
Крупа в мийній ванні 2
перемішується і транспортується шнеком 5 до випускного патрубка, потім поступає
на вібросито, де від неї відділяється вільна вода, і виводиться із машини.

Рисунок 3.3 – Шнекова мийна
машина А1 – БГМ: 1 – живильник; 2 – мийна ванна;
3 – ситовий кузов; 4 – корпус; 5 – шнек;
6 – лопатки; 7 – черв’ячний редуктор;
8 – електродвигун; 9 – станина;
10 – ексцентриковий коливач
Машини з жорстким режимом миття
призначені для миття картоплі, буряків та інших корене- і бульбоплодів,
забруднених важкими домішками. Найпоширенішими серед таких машин є кулачкові.
Вони бувають:
- одно- або двокорпусні з
постійним рівнем води (КМЗ-57М, КМЗ-61 та ін.);
- комбіновані (з двома рівнями
води) типу СКМ, СКД-6;
- спеціальні (вібраційні, струминні).
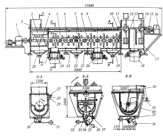
Однокорпусна бурякомийка з
постійним рівнем води КМЗ-57М (рис. 3.4) складається з миючої 5 і вивантажувальної
17 частин, розділених перегородкою 10. Внизу перегородки знаходиться отвір 40,
розмір якого регулюється з допомогою лебідки 39.
Всередині миючої частини мийки
встановлений вал 6, на якому в муфтах 8 закріплені кулачки 7. В передній
частині мийки на горизонтальному валу розміщений шнек 4. Він розрихлює поверхню
буряків, які поступають в мийку і створює умови для спливання на поверхню води
легких домішок. Кулачковий вал приводиться в обертальний рух від приводу, який
складається з електродвигуна і редуктора 1. Корпус мийної частини бурякомийки
має подвійне дно: верхнє 21 перфороване і нижнє 23 суцільне.
Вивантажувальна частина
бурякомийки розділена перегородками 13 і 14 на три відділення. Перегородка 13
суцільна, а перегородка 14 має знизу отвір. У вивантажувальній частині
встановлений вал 11, на якому закріплені ковші 12. Вал приводиться в
обертальний рух від трьох швидкісного електродвигуна 15 через редуктор16.
Для видалення важких домішок від
буряків в мийній і вивантажувальних частинах знаходяться каменевловлювачі 18,
20 і 24. Каменевловлювачі являють собою кишені, нижні отвори яких мають кришки
34, які відкриваються за допомогою гідроциліндрів 25 і закриваються противагами
32. Верхній отвір каменевловлювачів закривається сектороподібним шибером 35 за
допомогою гідроциліндра 37 і утримується в відкритому стані противагою 36. В
робочому положенні каменевловлювача сектороподібний шибер відкритий, а нижня
кришка закрита. Пісок і відмитий ґрунт від буряків через перфороване дно мийної
частини бурякомийки поступає в пісковловлювачі 19, 22 і 26, кришки яких при
очищенні відкриваються гідроциліндрами 30 і закриваються противагами 31. Для
того щоб в каменевловлювач разом з важкими домішками не попадали буряки, по

трубі 33
підводиться вода під тиском 0,4…0,5МПа.
Рисунок 3.4 – Бурякомийка
КМЗ-57М: 1 – редуктор; 2 – лоток; 3 – приймальна
частина; 4 – шнек; 5 – миюча частина; 6 – вал;
7 – кулачки; 8 – муфти; 9 – жолоб;
10; 13; 14 – перегородки; 11 – вал;
12 – ковші; 15 – електродвигун; 16 – редуктор;
17 – вивантажувальна частина;
18; 20; 24 – каменевловлювачі;
19; 22; 26 – пісковловлювачі; 21 – перфороване
днище; 23 – суцільне днище;
25; 30; 37 – гідроциліндри; 27 – перфороване днище;
28 – суцільне днище; 29 – штуцер відводу води;
31; 32; 36 – противаги; 33 – труба для води;
34 – кришка; 35; 38 – шибери; 39 – лебідка;
40 – отвір
Принцип дії бурякомийки
наступний. Буряки поступають через лоток 2 на шнек і далі – в мийне відділення,
де кулачками переміщується до вивантажувальної частини. Для кращого відділення
забруднень з поверхні буряків кулачки в передній частині вала встановлені на
меншій відстані один від одного, а для переміщення буряків до вивантажувальної
частини, вони розміщені на валу по гвинтовій лінії. Для кращого видалення піску
і землі, які накопилися між суцільним і перфорованим днищами, через барботери
подають воду під час очищення пісковловлювачів.
Буряки із мийного відділення
через отвір в перегородці 10 поступають в перше відділення вивантажувальної
частини. Кількість буряків, які поступають, регулюється шибером 38. Буряки із
першого відділення вивантажувальної частини ковшами 12 перекидаються в друге
відділення, де проходять кінцеве ополіскування водою і вивантажуються ковшами
на водовідділювач. Так як ковші не доходять до дна вивантажувальної частини
мийки, вони не захоплюють камені, які відділилися, і ці камені направляються в
каменевловлювач.
В миючій частині бурякомийки
легкі домішки спливають на поверхню води, яка знаходиться на рівні 300...400мм
вище кулачків. В одній із стінок корпуса бурякомийки встановлюють жолоб 9 з
перфорованим 27 і суцільним 28 днищами. В цей жолоб через щілини в стінці мийки
попадають легкі домішки з поверхні води за допомогою струменів води, які
витікають з отвору труби, розміщеної біля протилежної сторони мийки. Легкі
домішки затримуються на перфорованому днищі жолоба і періодично видаляються, а
вода, яка поступає в жолоб з домішками, відводиться через штуцер 29.
Поряд із описаною машиною на
вітчизняних заводах застосовують мийні машини КМЗ-57; СКМ-3М; СКД-6.
3. Обладнання для миття тари.
В харчових виробництвах
використовується герметична металева, скляна і негерметична (дерев’яні бочки і
ящики, картонні коробки, паперові пакети і мішки) тара. Із перерахованих видів
тари миттю підлягає металева, скляна і дерев’яна тара.
Для миття циліндричних металевих
банок використовують камерну установку (рис. 3.5). В цій установці банки
котяться по направляючих кутниках 2, кут нахилу який можна змінювати по
відношенню до корпуса 1.
Для миття різних за висотою банок
передбачена можливість зміни віддалі між кутниками. Пара і вода подаються
відповідно в паровий 3 і водяний 4 барботери для обробки внутрішньої поверхні
банок по ходу їх переміщення в корпусі. Зовнішня поверхня банок піддається ошпарюванню.
Вода, що стікає з банок попадає в конічну ємкість 5 і виводиться в каналізацію.
При огляді камери кришку 6 відкидають. Продуктивність установки залежить від
кута нахилу направляючих і підпору, що створюється потоком банок, які
поступають із вертикального жолоба.
Також для миття металічних банок
використовують машини А9-ОМА, МЖУ-125М, АУ-КМС „Тайфун”, А9-КМ2.
Для миття скляних банок
використовують машини И2-КАМ-6, СП-60М, СП-70, СП-72.

Рисунок 3.5 – Камерна
установка для миття металевих банок: 1 – корпус;
2 – направляючі кутники; 3 – паровий барботер;
4 – водяний барботер; 5 – ємкість; 6 – кришка
Найбільш поширеною є пляшкомийна
машина АММ-6 (рис. 3.6). В зварному корпусі 1 машини знаходяться
відмочувальні ванни 2 і 22 та відділи теплої води і лужного розчину. В середині
корпуса змонтований транспортер пляшконосія 5. В передній частині корпуса
розміщенні подаючий 9 і відвідний 11 транспортери, накопичувач пляшок,
виконаний у вигляді рольганга з розподілювачами, пристрій ланцюгового типу для
завантаження пляшок. На корпусі кріпиться пристрій для вивантаження пляшок 12.
На машині встановлені три насосні
установки: для змивання відмоклих етикеток і створення направленого руху
лужного розчину в відмочувальній ванні в сторону барабана етикетковідбірника,
для миття пляшок лужним розчином, гарячою, теплою і водопровідною водою. В
першій лужній ванні 2 знаходиться підігрівач 3, а в другій – підігрівач 21.
Особливістю роботи машини є
тривале відмочування пляшок в першій лужній ванні, після якої проводиться
змивання етикеток. Етикетковідбірник складається із жолоба 18, сітчастого
барабана 20, який обертається, і до якого потоком лугу притискуються етикетки,
вентилятора для збивання етикеток і лотка для їх збирання.
Падаючим транспортером пляшки
поступають на накопичувач 8, де обмиваються теплою водою, яка подається із
відсіку до пристрою 10 для попереднього обмивання. Пристроєм 7 пляшки
завантажуються в гнізда пляшконосіїв. Вода із пляшок разом із змитими
забрудненнями при русі транспортера пляшконосіїв зливається в піддон 4.
Для більш ефективного
підігрівання пляшки перед подачею у відмочувальну ванну обмиваються ззовні
гарячою водою, яка поступає із піддона 16 в труби 6. В ванні відбувається
відмочування забруднень і етикеток в лужному розчині. Змиті в пристрої 17
етикетки направляються жолобом 18 до барабана 20 етикетковідбірника і
вентилятором здуваються в лоток. У відмочувальній ванні і на похилій вітці
транспортера пляшконосіїв продовжується відмочування забруднень в лужному
розчині у відділенні 19. Встановлений у відділенні зворотної води 13 барботер
14 забезпечує необхідну турбулізацію потоків води.

Рисунок 3.6 – Пляшкомийна машина
АММ-6: 1 – корпус; 2; 22 – відмочувальні ванни;
3; 21 – підігрівачі; 4 – піддон для брудної води;
5 – транспортер пляшконосія; 6 – труби;
7 – пристрій завантаження пляшок; 8 – накопичувач пляшок;
9 – подаючий транспортер; 10 – пристрій попереднього
обмивання; 11 – відвідний транспортер; 12 – пристрій
вивантаження пляшок; 13 – відділення зворотної води;
14 – барботер; 15 – пристрій для миття лугом і водою;
16 – піддон гарячої води; 17 – пристрій для змивання
етикеток; 18 – жолоб; 19 – відділення з лужним розчином;
20 – сітчастий барабан
На верхній вітці транспортера
пляшки піддаються багаторазовому внутрішньому шприцюванню і зовнішньому
споліскуванню лужним розчином, гарячою, теплою і водопровідною водою за
допомогою пристрою 15 для миття лугом і водою. Вимиті пляшки вивантажуються на
відвідний транспортер 11. Температура миючих рідин регулюється автоматично.
Для миття ящиків застосовують
дуже прості конструкцією ланцюгові лінійні машини.