Лекція 13. Вагове обладнання
1.
Класифікація вагового обладнання.
2. Ваги
загального призначення.
3.
Технологічні ваги.
1. Класифікація
вагового обладнання.
Зважуванням
називається вимірюванням маси тіла з використанням ефекту гравітаційних сил,
які діють на це тіло.
Вагове
обладнання призначене для визначення маси різних матеріалів, сировини
напівфабрикатів і готової продукції.
Ваги
класифікують за:
1 Призначенням:
- зразкові;
- лабораторні;
- загального призначення;
- технологічні.
2.
Принципом вимірювання маси:
-
важільні – принцип дії заснований на
врівноваженні сили ваги вантажу за допомогою важеля чи системи важелів;
- пружинні – принцип дії
оснований на законе Гука, тобто врівноваженні сили ваги вантажу досягається за
допомогою пружинного силовимірювача.
- гідравлічні – принцип дії
оснований на дії архімедової сили;
-
електронні –
працюють на основі перетворення механічної дії сили ваги вантажу в пропорційний
їй електричний сигнал, який виражається цифровим індексом значення вимірюваної
маси.
3.
Способом встановлення:
-
настільні –
їх встановлюють на робочому столі і використовують для зважування вантажів до
-
підвісні –
використовуються на робочих місцях, де інші ваги застосувати важко (межа
зважування
-
пересувні (платформі) – встановлюються, як правило, на підлозі у місцях приймання товару і
розраховані на масу вантажу до
-
стаціонарні – встановлюють на постійному місці в спеціальному заглибленні. Платформа
ваг повинна бути на рівні підлоги, що полегшує процес зважування. До
стаціонарних ваг відносяться ваги підвищеної вантажопідйомності – автомобільні,
вагонні, елеваторні (бункерні).
4. Видом
відлікового механізму:
- важкові
– маса
вантажу визначається шляхом підрахунку маси важків;
- шкальні
– маса
вантажу визначається за шкалою коромисла по місцю розміщення пересувних важків,
які врівноважують вантаж;
-
шкально-важкові – маса вантажу знаходиться по значенню важків, розміщених на важкотримачі,
і шкалі коромисла, по якій переміщується для врівноваження вантажу пересувний
важок;
-
циферблатні – маса вантажу визначається за допомогою стрілки на шкалі циферблата;
-
циферблатно-важкові – маса вантажу знаходиться за сумою маси важків на товарній площадці і
показів шкали циферблата;
- цифрові електронні – значення маси знімаються з екрана, де фіксується цифрою
показник маси.
На харчових
підприємствах використовуються ваги загального призначення і технологічні.
Технологічні ваги служать для зважування безпосередньо в технологічних
процесах.
Зважування може проводитися дискретно, тобто окремими
порціями сировини, продукції, або безперервно при переміщенні різних матеріалів
в потоці.
2. Ваги загального
призначення.
Найбільш
поширеним видом ваг загального призначення є важільні нерівноплечі. Конструкція
вантажоприймального пристрою таких ваг визначається характером вантажів, що
зважується. Якщо ваги служать для зважування штучних вантажів, їх оснащують
платформою, сипких продуктів – бункером, рідин – баком.
Важільно-механічні ваги мають такі основні
пристрої: вантажоприйма-льні, важелі, вказівні, заспокоювачі коливань
(демпфери) і тарувальне пристосування.
Пересувні
платформові ваги (рис.13.1) є базовими для більшої групи даного обладнання.
Вантажопідйомний пристрій пересувних
ваг – майданчик, виготовлений з сталі, як правило, прямокутної форми з
елементами опор, за допомогою яких зусилля вантажу, що зважується передається
на вантажоприймальні важелі.
Важільний пристрій – це система
важелів. Вантажоприймальні важелі призначені для сприйняття ваги вантажу, що
зважується, і передачі зусилля на проміжний механізм, і далі на вказівний
пристрій ваг. Наприклад, в конструкції товарних пересувних шкальних ваг (рис. 13.1) є два
вантажоприймальних важеля, а саме, великий 4 і малий 7 підплатформений
важіль. З'єднані вони між собою сережкою.
До складу проміжного механізму входять
елементи конструкції ваг, за допомогою яких здійснюється передача зусилля на
вимірювальний пристрій. На схемі шкальних ваг до числа таких конструктивних
елементів відносяться тяга 15,
передавальний важіль 14 і
сполучна сережка 10. У більш
складних конструкціях важільних ваг, наприклад автомобільних, кількість
передавальних елементів значно зростає. Крім того, для розширення діапазону
зважування у деяких вагах передбачений кулачковий механізм, за допомогою якого
накладний важок міститься на вантажному важелі. Цей елемент також можна
віднести до проміжного механізму, так як він впливає на кінцевий результат
зважування.

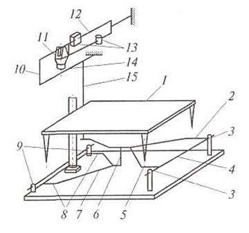
Рисунок 13.1 –
Схема товарних пересувних шкальних ваг: 1
– платформа; 2, 5 –
вагоприймальна призма великого важеля; 3
– опорна призма великого важеля; 4
– великий підплатформенний важіль; 6, 10 – сполучна сережка; 7
– малий підплатформенний важіль; 8
– вагоприймальна призма малого важеля; 9 – опорна призма малого важеля; 11 – стійка коромисла; 12
– коромисло; 13 –
незнімні важки; 14 –
передавальний важіль; 15 –
тяга, яка складається з великого передаточного важеля.
Вказівний пристрій залежно
від конструкції фіксує значення зважування маси продукту за шкалою або
циферблату ваг. На шкальних вагах масу вантажу, що зважується, визначають за
шкалами коромисла 12, на яких
для досягнення рівноваги переміщують незнімні пересувні важки 13.
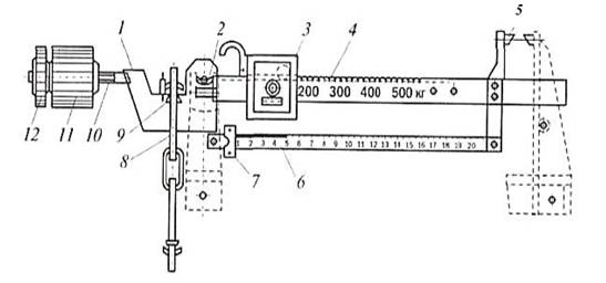
Коромисло
шкальних ваг (рис.
13.2) – це важіль першого роду 1
з опорною призмою 2 і
передавальною призмою 9, з якою
через тягу 8 пов'язана
система вантажоприймальних важелів ваг.На коромислі є дві лінійки з нанесеними
на них шкалами 4 і 6, за якими для досягнення рівноваги
переміщуються незнімні важки 3 і
7. Рівновага визначається за
положенням покажчика рівноваги 5.
При досягненні рівноваги визначення маси вантажу проводять з основної та
допоміжної шкали 4 і 6. Тарування ваг здійснюється за
допомогою вантажів 11 і 12, які переміщуються по гвинтовій
рейці 10.
В вагах з
рівноважками є тримач рівно важок. Маса
рівноважок, які розміщуються на тримачі різноважок , в 100 раз менша від
позначеного на них номінального значення. Для точного зважування
використовується нанесена на коромисло шкала з невеликою пересувною гирею.
В циферблатних
вагах в якості пристрою відрахування замість коромисла використовується циферблатний
пристрій, а важільна система така ж, як у шкалі ваг.

Рисунок 13.2 –
Коромисло шкальних ваг: 1 – коромисло;
2, 9 – призми, опорна та
передаточна; 3, 7 –
незнімні, пересувні важки; 4 –
основна шкала; 5 –
вказівник рівноваги; 6 –
допоміжна шкала; 8 –
тяга; 10 – гвинтова
рейка; 11, 12 – тарувальні
вантажі.
Принцип дії електронних ваг полягає у вимірюванні сили, що виникає під час
навантаження вантажоприймальної платформи і дії на первинний датчик, за
допомогою перетворення змін, наприклад деформації або частоти коливань пружного
елемента, в пропорційний вихідний електричний сигнал. Далі за допомогою
аналого-цифрового перетворювача електричний сигнал виводиться на дисплей
(індикатор).
Для правильної
роботи ваг їх необхідно ставити на тверду основу за рівнем. Стаціонарні
платформові ваги встановлюються на
фундаменті так, щоб платформа
знаходилась на рівні підлоги приміщення, в якому вони змонтовані.
3. Технологічні
ваги.
На харчових
підприємствах для зважування сипких матеріалів найчастіше застосовується в
основному безперервно діючі конвеєрні ваги.
Конвеєрні ваги
можуть бути вмонтовані і з автономним ваговим конвеєром.
Вмонтовані
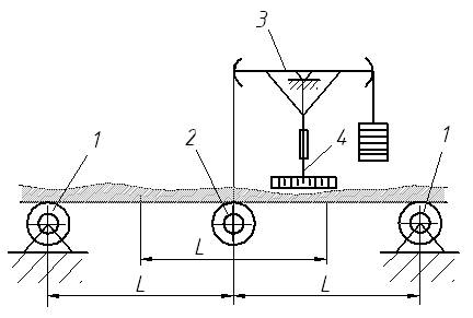
конвеєрні ваги представляють собою вагову роликову опору 2, розміщену між двома
нерухомими роликовими опорами 1 (рис. 13.3).
Якщо відстань
між опорами рівна 2l, то зусилля яке
діє на вагову роликову опору, пропорційне масі продукту на ділянці l .
З роликовою
опорою 2 зв’язаний ваговий механізм 3, стрілка 4 якого показує миттєве
значення погонного навантаження, що відповідає при постійній швидкості конвеєра
витраті продукту. Для обрахунку кількості поданого конвеєром матеріалу служать
лічильники – інтегратори.
Для встановлення
вмонтованих конвеєрних ваг вибирають прямолінійну ділянку конвеєра, при чому до
і після ваг повинно бути, як правило, не менше шести рухомих роликових опор з
прокладками між ними. Висоту прокладок беруть з таким розрахунком, щоб нахил
стрічки з кожної сторони складав 6:1000 відносно опорної поверхні каркаса.

Рисунок 13.3 – Схема вбудованих конвеєрних
ваг: 1 – нерухома
роликова опора, 2 – вагова роликова опора, 3 – ваговий механізм, 4 – стрілка.
При роботі
конвеєра з ненавантаженою стрічкою остання не повинна відриватись від четвертої
роликової опори в обидві сторони від ваг. Це досягається регулюванням натягу
стрічки. Кінцеве встановлення нерухомих роликових опор слід проводити після
того, як змонтована вантажопідйомна частина ваг. Стрічка конвеєра, на яку вставляють
ваги, повинна бути безшовною і мати рівномірну погонну масу.
Ваги з
автономним ваговим конвеєром мають більш високу точність, крім того, їх можна
застосовувати і в тих випадках, коли за умовами виробництва виключається
можливість монтажу довгих конвеєрів.