ТЕМА 10.
ПОБУТОВА ХОЛОДИЛЬНА ТЕХНІКА
Харчові
продукти при зберіганні можуть піддаватися псуванню під впливом кисню повітря і
сонячного світла, недостатньої або надмірної вологості і високої температури
навколишнього повітря. Проте основними причинами псування є мікробіологічні і
біохімічні чинники.
Одним з
ефективних і поширених засобів збереження якості продуктів при зберіганні є
пониження їх температури, при якому знижуються життєдіяльність мікроорганізмів
і активність тканинних ферментів, що уповільнює як природні процеси, що
протікають в продуктах, так і реакції, що викликаються діяльністю
мікроорганізмів. Так, зниження температури на 10 °С зменшує швидкість змін, що
відбуваються в продуктах, в 2—3 рази. Це дозволяє забезпечити тривале
зберігання харчових продуктів без значного погіршення їх якості, виключити
сезонність споживання багатьох з них, розширити райони споживання, понизити
втрати при зберіганні і транспортуванні.
Побутові
холодильники призначені для короткочасного зберігання свіжих і заморожених
продуктів, а побутові морозилки — для швидкого заморожування продуктів і
подальшого тривалого їх зберігання.
10.1
КОНСТРУКЦІЇ ХОЛОДИЛЬНИКІВ
Побутові
холодильники випускаються
одно- і двокамерні об'ємом від 60 до 500 дм3.
Холодильники
класифікуються залежно від способу отримання холоду: К — компресійні, А —
абсорбційні; від способу установки: Ш —
підлогові у вигляді шафи, С —
підлогові у вигляді столу, Н— вбудовувані
настінні, Б — блоково-вбудовувані; від ступеня
комфортності: холодильники звичайною і П — підвищеній комфортності; від числа
камер: на однокамерні і Д — двокамерні.
Холодильники
випускаються на номінальну напругу 220 В. Рівень звуку на відстані
На
дверцях низькотемпературного відділення холодильника наноситься маркування:
при
температурі не вище — 6 °С —*;
при
температурі не вище—12 °С — * *;
при
температурі не вище—18 °С — * * *.
Витрата
електроенергії холодильниками звичайної комфортності з холодильною камерою з
полімерних матеріалів в кліматичного виконання У при температурі навколишнього
повітря 32ºС,
середній температурі в холодильній камері 5 °С, температурі в
низькотемпературному відділенні —6 °С і мінімальному об'ємі
низькотемпературного відділення не повинен перевищувати наступних значень:
Для
компресійних холодильників:
-
з внутрішнім об’ємом – 60 дм3 - 1,2 кВт·год/добу;
-
-„- - 100 дм3 - 1,35 кВт·год/добу;
-
-„- 200 дм3 - 1, 72 кВт·год/добу;
-
-„- 240 дм3 - 1, 9 кВт·год/добу;
-
-„- 280 дм3 - 2, 1 кВт·год/добу;
Для
абсорбційних холодильників:
-
з внутрішнім об’ємом – 60 дм3
- 2,2 кВт·год/добу;
-
- 100 дм3 - 2,65 кВт·год/добу;
-
-„- 200 дм3 - 4, 1 кВт·год/добу;
Для
холодильників з металевою камерою допускається збільшення витрати
електроенергії до 10% вказаних вище значень. Допускається також збільшення
норми витрати електроенергії для холодильників з номінальною температурою в
низькотемпературному відділенні: -12°С —
на 5%; -18ºС — на 10%.
У
холодильниках компресійного типу застосовуються герметичні холодильні агрегати
з допустимим витоком фреону не більше
Холодильники
загальним внутрішнім об'ємом 100 дм3 і більш мають електричне
освітлення камери.
Примітка.
Під загальним об'ємом холодильної камери розуміється її геометричний об'єм,
визначуваний добутком висоти на ширину і глибину. В об'єм холодильної камери
входить також об'єм низькотемпературного (морозильного) відділення (у
однокамерних холодильниках).
Корисним
вважається весь об'єм холодильної камери, який можна використовувати для
розміщення продуктів.
Під
загальною площею полиць розуміють суму площ всіх полиць, наявних в камері,
включаючи площу всіх полиць низькотемпературного (морозильного) відділення (у
однокамерних холодильниках) і панелі дверей, а також площі ємностей і дна
камери, якщо вони можуть бути використані для укладання продуктів.
Двері
холодильника повинні відкриватися при додатку до ручки зусилля від 15 до 70 Н.
У холодильниках обов'язково передбачена можливість відкриття дверей зсередини з
тим же зусиллям.
. Запах в холодильнику не повинен перевищувати
1 балу за шкалою діючої нормативно-технічної документації.
Холодильники
підвищеної комфортності мають пристрій для автоматичного або напівавтоматичного
відтавання випарника холодильної камери з подальшим видаленням талої води. Крім
того, в холодильниках такого типу повинне бути передбачене одне або декілька
пристроїв:
для
підтримки певної вологості в холодильній камері (або в її частині);
для
охолоджування напоїв з видачею їх без відкриття дверей;
для
сигналізації режимів роботи холодильника;
для
примусового автоматичного закривання дверей при відкритті її на кут не більш
10°;
для
обмеження кута відкриття дверей, що запобігає удару її об стіну;
для
перестановки полиць по висоті з інтервалом не більше
Розроблений
і введений в дію параметричний ряд холодильників, що є обов'язковим доповненням
до діючого державного стандарту. Цей ряд побудований по величині внутрішнього
об'єму холодильника: 160, 180, 200, 220, 240, 260, 280, 300, 350 і 420 дм3.
Крім того, холодильник типу столу має об'єм 150 дм3. Ряд включає
холодильники абсорбційні (8 моделей), компресійні (17 моделей) і морозильні
камери (3 моделі).
Зовнішні
шафи холодильників виготовляють з листової сталі і мають штамповано-зварну
конструкцію. Застосовується сталевий лист завтовшки 0,7—0,9 мм, герметичність
шафи забезпечується пастою
ПВ-3 на основі хлорвінілової смоли. Поверхню шафи
фосфатують, потім наносять грунт МЧ-042, ГФ-0119 і
ін. і двошарове покриття емаллю білого кольору марок ЕП-148, МЛ-12-01, МЛ-242,
МЛ-283 і ін. Фарбують шафи в електростатичному полі. У шафах холодильників, що
мають столик сервіровки, верхню площину шафи покривають
поліефірним лаком.
У
холодильниках «Снайге-2»,
«Ладога-40», «Садко-бар», «Супутник-2» і ін. шафа
виготовлена з деревостружкової плити, покритої шпоною з дерев
твердих порід або декоративною плівкою.
У термоелектричних холодильниках
ХАТЭ-12 зовнішній корпус і кришка
виготовлені з листового полістиролу.
Металеві
внутрішні шафи із сталевого листа завтовшки 0,7—0,9 мм виготовляють методом
штампування і зварювання і емалюють гарячим способом силікатно-титановою
емаллю.
Камери у
морозилок і камери низькотемпературних відділень двокамерних холодильників
металеві — з алюмінію або неіржавіючої сталі.
Сталеві
камери довговічніші, гігієнічніші, але вони збільшують масу холодильника і
вимагають особливих способів кріплення до зовнішнього корпусу для найбільш
ефективної теплоізоляції від навколишнього середовища.
До
переваг пластмасових камер відносяться краща технологічність виготовлення,
малий коефіцієнт теплопровідності, менша маса. Проте такі камери піддаються
швидкому старінню, з часом втрачають товарний вигляд, менш довговічні і менш
міцні в порівнянні з металевими.
Полиці холодильника
із сталевого дроту діаметром 3,6 і
Судини
для фруктів, м'яса і інших продуктів виготовлені з полістиролу або поліетилену
литвом під тиском.
Двері
зовнішніх шаф холодильників виготовляють із сталевого листа завтовшки
Двері
холодильника включають зовнішня і внутрішня панелі, теплоізоляцію між ними і
ущільнювач.
Двері
холодильника повинні щільно прилягати до отвору, інакше тепле повітря
проникатиме всередину камери. Для забезпечення герметичності внутрішню сторону
дверей по всьому периметру обкантовують магнітним ущільнювачем різного профілю.
У холодильниках старих випусків застосовувалися гумові ущільнювачі балонного
типу.
Двері в
закритому положенні утримуються за допомогою механічних (частіше типу курка)
або магнітних затворів. Магнітні затвори найбільш поширені. Вони дають
можливість розташовувати ручку на різній висоті дверей, виходячи з вимог
зручності і технічної естетики. Заміна дверних петель спеціальними
навішуваннями, встановленими зверху і знизу двері, зменшує габарити
холодильника при відкритті дверей, що важливо при установці холодильників в
кутку приміщень.
Теплоізоляцію
застосовують для захисту холодильної камери від проникнення в неї тепла
навколишнього середовища. Її прокладають між стінками, верхи і дном холодильної
шафи і холодильної камери, а також під внутрішньою панеллю дверей. Якість шафи
багато в чому визначається властивостями теплоізоляції. Від теплоізоляційних
матеріалів потрібний, щоб вони володіли низьким коефіцієнтом теплопровідності,
невеликою об'ємною масою, малою гігроскопічністю, вологостійкістю, були
вогнестійкими, довговічними, дешевими, біостійкими,
не видавали запаху, а також були механічно міцними.
Для
теплоізоляції шафи і дверей холодильників застосовують штапельне скловолокно
МТ-35, супертонке скловолокно СТВ, мінеральну вату,
пінополістирол ПСВ і пенополиуретан ППУ-309.
Залежно
від якості теплоізоляційних матеріалів товщина ізоляції в стінках шафи
холодильника коливається від 30 до
Раніше в
холодильниках застосовувалися механічні і секторні затвори курків дверей. У
затворах курків запірною частиною служить ролик, закріплений на важелі спуску.
Переміщення важеля з роликом при відкритті і закриванні дверей відбувається під
дією перекидної пружини, яка фіксує важіль спуску як у відкритому, так і в
закритому положенні. При закриванні і відкритті дверей холодильника
відбувається перекидання пружини важелем з одного крайнього положення в інше.
Секторний
затвор дозволяє відкривати двері без дії на нього ручкою, яка жорстко
закріплена на дверях. При відкритті і закриванні дверей пружина, що є
перекидна, перекидає запірний сектор через важіль. Запірні важелі, як правило,
входять в зачеплення з собачкою, закріпленою в шафі. Положення собачки можна
регулювати, тобто переміщати її для того, щоб було забезпечено надійне
зачеплення при закриванні дверей.
Як
ущільнювачі в холодильниках із затворами куркового типу і секторних
застосовують харчову гуму балонного типу.
Магнітні затвори є магнітною вставкою,
поміщеною в профіль ущільнювача на внутрішній панелі дверей. Профіль
ущільнювача виготовлений з пластика або
полівінілхлориду.
При закриванні дверей ущільнювач щільно притягується до металевого корпусу.
Початковою сировиною для отримання магнітних матеріалів служить ферит барію в
суміші з каучуками або іншими смолами. Виготовлені
стрічки еластичного магніту намагнічують в магнітному полі. Намагнічені стрічки
володіють залишковою магнітною індукцією 0,11—0,12 Т.
Таким
чином, в холодильниках з механічним затвором щільне закривання дверей
досягається завдяки стисненню профілю гумового ущільнювача. У холодильниках з
магнітним затвором ущільнювач притягується до шафи силою тяжіння магніту, при
цьому профіль ущільнювача розтягується.
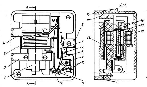
Манометричні
датчики-реле температури або терморегулятори призначені для підтримки заданої
температури в холодильній або низькотемпературній камері побутового
холодильника. Застосовуються датчики-реле різних типів і модифікацій:
АРТ-2, Т-110,
ТРХ (Т-110),
Г-111, Т-130, Т-132, Т-144, Т-145 і ін.
Датчики-реле
температури АРТ-2
мають велике розповсюдження. Їх випускають п'яти модифікацій. Вони призначені
для компресійних побутових холодильників.
Прилади
АРТ-2А
призначені для побутових холодильників абсорбційного типу. Їх випускають двох
модифікацій.
Маса
приладу
Довжина
сполучного капіляра в приладі
АРТ-2 рівна
Довжина
капіляра, що контактує з випарником, повинна бути не менше

Рис. 39.
Схема роботи датчика-реле температури
АРТ-2:
1 — шток;
2 — перекидна пружина; 3, 9 — контакти; 4 — пружина; 5 — дно
сильфону; 6 —
капілярна трубка; 7-—сильфон; 8 — важіль; 10 — пружина; 11, 14— гвинти; 12 —
тяга; 13 — важіль
При
підвищенні температури в капілярній трубці 6 (Рис. 39), притиснутою до стінки
випарника, тиск фреону-12, що знаходиться в трубці сильфону, збільшується і
сильфон 7 розтягується. Дно 5
сильфону 7 стискає пружину 4, а виступ на дні повертає важіль
8 разом з тягою 12. Тяга 12, натискаючи на гвинт 14, повертатиме важіль 13
навколо осі О2 проти годинникової стрілки. Сила Р, що виникає під
дією перекидної пружини 2, має одну з складових Р яка в положенні А направлена
вгору. Під час переходу точки Оз в положення О'з ця складова буде рівна 0, а при подальшому русі важеля
13 складова Р' змінить напрям на зворотне і контакти 3 різко опустяться і
замкнуть електричний ланцюг (положення Б).
При
пониженні температури в капілярній трубці взаємодія частин приладу відбувається
в зворотному порядку під дією
сильфона 7 і пружини 10.
Температура
включення і відключення регулюється натягненням пружини за допомогою штока 1,
гвинта 11 і гайки.
Аналогічно
датчику-реле
АРТ-2
діють прилади типа Х-111 чотирьох модифікацій на номінальну напругу 220 В і
номінальний струм 6 А.
Датчики-реле
температури Т-130 встановлюють в двокамерних побутових холодильниках. Відмітною
особливістю цього приладу є замикання контактів
при температурі 4±1,3°С в холодильній камері.
Прилад
напівавтоматичного управління відтавання випарника типа ТО-11. Цей прилад
призначений для побутових компресійних холодильників (Рис. 40).
Основні
температурні параметри приладу: спрацьовування приладу на включення режиму відтавання (контакти
1—3 розмикаються, 2—3
замикаються) примусове
(кнопкою) при температурі
теплочутливої частини
термосистеми не вище
мінус 3 °С;
Спрацьовування
приладу на відключення режиму відтавання (контакти 1—3 замикаються, 2—3
розмикаються)
автоматичне при
температурі
термочутливої частини
термосистеми
від 4 до 8 °С.

Рис. 40.
Прилад напівавтоматичного управління відтаванням ТО-11: а — конструкція: 1 —
термосистема;
2— гвинт; 3— колодки; 4 — гвинт
настройки; 5 — пружина настройки точки спрацьовування; 6—кнопка; 7 —
гайка; 8 — кожух; 9 — важіль
двоплечовий;
10 — важіль; 11— пружина; 12— ось; 13 — корпус; 14 — важіль різкого розмикання
контактів; б — схема включення
приладу
Прилад
працює таким чином. При натисненні на кнопку 6 (див. Рис. 40, а) важіль 10 за
допомогою пружини 11 приводить в дію важіль 14, відбувається різке розмикання
контактів 1—3 (див. Рис. 40,6) і замикання контактів 2—3, які замикають
електричний ланцюг підігріву випарника. Режим відтавання включається при
температурі кінця капілярної трубки
термочутливого
елементу не вище мінус 3 °С.
У міру
видалення снігової «шуби» з поверхні випарника, а отже, і підвищення
температури до 4—8 °С тиск всередині термосистеми
зростає, термосистема 1 (див. Рис. 40, а) повертає
важіль 9 проти годинникової стрілки, долаючи зусилля пружини 5 до тих пір, поки
не відбудеться різке замикання контактів 1—3 (див. Рис. 40,6) і розмикання
контактів 2—3.
Пристрій
для випаровування талої води при відтаванні випарників побутових холодильників.
Побутові холодильники з одним випарником, що працює на низькотемпературне
відділення і холодильну камеру, набули великого поширення. У цих холодильниках
на поверхні випарника, відкритої для доступу вологи від продуктів, що
зберігаються, відбувається інтенсивне наморожування
інею. Шар інею завтовшки більше
Робота
холодильника без утворення снігової шуби або з періодичним відтаванням
випарника і видаленням талої води є одним з показників комфортності побутового
холодильника.
Роботи по
удосконаленню способу відтавання випарників до побутових холодильниках з одним
випарником ведуться в двох напрямах. Перший напрям — створюються пристрої
активного нагріву випарника, що включаються через реле часу напівавтомат або
автоматично. Другий напрям відрізняється створенням більш довершених
конструкцій холодильників, в яких випарник морозильного відділення захищений
від попадання вологи, а випарник холодильної камери звільняється від випадної
вологи протягом кожного циклу роботи холодильника. У всіх варіантах конструкцій
холодильників воду, що збирається від випарника, необхідно видаляти (наприклад,
методом випаровування). Запропоновано декілька пристроїв, що використовують
нагріті частини холодильного агрегату. Так, в деяких моделях холодильників під
випарником розміщений піддон з отвором для стоку води через спеціальну лійку і
трубку в судини, каскадні розташовані на конденсаторі. Між двома циклами
відтавання тала вода віддаляється з резервуарів випарника. У деяких моделях
холодильників талу воду відводять по трубопроводу в піддон, розташований під
холодильником біля
мотор-компресора.
У
останніх моделях холодильників вода з випарника по трубопроводу поступає на
верхню кришку кожуха кулісного компресора, жорстко встановленого на реле. На
кришці є відкритий резервуар, з якого вода випаровується під дією тепла працюючого
мотор-компресора. Це найбільш ефективний спосіб,
оскільки окрім випаровування талої води відбувається охолоджування кожуха
компресора і зволоження повітря в приміщенні.
Пускозахисне
реле. Для запуску електродвигуна і захисту його обмоток від перевантажень в
побутових холодильниках застосовують комбіновані пускозахисні
реле типа ДХР, РТП, РТК-Х, РПЗ, РТК-1-00 і ін.
Пускозахисне
реле РТК-1-00
випускається шести виконань на напругу 220 В.
Реле
змонтоване на підставці 14 (Рис. 41). Це реле електромагнітного (соленоідного)
типу з подвійним розривом контактів. У контактному пристрої 13 знаходиться
сердечник, що вільно переміщується на стрижні 18. У верхній частині стрижня є
планка 17 з контактами 16, що підтискається пружиною. При включенні двигуна сердечник
піднімається разом із стрижнем, підтягаючи планку, яка замикає нерухомі
контакти. Після того, як збільшується частота обертання ротора мотор-компрессора,
із-за чого зменшиться магнітне поле в котушці, сердечник відпадає, захоплюючи
за собою планку, і контакти 16 розімкнуться.
У
захисному реле біметалічна пластина 6 одним кінцем сполучена з дротом котушки
пускового реле, а іншим через упор — з утримувачем контактів 8. На протилежному
кінці утримувача закріплений пересувний контакт 11, нормально замкнутий
нерухомим контактом 12. Біля біметалічної пластини розташована ніхромова
спіраль нагрівального пристрою 7, яка включена послідовно в ланцюг пускової
обмотки. Одним кінцем спіраль сполучена з контактом 16 пускового реле, а іншим
з біметалічною пластиною. У разі підвищення сили струму в ланцюзі робочої
обмотки електродвигуна біметалічна пластина деформується від тепла, що
виділяється при проходженні через неї струму. При підвищенні сили струму в
ланцюзі пускової обмотки біметалічна пластина деформується під дією тепла, що
виділяється нагрівачем. При цьому контакти 11 і 12 розмикаються. При
охолодженні пластина займає первинне положення і контакти знов замикаються.
Параметри захисного реле регулюються гвинтами 10.

Рис. 41.
Реле РТК-1:
1 —
вставка; 2, 4, 5,9 — контактні стійки; 3 — котушка; 6 — біметалічна пластина; 7
— нагрівальний пристрій; 8 — утримувач контактів; 10 — регулювальний гвинт; 11
— пересувний контакт; 12—нерухомий контакт; 13 — контактний пристрій; 14 —
підставка; 15 — кришка; 16 — контакти пускового реле; 17 — планка; 18 —
стрижень.
10.2.
ХОЛОДИЛЬНИКИ КОМПРЕСІЙНОГО ТИПУ
Сучасний
побутовий компресійний холодильник є конструкцією, що складається з
холодильного агрегату, шафи, елементів електроустаткування і автоматики. В
якості холодильного агента застосовують
R-12 (фреон –
12) або
R-22 (фреон – 22). В останні роки в більшості випадків
застосовують холодильні агенти, що не руйнують озонового шару, а саме
R-600А
(ізобутан) та інші.
Побутові
холодильники випускаються різних моделей. Переважають однокамерні холодильники
з низькотемпературним (морозильним) відділенням, розташованим у верхній частині
внутрішньої шафи. Двохдверні і двокамерні холодильники набувають всього
більшого поширення. У першому випадку холодильник має один загальний випарник на
два відділення (холодильне і морозильне), в другому—два
випарника (один для холодильного, інший для охолоджування морозильного
відділення холодильника). Розміри морозильного відділення двокамерного
холодильника значно більше, чим однокамерного.
Схеми холодильних
агрегатів міняється мало. Основною відмінністю нових агрегатів є застосування
випарників з двома послідовними змійовиками, один з яких охолоджує морозильне
(низькотемпературне), а інший холодильне (високотемпературне) відділення. У
деяких
двокамерних
холодильниках при незмінній схемі агрегату випарник з вільним рухом повітря
замінений охолоджувачем повітря. Холодильний агент (холодоагент) —
робоча речовина холодильних машин, що служить для відведення тепла від
охолоджуваного тіла і передачі сприйнятого тепла охолоджуючому середовищу.
Холодоагент є рідка речовина, що при низьких температурах може переходити
в пароподібний стан. Холодоагент повинен відрізнятися помірним тиском при
температурі кипіння і конденсації, малим питомим об'ємом пари, малою теплоємністю
рідини і високим коефіцієнтом теплопровідності. Крім того, холодоагент повинен
бути нешкідливим для організму людини, не викликати корозії металу холодильної
машини, бути інертним до мастила, негорючим і вибухобезпечним. Основні
холодильні агенти — фреони і аміак.
Фреони —
фторхлорпохідні
простих аліфатичних вуглеводнів (головним чином метану). Широко застосовуються
як холодоагенти в
холодильних установках на судах, в залізничних вагонах, в побутових
холодильниках і т.д. Фреони відрізняються винятковою хімічною стійкістю
(інертністю), особливо за відсутності вологи; вони не діють на більшість
металів (до температури 220 °С), стійкі до окислювачів, кислот і т. п.;
практично не токсичні. Найбільше
розповсюдження в побутових
холодильниках має хладон (фреон)-12; він утворюється при дії трифтористої сурми на чотирихлористий
вуглець. У країнах СНД згідно Державному стандарту фреон називається
хладоном.
Хладон-12-діфтордіхлорметан CF2Cl2
має символічне позначення R12. Діфтордіхлорметан—безбарвний
газ із слабким запахом чотирихлористого вуглецю,
зріджений під тиском. Молекулярна маса 120,93. Температура кипіння -29,8
°С. Хладон (фреон)-22 (R22)
застосовується у вітчизняних кондиціонерах повітря. Його формула CHF2Cl, температура кипіння -40,8 °С;
На
сьогодні більшість холодильних агрегатів заповнюють фреонами, які не містять
компонентів, шкідливих для озонового шару планети – фтору, хлору і брому.
Найбільш поширеним холодильним агентом стає ізобутан (R600
А).
Холодильний
агрегат побутового холодильника складається з
мотор-компресора,
випарника, конденсатора, системи трубопроводів і фільтру-осушувача.
У
найбільш поширених побутових холодильниках компресор встановлений знизу, під
шафою, конденсатор — на задній стінці, а випарник утворює невелике морозильне
відділення у верхній частині камери. Іноді застосовується інша
компоновка:
компресор встановлюють на шафі, горизонтальний і частково похилий конденсатор —
над ним, а випарник, як і у попередньому випадку, - у верхній частині камери,
тобто під компресором.
У
підлогових холодильниках розрізняють три типи агрегатів: агрегати з випарником,
який встановлюють через люк задньої стінки шафи; агрегати з випарником, який
вмонтовують через дверний отвір; незнімні холодильні агрегати, встановлені в
шафу і залиті пенополіуретаном.
У
побутових холодильниках вітчизняного виробництва застосовують одноциліндрові
поршневі не прямоточні компресори, трьох типів: ДХ, ФГ і ХКВ, що працюють на
хладоне-12.
Компресор
ДХ має кривошипний-шатунний механізм, горизонтальний вал з частотою обертання
1500 об/хв і зовнішню підвіску, а компресори ФГ і ХКВ
— кривошипний-кулісний механізм з вертикальним валом з частотою обертання 3000 об/хв і внутрішню підвіску.
Пуск і
захист електродвигуна компресора здійснюють за допомогою пускозахисного
реле.
Технічна
характеристика компресорів побутових холодильників.
Компресор
і електродвигун агрегату сполучені загальним валом і поміщені в герметичний
кожух.
Компресор
забезпечує циркуляцію холодильного агента в системі агрегату. Він визначає
працездатність холодильника, його економічність і продуктивність. У побутових
холодильниках встановлений одноциліндровий компресор поршневого типу, який
приводиться в рух електродвигуном.

Рис. 42.
Компресор з електродвигуном:
1 —
кожух; 2—кільце запірне переднього підшипника; 3 — штифт; 4— передній
підшипник; 5 — гвинт кріплення компресора; 6 — колінчастий вал; 7, 32 —
пружинні шайби; 8 — шайба; 9 — корпус компресора; 10 — всмоктуючий
клапан; 11 — гвинт кріплення головки циліндра; 12— головки циліндра з
глушниками; 13 — фланцева гайка; 14, 38—кришки кожуха; 15 — голка; 16— пробка штуцера заповнення; 17 —
електродвигун; 18 — ротор електродвигуна; 19 — редукційний клапан; 20.— пружина
редукційного клапана; 21—заглушка; 22 — плунжер масляного насоса; 23 — пружини
плунжера; 24 — заглушка масляного насоса; 25 — поршень; 26 — шатун; 27 — кришка
нижньої головки шатуна; 28 — пружинна шайба; 29 — болт кріплення кришки; 30 —
приймач масляного насоса; 31 — кришка приймача масляного насоса; 33 — гвинт
кріплення приймача; 34 — пружина клину; 35 — клин поршневого пальця; 36 —
фіксатор поршневого пальця; 37 — поршневий палець; 39 — захисна шайба
прохідного контакту.
Компресор
з кривошипно-шатунним механізмом має чавунний корпус 9
(Рис. 42). У верхній частині корпусу знаходиться циліндр, по обидві сторони
якого внизу розташовані підшипники колінчастого валу. Усередині циліндра
розташований сталевий поршень 25, який за допомогою чавунного шатуна 26
сполучений з шийкою колінчастого валу 6. Кришка 27 нижньої головки шатуна
знімна, без вкладишів. У шатуні закріплений поршневий палець 37. Фіксатор 36
поршневого пальця забезпечує надійне з'єднання пальця з верхньою головкою
шатуна і безшумність в роботі. У верхній частині поршня є дві канавки, яки
заповнюються при роботі маслом і забезпечують компресію в циліндрі. До
верхнього торця циліндра чотирма гвинтами прикручена головка 12, зібрана з
клапанним пристроєм i глушниками. Головка циліндра в зборі з глушниками
складається з нагнітального клапана, сідла клапана і глушника нагнітання і всмоктування.
Корпус головки сталевої; він складається з двох камер. Верхня камера
всмоктування з двома всмоктуючими трубками і
глушником може з'єднуватися з циліндром через отвори, розташовані по колу в дні
камери, закриті знизу всмоктуючим клапаном. Нижня камера
нагнітання з нагнітальною трубкою і глушником може з'єднуватися циліндром через
отвори, розташовані по колу в сідлі і закриті нагнітальним клапаном.
Сідло
запресоване в корпус головки і разом з
нагнітальним клапаном
склепано в центрі з корпусом. Обидва клапани пластинкові, сталеві.
Клапани
компресора працюють таким чином. При русі поршня вниз всмоктуючий
клапан, притиснутий по колу до кромки сідла, відходить від неї унаслідок
розрідження, що утворюється в циліндрі. Пари
хладону з кожуха компресора
через всмоктуючі трубки і глушник потрапляють, в
камеру всмоктування, звідки через отвори в корпусі головки поступають в
циліндр. При зворотному русі поршня всмоктуючий
клапан перешкоджає виходу
хладону в камеру нагнітання. Стислі пари
хладону через
отвори в сідлі, підвівши по всьому колу нагнітальний клапан, поступають в
камеру нагнітання, а звідти через нагнітальний патрубок і глушник в нагнітальну
трубку. Мастило деталей компресора, що труться, здійснюється рефрижераторним
маслом, залитим в кожух компресора за допомогою ротаційного насоса,
розташованого в корпусі компресора. Кожух є циліндр, закритий з обох боків
наглухо привареними кришками. Усередині кожуха є кільцевий виступ, по одну
сторону якого запресований компресор, по іншу — статор електродвигуна.
Корпус
компресора і статор електродвигуна скріпляють між собою чотирма стягнутими
болтами. У одну з кришок (з боку статора) упаяні прохідні контакти, через які
подається напруга електродвигуну, а також штуцер (або трубка) для заповнення
агрегату маслом і хладоном. Для зменшення шуму під час роботи холодильника
кожух мотор-компресора підвішений на пружинах до рами
холодильного агрегату.
Кривошипно-шатунний
компресор морально застарілий і замінюється високо оборотним (частота обертання
3000 об/хв) компресором кривошипно-кулісного типу з
внутрішньою підвіскою. До достоїнств цих компресорів слід віднести меншу масу і
габарити, кращі показники по теплоенергетичних характеристиках, низький рівень
звуку і вібрацій.
Кривошипний-кулісний
мотор-компресор з вертикальним розташуванням валу підвішений на пружинах 23
(Рис. 43) усередині герметичного кожуха 1. Залежно від конструкції підвіски
пружини працюють на стиснення або розтягування і служать для гасіння коливань,
що виникають при роботі компресора. Пружини кріпляться на кронштейнах, що
знаходяться у верхній частині кожуха, і угвинчуються в отвори спеціальних
приливів на корпусі 6. Корпус компресора у свою чергу приливами спирається на
пружини.
Електродвигун
однофазний, асинхронний, з пусковою
обмоткою. Для пуску двигуна і захисту від перевантажень застосовують пускозахисне
реле, сполучене з двигуном за допомогою колодки затискачів, закріпленій на
прохідних контактах пластинчастою скобою. Реле встановлене па рамі.

Рис. 43.
Кулісний мотор-компресор:
1 — кожух
в зборі; 2 — ротор; 3 — статор; 4, 5, 9 — гвинти; 6 — корпус компресора; 7 —
кришка кожуха; 8 — штифти; 10 —головка циліндра; 11—прокладка клапана
нагнітання; 12 — нагнітальний клапан; 13 — сідло клапанів; 14— всмоктуючий клапан; 15 — прокладки всмоктуючого
клапана; 16, 17 — циліндри; 18 — поршень; 19 — обойма; 20 — повзун; 21 — вал;
22 — трубка; 23 — буферна пружина; 24 — шпилька
Ротор 2
електродвигуна поміщений безпосередньо на валу 21 компресора. Статор 3
прикріплений до корпусу 6
компресора
чотирма гвинтами 4. Статор набраний з штампованих листів електротехнічної
сталі. Обмотка статора двополюсна, з чотирма котушками. Корпус компресора
чавунний, одночасно служить опорою валу. Циліндр 16 відлитий разом з
глушниками. Він встановлюється на корпусі
мотор-компресора
на чотирьох штифтах 8 і кріпиться двома гвинтами. Противага відлита разом з
кривошипним валом. Для зменшення інерційних мас поршень 18 виготовлений
порожнистим з листової сталі. Обойма 19 згорнута з листової сталі. Поршень
сполучений з нею паянням мідистими припоями. Повзун куліси 20 чавунний. На
торці циліндра встановлена прокладка 15 всмоктуючого
клапана і сам клапан 14 на двох настановних циліндрових штифтах 8. Нагнітальний
клапан 12 разом з обмежувачем кріпиться до сідла заклепками. Клапани — пружинні
пластинки із високо вуглецевої сталі,
термічно обробленої стрічки — встановлені на штифти 8. На тих же штифтах
встановлені скоби, які обмежують підйом клапана. Висота підйому всмоктуючого клапана 0,5±
Діаметр всмоктуючого отвору 5
мм, нагнітаючого —
Сідло 13
клапанів і головка 10 циліндра відлиті з чавуну. Вал 21 ротора 2 обертається в
підшипнику в корпусі компресора. Кожух 1 мотор-компресора виготовлений з
листової сталі.
Частини
компресора, що труться, змащуються маслом під дією відцентрової сили через
косий отвір в нижньому торці корінної шийки валу. При обертанні валу 21 масло,
потрапляючи в похилий канал, піднімається вгору і потрапляє до пари, що
треться, вал 21 — корпус 6 компресора. Далі по гвинтовій
канавці масло
поступає до пари вал 21 — повзун 20. Пара поршень 18 — циліндр 16 змащується
розбризкуванням мастила.
Пари
хладону всмоктуються з кожуха в циліндр 16 через глушник всмоктування і
нагнітаються через глушник нагнітання в трубку 22. Змійовик нагнітальної трубки
22 сприяє гасінню коливань
мотор-компресора, корпус
якого спирається на три пружини 23. Пружини оберігає від випадання шпилька 24.
Кожух закритий зверху кришкою 7, привареною по
фланцю і такою, що обмежує переміщення мотор-компресора вгору.
Електродвигун.
Холодильні агрегати випускаються на одну
напругу— 127 або
220 В. Електродвигун холодильника в нормальних умовах працює циклічно, тобто
періодично включається і вимикається через певні проміжки часу. Відношення
частини циклу, протягом якої електродвигун працює, до загальної тривалості
циклу називають коефіцієнтом робочого часу. Чим більше коефіцієнт робочого часу
(при постійній температурі в приміщенні, тим нижче температура в холодильній
камері і тим більше витрата електроенергії. Певну циклічність в роботі
холодильника (коефіцієнт робочого часу) забезпечує датчик-реле температури —
прилад, регулюючий температуру в шафі холодильника.
Для
приводу герметичних компресорів і роботи в середовищі
хладона і
рефрижераторного масла призначаються
однофазні
короткозамкнуті асинхронні електродвигуни. Вони
випускаються на номінальну напругу 127 або 220 В з номінальною потужністю 60,
90, 120 Вт.
Частота обертання 1500 і 3000 об/хв.
Електродвигуни
працюють при відхиленнях напруги від номінального значення в межах —15%.
У
холодильних агрегатах застосовуються електродвигуни типа
ДХМ, ЕД, ЕДП і ін.
Конденсатор.
Конденсатор холодильного агрегату є теплообмінним апаратом, в якому холодоагент віддає
тепло навколишньому середовищу. Пари
холодоагенту,
охолоджуючись до температури конденсації, переходять в рідкий стан. Конденсатор
є трубопровід, зігнутий у вигляді змійовика, всередину якого поступають пари
хладону.
Змійовик охолоджується зовні навколишнім повітрям. Зовнішня поверхня змійовика
зазвичай недостатня для відведення тепла повітрям, тому поверхню змійовика
збільшують за рахунок великої кількості ребер, кріпленням змійовика до
металевого листа і іншими способами.
Широкого
поширення набули конденсатори конвективного
охолоджування з дротяними ребрами (Рис. 44, а). Конденсатор є змійовик з мідної
трубки з привареними до неї з обох боків (один проти одного) ребрами із
сталевого дроту діаметром 1,2—2 мм. Ребра з дроту приварюють до трубки точковим
електрозварюванням або припаюють міддю. У холодильниках старих моделей застосовувалися
листотрубчасті конденсатори. Листотрубчатий щитовий конденсатор (Рис. 44, б) складається
із змійовика, який приварений, припаяний або щільно притиснутий до металевого
листа, що виконує роль суцільного ребра. У листі іноді роблять прорізи за типом
жалюзі. Це збільшує тепловіддачу поверхні за рахунок торців відігнутих
металевих язичків і циркуляції повітря. Діаметр труб 4,75—8 мм, крок 35—60 мм,
товщина листа 0,5—1 мм.

Рис.44 Конденсатори
побутових холодильників
Труби
змійовика на листі зазвичай розташовують горизонтально. У деяких листотрубчастих
конденсаторах їх розташовують вертикально, щоб останні витки трубопроводу не
нагрівалися від кожуха компресора. Довжина трубопроводу конденсатора складає
6500—14
Лістотрубчатий
прокатний зварний конденсатор (Рис. 44, в) виготовлений з алюмінієвого листа
завтовшки
Істотним
недоліком конденсатора цього типу є його вихід з ладу при засміченні капілярної
трубки. Відбувається здуття листа алюмінію і його розрив.
Випарник.
У випарнику відбувається передача тепла від охолоджуваного об'єкту до агента,
який внаслідок цього випаровується (кипіть). За принципом дії випарники
аналогічні конденсаторам, але відрізняються тим, що в конденсаторі холодильний
агент віддає тепло навколишньому середовищу, а у випарниках поглинає його з
охолоджуваного середовища.
У
однокамерних холодильниках випарник призначений для зберігання заморожених
продуктів, тому його роблять у вигляді полиці. Для підтримки низької
температури випарник закривають спереду дверцями, а ззаду стінкою. Такий
випарник є низькотемпературним (морозильним) відділенням.
Випарники
мають канали різної конфігурації і відрізняються способом кріплення в
холодильній камері. У деяких холодильних агрегатах випарники відрізняються тим,
що система каналів у них має замість двох вихідних отворів для приєднання
капілярної і всмоктуючої трубки лише одне. У таких
агрегатів капілярна трубка проходить усередині всмоктую чого патрубка. Кінець всмоктуючої трубки приварюють в торці вихідного каналу
випарника, а капілярна трубка проходить через вихідний канал у вхідний, де її
обжимають, щоб не було перетікання хладона з вхідного каналу у вихідний.
Для
захисту алюмінієвих випарників від корозії їх анодують
в сірчанокислих або хромокислих ваннах, отримуючи
захисну плівку товщиною 10—12
мкм. Для збереження анодної плівки випарник додатково
покривають лаком УВЛ-3 або епоксидною смолою.
У
холодильниках ранніх випусків («ЗІЛ-Москва»,
«Саратов-2» і ін.) застосовувалися сталеві випарники з двох зварених листів
неіржавіючої сталі. Сталеві випарники відрізняються відносно невеликими
розмірами і великою міцністю.
Капілярна
трубка. Капілярна трубка служить регулюючим пристроєм для подачі рідкого холодоагента у випарник.
Вона є трубопроводом з міді маркі ДКРХТ з внутрішнім
діаметром 0,5—0,8 і завдовжки 2800—6000 мм (залежно від моделі холодильника),
що сполучає сторони високого і низького тиску в системі холодильного агрегату.
Маючи невелику прохідність (5,6— 8,5 л/хв), капілярна
трубка є дроселем і створює перепад тиску між конденсатором і випарником і
подає у випарник певну кількість рідкого хладона.
До
переваг капілярних трубок в порівнянні з іншими пристроями (наприклад, з
терморегулюючими вентилями), що дроселюють, слід віднести простоту конструкції,
відсутність рухомих частин і надійність в роботі. Крім того, капілярна трубка,
сполучаючи між собою сторони нагнітання і всмоктування, зрівнює тиск в системі
агрегату при його зупинках. Це знижує
протитиск
на поршень компресора у момент запуску і дозволяє застосовувати електродвигун
компресора з відносно невеликим пусковим моментом.
Недоліком
капілярної трубки є неможливість необхідного регулювання подачі
хладона у
випарник за різних температурних умов експлуатації холодильника. Враховуючи це,
прохідність капілярної трубки встановлюють виходячи з нормальних
експлуатаційних умов холодильника. Для поліпшення теплообміну між холодними
парами і теплим рідким холодоагентом, які рухаються протитечією, капілярна і відсмоктуюча трубки спаяні між собою на великій ділянці. У
деяких холодильних агрегатах капілярну трубку намотують на ту, що відсмоктує
пари агенту або поміщають усередині неї.
Фільтр.
Фільтр встановлюють біля входу в капілярну трубку для оберігання її від
засмічення твердими частинками. Фільтри виготовляють з дрібних латунних сіток
або металокераміки. Металокерамічний фільтр складається з бронзових кульок
діаметром
Адсорбенти.
Для очищення робочого середовища фреонових холодильних машин від вологи і
кислот застосовують адсорбенти різних марок. Ними заповнюють фільтри-осушувачі.
Ефективними
поглинаючими вологу матеріалами є синтетичні цеоліти NaA-2МШ і NaA-2KT. Їх
випускають у вигляді пігулок або кульок розміром 1,5—3,5 мм. В порівнянні з
мінеральними адсорбентами (силікагелем, алюмогелем і ін.) цеоліти краще
поглинають воду з холодильного агента. Переваги цеоліту в порівнянні з
силікагелем
стають ще значнішими за наявності масла в холодильному агентові.
Синтетичний
цеоліт призначений для заповнення осушних патронів побутових холодильників, що
працюють на хладоне-12.
Він активно адсорбує сліди води і майже поглинає холодильні агенти і
змащувальні масла.

Рис. 45.
Фільтр-осушний патрон:
а — без
металокераміки; б — з металокерамікою: 1 — обойма сітки фільтру; 2 — корпус; 3
— адсорбент; 4 — сітка фільтру; 5 — трубка конденсатора; 6 -— корпус; 7 —
фільтр; 8 — капілярна трубка
Осушний
патрон. Служить для поглинання вологи з
холодоагента і
оберігання регулюючого пристрою (капілярної трубки) від замерзання в ній води.
Корпус 2 (Рис. 45, а) осушного патрону складається з металевої трубки завдовжки
105—135 мм і діаметром 12—18 мм з витягнутими кінцями, в
отвори
яких впаюють відповідні трубопроводи холодильного агрегату. Усередині корпусу
патрона поміщають 10—18 г адсорбенту 3 (синтетичного цеоліту).Адсорбенти мають
просту кристалічну структуру. Найдрібніші пори сполучені вузькими каналами.
Завдяки такій структурі виникає виборча адсорбція, тобто властивість
молекулярного сита, коли в порожнині пір проникають лише ті молекули, розмір
яких менше діаметру каналів. Тому вся активна поверхня і об'єм пір
використовуються для утримання молекул води і не засмічуються іншими речовинами
з крупнішими молекулами (зокрема,
хладоном і маслом).
Корпус
осушного патрона залежно від місця установки його в агрегаті виготовляють із
сталевих, мідних або алюмінієвих трубок. Осушні патрони з
силікагелем
зазвичай ставлять в холодильній зоні агрегату — випарнику. Осушні патрони з
цеолітом встановлюють на стороні нагнітання перед входом в капілярну трубку,
тобто там же, де знаходиться фільтр. В цьому випадку осушний патрон суміщають з
фільтром (фільтр-осушувач).
У
холодильних агрегатах із сталевим випарником і конденсатором з мідної трубки
для запобігання або усунення замерзання вологи в капілярній трубці замість
осушного патрона застосовують метиловий спирт. В цьому випадку вода не
усувається від системи агрегату, знижується лише температура її замерзання.
Зазвичай в систему агрегату вводять 1—2% від кількості
хладона хімічно
чистого метилового спирту. Його використання в агрегатах з алюмінієвим
випарником або конденсатором неприпустимо, оскільки взаємодія спирту з
алюмінієм приводить до його руйнування і виходу хладону з системи агрегату.
Все
наявні в холодильному агрегаті з'єднання виконані зварюванням і паянням
твердими припоями. Алюмінієві частини сполучають аргонодуговим
зварюванням, мідні — паянням.
Компресійний
холодильний агрегат працює так. Холодильна камера охолоджується унаслідок зміни
агрегатного стану
холодоагента в
системі герметичного холодильного агрегату, принцип дії якого полягає в
наступному. Пари хладона-12 відсмоктуються з випарника компресором і проходять
усередині кожуха, охолоджуючи обмотку електродвигуна. Стислі в компресорі пари
холодоагента по
нагнітальній трубці поступають в охолоджуваний навколишнім повітрям
конденсатор. Тиск пари хладону в конденсаторі рівний 600—1050
кПа. У
конденсаторі пари хладону переходять в рідкий стан, віддаючи тепло
навколишньому середовищу. Рідкий
хладон з конденсатора поступає через
фільтр в капілярну трубку і потім у випарник. Капілярна трубка створює необхідний для роботи перепад тиску
між конденсатором і випарником. Тиск холодоагента у
випарнику знижується до 98 кПа. Рідкий хладон при
низькому тиску кипить, віднімаючи тепло від стінок випарника і повітря
холодильної камери. З випарника пари холодоагенту по всмоктуючій
трубці знову поступають в кожух
компресора, і цикл повторюється. Холодні пари холодоагента,
проходячи з випарника в компресор по всмоктуючій
трубці, охолоджують рідкий хладон, який поступає по капілярній трубці з
конденсатора у випарник. Теплообмінником служить ділянка всмоктуючої
і капілярної трубок, зпаянних
між собою. У ряді холодильників капілярна трубка пропущена усередині всмоктуючої.
Компресор
приводиться в рух вбудованим однофазним електродвигуном змінного струму. Для
запуску електродвигуна і захисту його від електричних перевантажень
застосовується
пускозахисне реле.
Задана температура в холодильній камері підтримується автоматично датчиком-реле
температури. Електрична лампа розжарювання для освітлення камери шафи включена
в мережу паралельно ланцюгу двигуна.
Підтримка
необхідної температури в камерах холодильника забезпечується за рахунок
періодичного включення і відключення компресора, здійснюваного за допомогою
терморегулятора.
Опір
ізоляції струмопровідних частин холодильника щодо металевих частин повинен бути
не меншого 10 МОм. Електрична ізоляція холодильника
повинна витримувати протягом 1 хв. випробувальну напругу 1250 В.

Рис. 46.
Схема роботи холодильного агрегату холодильника «Снайге-117»:
1 —
компресор; 2 — конденсатор; 3 — випарник холодильної камери; 4 — випарник
морозильної камери; 5 — фільтр-осушувач; 6 — всмоктуюча
трубка; 7 — капілярна трубка-дросель
10.3.
ПОБУТОВІ МОРОЗИЛЬНІ КАМЕРИ
Морозильні
камери призначені для заморожування і тривалого зберігання харчових продуктів,
а також для приготування харчового льоду.
Морозильна
камера дозволяє швидко заморозити продукти при температурі —24ºС і потім
їх зберігати при температурі — 18 °С. Такий режим рекомендується тому, що при
повільному заморожуванні в продукті утворюються крупні кристали льоду, які
можуть механічно пошкодити клітки, тим самим погіршити смакові і живильні
якості продуктів, а при швидкому заморожуванні кристали льоду дрібні, тому
багато продуктів зберігають свою первинну якість.

Рис. 47.
Холодильний агрегат морозильної камери:
I —
мотор-компресор; 2 — осушний патрон; 3 — конденсатор пристрою охолоджування
масла мотор-компресора; 4 — конденсатор; 5 — випарник; 6
— докипатель; 7 — капілярна і відсмоктуюча
трубки в зборі
Морозилка
є металева шафа прямокутної форми, покрита білою емаллю. Морозильна камера
алюмінієва. Теплоізоляція шафи і дверей — з пенополіуретану. Магнітний
ущільнювач забезпечує щільне прилягання дверей шафи.
У
морозилці встановлений компресійний холодильний агрегат з кулісним мотор-компресором.
Хладагентом
в морозилці є
хладон-11,
хладон-12 або ізобутан.
Чотирьохсекційний
трубчастий випарник 5 розташований за всім обсягом морозильної камери. Кожна
секція випарника складається із зігнутих алюмінієвих трубок, прикріплених
скобами до металевого листа. При установці холодильного агрегату випарник
вводиться в камеру з лицьового боку шафи.
Конденсатор
4 холодильні агрегати — ребристо-трубний. Холодильний агрегат морозилки має
цеолітовий
осушний патрон 2 із спеціальним патрубком, що дозволяє проводити двостороннє
вакуумування агрегату при його заповненні
хладагентом.
У систему
холодильного агрегату морозилки введена ще одна деталь — докипатель
6, в якому відбувається докипання
хладону, що не встиг випаруватися у
випарнику. Повне докипання
хладону у випарнику до його надходження в компресор
забезпечує найвищий ККД холодильного агрегату. Докипатель
встановлений між випарником і всмоктуючим патрубком
компресора.
Режим
роботи морозилки розрахований на безперервну роботу
мотор-компресора.
При цьому відбувається перегрів його складальних одиниць, зокрема обмоток
статора, який може спричинити за собою руйнування ізоляції проводів. Для
додаткового охолоджування масла в кожусі
мотор-компресора
передбачено спеціальне пристосування.
У
електричну схему холодильника входять: мотор-компресор, терморегулятор, пускозахисне
реле, перемикач режимів робіт, три сигнальні лампи. Перемикач режиму роботи
морозилки має два положення — «Заморожування» і «Зберігання».
Сигнальні
лампи зеленого, червоного і синього кольорів, що показують режим роботи
морозилки, встановлені на передній панелі шафи, внизу під дверима. Включення
ламп відповідного кольору указує, в якому режимі працює морозилка.
Тривалість
заморожування 12—24 ч. Процес заморожування вважається закінченим, коли
температура в холодильній камері досягне — 18 °С. У режимі зберігання
коефіцієнт робочого часу агрегату рівний 0,6—0,7.
Морозилка
«Гіочел». Управління роботою
морозилки (Рис. 48,) здійснюється за допомогою блоку управління і сигналізації,
датчика-реле температури (терморегулятора), вбудованих в лицьову панель площини
сервіровки і пуско-захисної апаратури. Морозилки «Гіочел» бувають декількох модифікацій.
У блок
управління і сигналізації входить дві індикаторні лампи зеленого і
червоні кольори і перемикач з підсвічуванням оранжевого кольору, що
забезпечує два режими роботи морозилки — «Заморожування» і «Зберігання».
Герметизація дверного отвору морозилки забезпечується за рахунок застосування
еластичного ущільнювача з магнітною вставкою. У морозилці використаний
теплоізоляційний матеріал —
пенополиуретан. Двері
морозилки мають обмежувач відкриття до кута 90º і 135°. Заморожування
продуктів здійснюється герметичним холодильним агрегатом компресійного типу.
Після включення в мережу морозилка включається на режим «Заморожування», при
цьому одночасно спалахують лампи зеленого, оранжевого і червоного кольору.
Лампа червоного кольору автоматично згасне, коли температура в морозилці
досягне — 15 °С. Тривалість заморожування залежить від маси продуктів і способу
їх укладання.

Рис. 48. Морозилка «Гіочел»
1 — упор; 2 — датчик-реле температури; 3 — перемикач режимів; 4 —
сигнальні лампи; 5, 7, 12 — накладки; 6
— двері; 8 — решітка; 9 — опора; 10 — ролик; 11 — кришка
Після
заморожування продуктів перемикач встановлюється на режим «Зберігання». Лампа
оранжевого кольору гасне.
При
роботі в режимі «Заморожування» в камері охолоджування підтримується
температура не вища —24 °С, а в режимі «Зберігання» — не вище —18 °С. При таких
температурних режимах продукти можуть зберігатися протягом року, не втрачаючи
своїх смакових і живильних властивостей.
При
відтаванні тала вода віддаляється по дренажній системі в судину, розташовану в
нижній частині морозилки. Наявність опорних роликів дозволяє без особливих
зусиль переміщати морозилку по підлозі.
10.4.
ХОЛОДИЛЬНИКИ АБСОРБЦІЙНОГО ТИПУ
Абсорбційні
побутові холодильники призначені для короткочасного зберігання продуктів харчування
і для отримання харчового льоду.
Промисловість випускає абсорбційні холодильники об'ємом 30—200 дм3
і споживаною потужністю 50-200 Вт.
Особливістю
холодильників абсорбційного типу є безшумність роботи, відсутність запірних
вентилів і частин, яки рухаються. Проте;
оскільки нагрівач постійно або циклічно включений в електромережу, експлуатація
холодильника абсорбційного типу обходиться дорожче компресійного (такого, що включається
в мережу періодично). Розроблені і серійно випускаються двокамерні
холодильники, що створюють холод в низькотемпературному відділенні до -
18ºС.

Рис. 49.
Принципова схема холодильного агрегату абсорбційного типу :
1 —
конденсатор; 2 — ректифікатор; 3 — випарник; 4 — трубка рідкого аміаку; 5 —
вертикальний теплообмінник; 6 — випарник; 7 — газовий теплообмінник; 8 —
газорідинний теплообмінник; 9 — генератор; 10 — кип'ятильник-термосифон; 11 —
абсорбер; 12 — трубка газового і рідинного теплообмінника; 13 — напірна труба;
14 — ресивер; 15—електронагрівач; 16—регенератор; 17-—рідинний теплообмінник.
Свою
назву холодильники абсорбційного типу отримали від процесу абсорбції,
тобто поглинання рідким або твердим
поглиначем пари
холодоагента, що
утворюється в випарнику. Холодильним агентом в абсорбційних холодильниках
служить аміак NH3 Пари аміаку поглинаються водою з утворенням при
цьому водоаміачного розчину. Холод отримують за
рахунок кипіння холодильного агента.
Компонентами
розчину в холодильному агрегаті абсорбційного холодильника є: холодоагент—аміак, абсорбент -— вода подвійної дистиляції, інгібітор —
двохромовокислий натрій, газ - водень. Кількість водоаміачного
розчину для заповнення холодильного агрегату складає 450—800 см3,
концентрація аміаку у водоаміачному розчині 34—36%
(по масі).
Агрегат
наповнено водоамиачним розчином і воднем. Тиск
усередині агрегату 1500—2000
кПа. Водень інертний і не вступає в хімічну реакцію з
аміаком.
Основні
частини холодильного агрегату мають наступне призначення: .генератор 9 (Рис. 49) — вироблення
аміачного пару і підйом слабкого розчину на висоту зливу в абсорбер;
конденсатор
1 — конденсація аміачної пари;
випарник
3 — випаровування рідкого аміаку з утворенням холоду;
абсорбер
11— поглинання пари аміаку водоаміачним розчином
(процес абсорбції);
електронагрівач
15—нагрів водоаміачного розчину в генераторі.
Холодильний
агрегат з одним випарником працює таким чином. Водоаміачний
розчин циркулює в холодильному агрегаті по замкнутому контуру, змінюючи в
абсорбері і генераторі свою концентрацію. Міцний розчин має підвищену
концентрацію аміаку, слабкий — низьку.
У
ресивері 14 знаходиться міцний розчин. З ресивера він поступає в генератор 9, в
якому кипить з виділенням переважно аміачної пари, внаслідок чого концентрація
аміаку в розчині падає і розчин з міцного перетворюється на слабкий. Слабкий
розчин поступає в абсорбер, де поглинає пару аміаку, що поступає з випарника, і
перетворюється на міцний розчин, який стікає в ресивер.
Генератор
працює так. Міцний розчин з ресивера 14 поступає у внутрішню трубку рідинного
теплообмінника 17, де нагрівається гарячим слабким розчином, циркулюючим в між
трубному просторі. З рідинного теплообмінника
підігрітий міцний розчин поступає в регенератор 16, де поглинає,
тепло
проходящего
через регенератор
горячего пара,
внаслідок чого розчин нагрівається ще сильніше. З регенератора міцний розчин
поступає в кип’ятильник -термосифон 10, де в
результаті поглинання тепла електронагрівача 15
відбувається кипіння розчину з утворенням великої кількості водо-аміачної
пари. Паро рідинна суміш, що утворюється, через різницю гідравлічних напоров подимається по
кип’ятильнику -термосифону. Після виходу
з кип’ятильника
водоаміачна
пара
через
регенератор надходить в повітряний ректифікатор 2, а слабкий розчин, через
напірну трубку в рідинний теплообмінник поступає в абсорбер. В результаті того,
що вода має вищу температуру конденсації, у повітряному ректифікаторі
відбувається
конденсация водяної
пари і з ректифікатора в конденсатор поступає практично
чиста аміачна
пара.
Конденсатор ребристо-трубчастий, тобто виконаний у вигляді труб із загальним оребрінням. Аміачна пара, що безперервно поступає в конденсатор, витісняє звідти водень, внаслідок чого парціальний тиск аміачної пари стає приблизно рівним тиску в холодильному агрегаті. У конденсаторі відбувається конденсація аміачної пари з виділенням тепла. Рідкий аміак охолоджується холодною парогазовою сумішшю, що виходить з випарника в газовому теплообміннику 7, після чого поступає у випарник.
Випарник
ребристо-трубчастий виконаний з труб з насадженими пластинами. У випарнику
рідкий аміак випаровується, поглинаючи тепло холодильної камери.
Для видалення пари аміаку з випарника
парогазова
суміш циркулює в холодильному агрегаті по замкнутому контуру. При цьому частка
аміачної пари в суміші міняється.
Багата парогазова суміш містить велику кількість пари аміаку, а
бідна — малу кількість. Циркуляція паро- газової
суміші відбувається унаслідок різниці питомих ваг бідної і багатої парогазової суміші. Багата парогазова
суміш опускається з верхньої гілки випарника через вертикальний теплообмінник 5
в нижню гілку випарника 6, потім - через газовий і газорідинний 8
теплообмінники в ресивер, з якого він
надходить в абсорбер. У абсорбері виконаному у вигляді змієвика, значна
частина пари аміаку поглинається водо аміачним
розчином. Процес абсорбції відбувається з виділенням тепла. Багата парогазова
суміш перетворюється на бідну, яка поступає в між трубний простір газового
теплообмінника. У нім бідна парогазова суміш
охолоджується холодною багатою парогазовою сумішшю,
що виходить з випарника, в якому бідна парогазова
суміш знов насичується аміаком, що випарувався, перетворюючись на багату.
Слабкий
розчин перед надходженням в абсорбер заздалегідь охолоджується в газорідинному
теплообміннику.
Електроустаткування
холодильника складається з електричного нагрівача, терморегулятора, колодки
затисків, світильника з вимикачем і сполучних проводів.
Електронагрівач
є спіраллю з
ніхромового
дроту з нанизаними на нього фарфоровими втулками, вставлену в спеціальну
металеву гільзу. Вільний простір між втулками спіралі і внутрішньою поверхнею
гільзи заповнений сухим кварцовим піском. З одного боку гільзи наглухо закриті.
У відкриту частину гільзи вкладений нагрівальний елемент, розташований по всій
її довжині. Через ковпачок з отворами кінці спіралі, ізольовані фарфоровими
намистами, виведені з металевої гільзи.
Система
регулювання температури в холодильниках абсорбції може бути неавтоматичною і
автоматичною. У першому випадку, коли нагрівач розрахований на декілька
ступенів потужності, температура регулюється шляхом включення нагрівача
на велику або меншу потужність.
У
холодильниках останніх випусків застосовується переривистий режим роботи
холодильного агрегату з постійною потужністю електричного нагрівача. Завдяки
використанню інерційної здатності холодильного циклу вдалося понизити добову
витрату електроенергії і підвищити термін служби нагрівача. У електричний
ланцюг холодильника включений терморегулятор, який відключає нагрівання після
досягнення в камері заданої температури. Застосовуються терморегулятори
АРТ-2А, Т-110-5
і ін. Природно, що при такій циклічній роботі холодильного агрегату температура
в камері постійною бути не може і визначений середній рівень її може
підтримуватися тільки засобами автоматики. Терморегулятори застосовують з
відповідною настройкою температурної характеристики.
Двокамерний
холодильник «Кристал-9» АШД-200П. Конструкція холодильника забезпечує:
автоматична
підтримка температурного режиму в камерах холодильника за допомогою
терморегулятора;
автоматичне
відтавання високотемпературного випарника в робочому циклі з виведенням талої
води з холодильника і її самовипаровування;
абсолютну
безшумність, відсутність вібрації і високу надійність завдяки відсутності
рухомих частин в конструкції холодильного агрегату;
підтримка
в низькотемпературній камері температури не вища —18° З;
зниження
висихання продуктів, розміщених в низькотемпературній камері, завдяки низькій
температурі, а розміщених в холодильній камері, завдяки постійно вологій
поверхні високотемпературного випарника;
можливість
перестановки полиць але висоті з кроком
Технічна
характеристика холодильника «Кристал-9»

Рис. 50. Холодильник «Кристал-9»:
1—холодильна камера; 2 — піддон; 3 — випарник; 4 —
низькотемпературна камера; 5 — холодильний агрегат; 6 — шафа; 7, 9, 15 — петлі;
8 — двері низькотемпературної камери; 10 — двері холодильної камери; 11—дверка; 12— полиця; 13 — скляна полиця; 14 —резервуар для
зберігання овочів
Як
теплоізоляція холодильника використаний
пенополіуретан, який
одночасно виконує функцію несучого елементу конструкції, що дозволило значно
скоротити кількість кріпильних деталей.
Охолоджування
камер здійснюється холодильним агрегатом 5 дифузійної для абсорбції дії. Для
розміщення продуктів в холодильній камері є гратчасті полиці 12, а також скляна
полиця 13, яка, закриваючи резервуар 14 для зберігання овочів і фруктів, сприяє
підтримці в нім підвищеної вологості.
Високотемпературний
випарник 3 відтає автоматично в робочому циклі при перемиканні терморегулятора
нагрівача
з потужності 200 Вт на потужність 70
Вт. Високотемпературний випарник в
нормально працюючому холодильнику вологий. Тільки незначна частина його може
покриватися інеєм невеликої товщини.
Волога,
що утворилася на випарнику краплі, стікає в піддон 2, з якого через вивідний
патрубок вода потрапляє у випарник, розташований між трубами абсорбера. За
рахунок тепла абсорбції вода з випарника випаровується і таким чином в
холодильнику створюється певний мікроклімат.
З лівого
боку бічної стінки холодильної камери розташований блок автоматики, в який
входять патрон з лампочкою, вимикач, що відключає від мережі всі елементи холодильника, і терморегулятор,
призначений для автоматичної підтримки температурного режиму в холодильнику.
Двері 8 низькотемпературної камери і 10 холодильної камери складаються із
зовнішньої панелі, внутрішньої панелі і теплоізоляції. Зовнішні панелі виконані
із сталевого листа, а внутрішні — з полістиролу або АБС-пластика,
виготовлених методом вакуумного формування.
Внутрішня
панель холодильної камери має полиці для зберігання сира і масла, що
закриваються пластмасовими дверцями 11. Дверці камер з шафою з'єднуються за
допомогою петель.
Холодильний
агрегат виконаний з безшовних труб, сполучених газовим зварюванням, і
заповнений водоаміачним розчином з антикорозійною
добавкою, а також воднем — газом, інертним по відношенню до аміаку. Водень
вводиться в агрегат для вирівнювання загального тиску в холодильному агрегаті.
Електроустаткування
холодильника складається з нагрівача, блоку автоматики, в який входять:
датчик-реле температури, патрон з лампою, вимикач, що відключає всі елементи
від електромережі, клемної колодки, дверного вимикача і сполучних проводів. Електронагрівач виконаний з цілісної керамічної втулки, в
отвори якої поміщена спіраль з ніхромового дроту. Електричний нагрівач має два
ступені потужності — 200 і 70 Вт. Датчик-реле температури Т-110-4 призначений
для підтримки заданого споживачем теплового режиму шляхом автоматичного
перемикання нагрівача. Датчик-реле температури працює таким чином. При
пониженні температури на випарнику нижче певної величини в капілярній трубці
датчика, закріпленій на випарнику, конденсується хладон, внаслідок чого тиск
хладону падає і контакти датчика-реле температури розмикаються. При цьому
нагрівач працює на потужності 70 Вт і відбувається автоматичне відтавання
випарника холодильної камери. При підвищенні температури на випарнику рідкий
хладон, що
знаходиться в капілярній трубці датчика-реле температури, починає
випаровуватися. Тиск пари
хладона досягає величини, при якій контакти датчика-реле
температури знов замикаються. При замиканні контактів нагрівач працює на
потужності 200
Вт.
температура на випарнику знов починає знижуватися.
Рекомендується
перевіряти і ремонтувати холодильник в такій послідовності. Перед ремонтом,
якщо холодильник включений в мережу, майстер, не відкриваючи його, повинен
перевірити приладом, на якій потужності працює холодильник. Якщо холодильник
працює на потужності 70 Вт, треба відкрити двері холодильної камери і встановити
ручку датчика-реле температури на ділення 7. Холодильник повинен перемикатися
на потужність 200 Вт. Якщо ж він не перемикається, то це говорить про те,
що перегоріла спіраль потужністю 130
Вт. При цьому
нагрівач
необхідно замінити. Якщо ж холодильник перемикається, то він вважається
справним і його необхідно експлуатувати при положенні ручки терморегулятора
ближче до ділення 7. Якщо ж холодильник працює на потужності 130
Вт,
перегоріла спіраль потужністю 70
Вт.
При
повороті ручки датчика-реле температури в крайнє ліве положення холодильник
повністю відключається від мережі. Це є підтвердженням того, що спіраль
потужністю 70 Вт перегоріла. Необхідно замінити нагрівач.
Витікання
аміаку виявляється по жовтій плямі, що утворюється в місці течі, а також по
запаху аміаку.
10.5. ТЕРМОЕЛЕКТРИЧНІ ХОЛОДИЛЬНИКИ
Суть
термоелектричного охолоджування полягає в тому, що при проходженні постійного
струму через термобатарею, складену з послідовно сполучених двох різних матеріалів
(термоелементів), одні спайки батареї охолоджуються, а інші нагріваються (ефект
Пельтьє). Таким чином, роль робочої речовини —
переносника тепла — виконує постійний електричний струм. Це в значній мірі
спрощує схему термоелектричного холодильника. Помістивши холодні спаї
термобатареї в охолоджуване середовище, представляється можливим легко
забезпечити передачу тепла з холодильної камери в тепліше середовище, що оточує
гарячі спаї.
Теплове
реверсування легко здійснюється простою зміною полярності протікаючого
через термоелементи струму. а варіювання величини струму дозволяє регулювати
температуру, а також
холодо- і
теплопродуктивність
Переваги термоелектричного охолоджування —
відсутність рідких і газоподібних холодоагентів, рухомих частин, що труться,
безшумність роботи, можливість точного регулювання температури, і надійність.
Холодильник стійко працює при динамічних навантаженнях, крені, вібрації.
Термоелектричні холодильники випускаються
для застосування в автотранспорті.
Апарат
термоелектричного охолоджування представлне1 собою батарею, що складається з
окремих послідовно спаяних між собою напівпровідникових термоелементів.
Термоелемент
має два напівпровідники, які виготовлені у вигляді прямокутних або циліндрових
брусків. Один з напівпровідників зроблений із сплаву свинцю і телуру, інший —
із сплаву телуру і сурми. Застосовуються також сплави вісмуту і селену.
Напівпровідники
послідовно сполучені спаянными з ними мідними пластинками. При проходженні
постійного струму через спаї одні з них (верхні або
нижние залежно
від напряму струму) поглинатимуть, а інші виділяти деяку кількість тепла. Таким
чином, тепло переноситься електричним струмом, тобто рухомими електронами.
Із
зворотного боку холодильної камери розташовані термоелектричні батарей і вентилятор.
При включенні холодильника в електромережу струм проходить через
термоелектричні батареї, що складаються з термоелементів, одну сторону батареї
нагріває, а іншу охолоджує. Під дією вентилятора термоелементи термоелектричних
батарей починають охолоджуватися і віднімають тепло у продуктів, що знаходяться
в холодильнику.
Термоелектричні
холодильники типа ХАТЕ
призначені
для охолоджування і короткочасного (не більше 48 год)
зберігання харчових продуктів під час руху автомобіля, на стоянках в зонах відпочинку
і т.д.
Холодильник
встановлюється в кабіні автомобіля і може виконувати роль підлокітника. У
місцях
стоянок холодильник можна підключати до мережі напругою 220 або 127 В тільки
через зарядно-випрямний пристрій, який надягають на вилку сполучного шнура.
Термоелектричний
переносний холодильник типа
ХТЭП-9, 2ПР «Холодок». Прилад
призначений для короткочасного зберігання харчових продуктів і охолоджування
напоїв. Він також може бути використаний для підігріву продуктів і напоїв.



Рис. 51.
Термоелектричний холодильник
ХТЭП-9,2ПР «Холодок»:
1 —
ручка; 2 — ложемент;
3 — теплоізоляція; 4 — камера; 5 — кришка; 6 — корпус; 7 — термоелектрична
батарея; 8 — радіатор; 9 — заглушка з шнуром; 10 — перемикач режимів
охолоджування
Термоелектрична
батарея 7 (Рис. 51), що складається з чотирьох послідовно сполучених модулів,
здійснює охолоджування холодильної камери 4 або (при зміні полярності
підключення до джерела живлення) її нагрів. Перемикач 10 режиму охолоджування
має два положення: I — допоміжний і II — основною. При включенні холодильника в
режим «Підігрів» положення перемикача впливає тільки на інтенсивність
підігріву, яка в режимі II більше.
Вентилятор
обдуває радіатор 8 при роботі холодильника в режимах охолоджування камери.
У
холодильнику передбачено автоматичне відключення живлення для захисту
термоелектричної батареї від перегріву, можливого при відмові вентилятора або
випадковому тривалому перекритті вентиляційних вікон в підставці холодильника.
У
холодильнику передбачена автоматична підтримка температури в камері в режимі
підігріву + 52±15 °С.
При
експлуатації холодильника в автомобілі рекомендується розміщувати холодильник в
ногах у пасажирів: Допускається для економії місця установка холодильника на
верхньому багажнику автомобіля, але при цьому стрічний потік повітря при русі
автомобіля повинен обов'язково співпадати з напрямом потоку, створюваного
вентилятором холодильника.
Для
стійкого утримання в камері пляшок; незалежно від їх кількості передбачений
знімний ложемент
2.
У
комплекті є вилка для підключення холодильника в автомобілях, забезпечених
розеткою. Вилка встановлюється на місце штекера з дотриманням полярності
підключення.
Витрата
електроенергії, А-год/год: у основному режимі
охолодження— 3,75 А-год/год; у допоміжному режимі охолодження—2,1. А-год/год