ТЕМА 8.
ЕЛЕКТРОПРИЛАДИ, ЯКІ ПОЛЕГШУЮТЬ ДОМАШНЮ ПРАЦЮ
8.1.
ЕЛЕКТРОМ'ЯСОРУБКИ
Електром'ясорубки
призначені для приготування м'ясного або рибного фаршу і виготовляються двох
типів: ЕМШ — шнекові і ЕМК — кутерні.
Шнекова
електром'ясорубка — прилад для подрібнення м'яса, риби, овочів і подібних
харчових продуктів, забезпечений ножем, що обертається. М'ясо подається шнеком,
що обертається, до ножа і продавлюється через перфорований диск (решітку).
Кутерна
електром'ясорубка — прилад для подрібнення м'яса, риби, забезпечений ножем, що
обертається, який рубає м'ясо або рибу на дрібні частини.
Електром'ясорубки
типа ЕМК
мають блокування, що виключає можливість роботи без кришки.
Довжина
сполучного шнура електром'ясорубки
Технічна
характеристика електром'ясорубки «Флора»
Номінальна напруга-220В ;
Споживана потужність - 150
Вт;
Тривалість безперервної
роботи - 30хв;
Витрата електроенергії за
цикл роботи- 0,075 кВт-год;
Частота обертання вихідних валів замінюваних
приставок - 150 ±50
об/хв
Габаритні розміри (у упаковці), 362X327X222 мм
Маса (в
упаковці),
8.2.
ЕЛЕКТРОКАВОМОЛКИ
Електрокавомолки виготовляють двох типів: ЕКМУ — ударної
дії, ЕКМЖ — жорнової дії.
Електрокавомолки
ударної дії призначені для мелення смажених зерен
кави за допомогою ножа, що обертається з великою швидкістю.
Електрокавомолки
жорнової дії призначені для мелення смажених зерен
кави за допомогою дисків, циліндрів, конусів або інших подібних елементів, що
працюють як жорна.
Кавомолки
виготовляють на напругу 127 і 220 В змінного струму.
У
конструкції електрокавомолок передбачена наявність
одного або більш наступних елементів: реле часу; пристрою дозування; пристрою
для зберігання сполучного шнура; пристрою для регулювання ступеня помолу (для ЕКМЖ) .
Технічна
характеристика електрокавомолок
ЕКМУ
Номінальна споживана потужність – 135 Вт
Номінальна місткість, 30г
Час помелу не більш
40 с
Маса,0,8 кг
Рівень звуку, не більш 73дБ
Електрокавомолка
«Мікма»
ЕКМУ
(модель 200). Складається з корпусу 1 (Рис. 14, а) і закріпленого в ньому
колекторного електродвигуна 7, забезпеченого фільтром для поглинання перешкод
радіохвилям; чаші 5 з ударним механізмом 6; кришки 4, яка служить резервуаром
дозування; вимикача 2 з кнопкою і блокуванням 3, що виключає можливість роботи електрокавомолки без кришки; незнімного сполучного шнура 8,
армованого нероз'ємною вилкою.
Натисненням кнопки вимикача при закритій кришці електрокавомолки
здійснюється замикання електричного ланцюга, що включає електродвигун і фільтр поглинання перешкод радіохвилям..

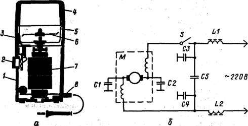
Рис. 16. Електрокавомолка «Мікма»:
а —
конструкція: ( 1— корпус; 2— вимикач; 3— блокування; 4— кришка; 5 — чаша; 6 —
ударний механізм; 7— електродвигун; 8 — сполучний шнур); б — електрична схема: С1—С4 — конденсатори
по 4700 пФ; С5 — конденсатор, 0,05 мкФ; L1, L2— дроселі ДПМ-0,2-160-МКГН; S
—вимикач; М — електродвигун
8.3.
ЕЛЕКТРОНАСОСИ (ЕЛЕКТРОПОМПИ)
Електронасоси
призначені для подачі води в побутових умовах і підрозділяються на переносні,,
закріплені і глибинні. Номінальний режим роботи електронасосів підрозділяють на
тривалий і повторно-короткочасний. Електронасоси виготовляють наступних виконань:
Ц — відцентрові; ЦС — відцентрові самовсмоктуючі; ЦП
— відцентрові глибинні і В — вібраційні.
Приклад
умовного позначення побутового вібраційного насоса з об'ємною подачею 1 дм3/с
і натиском 63 м: БВ-0,1-63.
Електронасос
«Азовець» типа ЦМВБ4-1.6-12. Призначений для підйому
чистої води з свердловин з внутрішнім діаметром
труб не меншого
Електронасос
працює при повному зануренні у воду на спеціальній підвісці. Попередня заливка
електронасоса водою не потрібна.
Насос
включається в електромережу за допомогою кабелю з надійним заземленням.
Електронасос є моноблоковий агрегат. На валу ротора 10 (Рис. 15, а)
електродвигуна встановлені пластмасові робочі колеса 14. Ротор обертається в
двох підшипниках ковзання, запресованих
в кришці 2 і підшипниковому щиті 13. Статор 9 електродвигуна є окремою
складальною одиницею, електрична обмотка якого залита компаундом і не може
піддаватися ремонту. Статор встановлюється в трубу 8 до упору в упорне кільце 7
і затискається в осьовому напрямі фільтром 19 через набір кілець 18 (4 шт.),
кілець ущільнювачів 15 і 16 (по 4 шт.), відведення лопаток 17 (3 шт.) і
підшипниковий щит 13. Кришка 2 вставляється в трубу 8 і підтискається різьбовою
гайкою 5. Між кришкою і трубою встановлено ущільнююче кільце 4. Фільтр 19 і
гайка 5 мають ліве різьблення.
Кабель 1 виводиться через отвір в кришці

Рис. 17.
Електронасос «Азовец»:
а —
пристрій: I — кабель; 2 — кришка; 3, 5 — гайки; 4, 13, 16, 18, 21 —кільця; 6 —
штуцер; 7 — упорне кільце; 8 — труба; 9 — статор; 10 — ротор; 11 — п'ята; 12 —
підп'ятник; 13 — підшипниковий щит; 14 — робоче колесо; 17 — відведення
лопатки; 19 — фільтр; 20 — пружина;
Кабель 1
виводиться через отвір в кришці 2 і ущільнюється гумовим кільцем 21 і гайкою 3.
На цю гайку встановлена пружина 20 для запобігання різкому перегину кабелю.
У кришку
2 вкручений штуцер 6, на який надягається шланг, що подає воду. У кришці
встановлений гвинт для приєднання жили заземлення.
При
роботі насоса ротор, що обертається, спирається металевою п'ятою 11 на
фторопластовий підп'ятник 12, що впресований в підшипниковий щит 13.
При
роботі насоса вода поступає через фільтр 19 в перше (нижче) робоче колесо 14,
проходить через перши лопатки відведення 17, поступає в друге робоче колесо і
т.д. З останнього робочого колеса вода поступає через відведення підшипникового
щита в пази між статором 9 і внутрішнім діаметром труби 8, а потім в штуцер 6 і
напірний шланг. У верхній частині кабелю 1 встановлена пластмасова коробка, в
яку вмонтований конденсатор місткістю, 10
мкФ, що забезпечує пуск і роботу
електронасоса. На кінці кабелю встановлена вилка типа
ВШ-П-20-1Р44-01-10/220
для підключення насосу до електромережі через штепсельну розетку, що комплектно
поставляється з електронасосом.
Електронасос «Гейзер» типа БВ-0,16-25. Цей побутовий вібраційний електронасос
призначений для підйому води з колодязів і трубчастих свердловин з внутрішнім
діаметром не меншого
Електронасос
складається з трьох основних складальних одиниць: верхнього корпусу 3 (Рис.
16), вібратора 4 і підставки 5. У кожній частині підставки є отвори, прикриті
гумовим клапаном 6. Верхня частина насоса закінчується вивідним патрубком, на
якому кріпиться шланг 1 за допомогою хомута 2.
Вода
подається з напірної камери, обмеженої гумовим клапаном і поршнем, при
поворотно-поступальній ході поршня завдяки вібраційним коливанням
електромагнітного приводу. Далі вода поступає в кільцевий простір між
підставкою і вібратором і через патрубок — в шланг насоса.
Насос не
вимагає мастила, включається в роботу безпосередньо після занурення у воду. Він
не боїться вогкості і вологи, може бути занурений у воду на тривалий час і
витягуватися тільки для профілактичного огляду. Робота насоса допускається
тільки при зануренні його у воду.

Рис. 18. Електронасос «Гейзер»:
1 —
шланг; 2 — хомут; 3 — верхній корпус; 4 — вібратор; 5 — підставка; 6 — клапан.
8.4
ЕЛЕКТРОПИЛОСОСИ
Побутові
електропилососи призначені для прибирання приміщень, чищення одягу, килимів і
м'яких меблів, а також для інших робіт, пов’язаннях з використанням розрідження
або руху повітря.
Застосування
пилососів скорочує час і зусилля, що витрачаються на прибирання квартири, а
також значно покращує санітарно-гігієнічний стан житла. Принцип дії пилососа
полягає в наступному. Агрегат, що всмоктує повітря , поміщений в. корпус
пилососа, через систему фільтрів, шлангів і спеціальних насадок втягує повітря
разом з пилом і дрібним сміттям.
Фільтри
затримують крупні і дрібні частинки; а повітря, що очистилося, виходить
назовні. Сила всмоктування залежить від потужності агрегату, який забезпечує ту або іншу
швидкість повітряного потоку, від площі поперечного перетину патрубків, опору усередині агрегату.
Пилососи
виготовляються двох типів:
ПН — підлогові,
ПР — ручні. По напряму повітряного
потоку в корпусі пилососи типа
ПН класифікуються на П —
прямоточні
і В — вихрові. Пилососи типа ПР окрім звичайного
виконання залежно від конструктивних особливостей і способу експлуатації
класифікуються на Ш — штангові, Р — ранцеві, Щ — щітки і А — автомобільні.
Пилососи
працюють від електричної мережі
однофазного змінного струму напругою 220 В.
Автомобільні пилососи працюють від мережі постійного струму напругою 12 .
Коректований рівень звукової потужності (рівень звуку) пилососів при
номінальній напрузі не повинен перевищувати 78 дБА для виробів вищої категорії якості і 80 дБА для виробів першої категорії.
У
пилососах з номінальною споживаною потужністю 280 Вт і більш передбачається
регулювання витрати повітря.
Розрідження,
що створюється пилососом, є одним з основних параметрів, що визначають його
функціональні здібності.
При
оцінці побутових пилососів їх порівнюють по максимально створюваному
розрідженню, тобто розрідженню при закритому отворі, через який всмоктується
повітря. Ступінь розрідження визначається по величині статичного тиску — тиск
повітряного потоку у стінок аеродинамічної камери, швидкість якого рівна нулю.
Конструкція
пилососів підвищеної комфортності всіх типів передбачає наявність не менші, як
чотири пристрої з наступного переліку:
покажчик
(сигналізатор) заповнення
пилосбірника
пилом або пристрій для автоматичного відключення двигуна при заповненні пилосбірника
— обов'язковий в пилососах всіх
типів;
пристрій
регулювання потужності електродвигуна — в пилососах
ПН-800;
пристрій
автоматичного намотування шнура — в пилососах
ПН-400,
ПН-600 і
ПН-800;
змінні
паперові фільтри разового заповнення або пристрій для пресування пилу — в
пилососах всіх
типів;
пристрій для зберігання приладдя — в пилососах всіх
типів;
пристрій
регулювання витрати повітря — в пилососах всіх
типів.
У
комплект пилососа залежно від
типу повинні входити також приладдя:
насадка
для чищення килимів — в пилососах
ПР-100,
ПР-280,
ПР-400,
ПН-400,
ПН-600 і
ПН-800;
меблева
насадка — в пилососах ПР-280,
ПР-400,
ПН-400,
ПН-600 і
ПН-800;
насадки
одежна і для чищення щілин — в пилососах
ПР-100,
ПР-280,
ПР-400,
ПН-400,
ПН-600 і
ПН-800;
пульверизатор
— в пилососах
ПР-400,
ПН-400,
ПН-600
і ПН-800;
шланг-повітропровід
— в пилососах
ПН-400,
ПН-600
і ПН-800;
подовжувач
повітропроводу — в пилососах
ПР-100,
ПР-280,
ПР-400,
ПН-400,
ПН-600 і
ПН-800.
Корпуси
електропилососів виготовлені з листової сталі. У пилососах «Супутник»,
«Вітерець-3», «Електросила», «Світанок» корпус з
пластика АБС;
у пилососах «Джміль», «Джміль-авто» і «Джміль-2» — з полістиролу.
Сполучні
шнури в електропилососах застосовуються марок
ШБВЛ,
ШБВА-ВП,
ПВС,
ШБВЛ-ВПО,
ШБВЛ-Б
перетином 2X0,5; 2X0,75; 2X1 мм з нероз’ємною вилкою. Довжина сполучного шнура
пилососів
Вимикачі
— повзункові, кнопкові, клавішні і типу тумблера.
Шланги-повітропроводи
— гнучкі, такі, що гофровані розтягуються і не розтягуються в капроновій оплітці. Довжина шлангів-повітропроводів в підлогових
пилососах
Подовжувальні
трубки виготовляють з пластику, алюмінію або сталі діаметром 30, 32, 34, 35,
36, 39,
Щітки-насадки
виготовляють з этрола, щетини, кінського волосу,
поліетилену, полівінілхлориду, полістиролу, алюмінієвого сплаву і фенопласта. Конструктивного виконання насадок різноманітне.
Форма щілини може бути круглою, прямокутною, овальною, еліпсною.
Залежно
від основного способу відриву пороши від поверхні, що очищується, насадки
(щітки) ділять на три групи:
щіткові,
такі, що забезпечують механічний відрив пороши від поверхні, що очищується;
колекторні
з рівною робочою поверхнею (без ворсу), такі, що проводять відрив пилу за
рахунок аеродинамічної дії;
комбіновані, нерухомі, або
рухомі щітки з рівними краями.
За
призначенням насадки ділять на п'ять груп: для чищення одягу, м'яких меблів,
портьєр і т. п.; їх виконують у вигляді колекторного сопла з щілиною або у
вигляді овальної щітки;
Для
чищення важкодоступних місць; вони мають вид трубки,
стиснутої
на одному кінці;
для
чищення стін, підлоги і інших великих поверхонь; їх виготовляють у вигляді
колекторних сопел з довгим ланцюгом або великих довгастих волосяних щіток;
для
чищення плінтусів, кутів приміщення, меблів (круглі щітки з довгим м'яким
волосом);
комбіновані
для чищення килимів, доріжок і т. п., такі, що мають різні конструкції;
найчастіше це або довгаста щілина з однорядною щіткою (що пружинить або
нерухомою), або щілина з щітками, що обертаються.
Електродвигун
— найважливіша складальна одиниця побутових машин і приладів, оскільки в ньому
електрична енергія перетворюється в механічну через спеціальні пристрої
(редуктор, муфту, пас і ін.), створюючи разом з електродвигуном електропривод,
який приводить в дію робочі органи.
Агрегат,
що всмоктує повітря для побутового пилососа (АВП), складається з конструктивно
зв'язаних колекторного електродвигуна і вентилятора.
Технічна характеристика
АВП
Агрегати
виготовляються на номінальну напругу 220 і 127 В змінного струму частотою 50
Гц.
Середній
рівень звуку на відстані

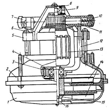
Рис. 19. Агрегат, що всмоктує повітря:
1 —
нижній корпус; 2 — верхній корпус; 3, 8 — кришки підшипників; 4, 9— підшипники;
5 — щит; 6 — гвинт; 7 — щіткотримач; 10 — ковпачок; 11—вугільні щітки; 12 —
статор; 13—якір; 14 — турбіни; 15 — пристрій вентилятора; 16 — гайка.
Агрегат, який всмоктує повітря, складається з
верхнього 2 (Рис. 17) і нижнього 1 корпусів, щита 5 і електродвигуна з
пристроєм вентилятора 15, конструктивно зв'язаних між собою. Електродвигун
колекторного типу. Якір 13 електродвигуна встановлений на двох підшипниках 4 і
9 № 60029. Верхній підшипник закритий кришкою 8,
нижний — кришкою 3. Вільний
об'єм підшипників
заповнений мастилом ЦИАТИМ-202. Обертання якоря ліве. Статор 12 електродвигуна
закріплений на щиті 5 і верхньому корпусі 2 за допомогою гвинтів 6. У верхній частині
агрегату на щиті 5 розташовані щіткотримачі 7 вугільних щіток 11. Щітки закриті
ковпачком 10. У нижній частині агрегату на валу якоря розташовані турбіни 14
пристрою вентилятора і закріплені гайкою 16.
Покажчик (сигналізатор) заповнення пилом збірника
пилу розташований у верхній частині
корпусу пилососа. Зазвичай покажчик складається з скляної трубки, усередині
якої знаходиться поршень 4 (Рис. 18), закріплений на пружині 2. З одного боку
циліндр за допомогою спеціального перехідного патрубка з'єднується з камерою
пилососа, з іншої — з атмосферою. При збільшенні запилення фільтру в камері
пилососа (за фільтром) зростає розрідження, яке передається в трубку до
рухомого поршня. Поршень змішається, розтягуючи пружину.
В кінці
робочої зони пилососа, коли поршень переміститься на певну відстань, проводять
червону межу, що вказує на необхідність чищення фільтру і звільнення від пилу
збірника пилу. Замість поршня і циліндра чутливими елементами можуть бути
сільфони
і мембрани, за допомогою яких різниця тиску перетвориться в світловий або
звуковий сигнал.
Розміри
покажчика заповнення збірника пилу:
довжина

Рис. 20.
Покажчик заповнення збірника пилу:
1 —скляна
трубка; 2 — пружина; 3 — стрічка або трубка пластмасова; 4 —
поршень; 5 — патрубок; 6 —заглушка
Фільтр-пилозбірник
використовується в деяких пилососах і заснований на принципі розділення пороши
на фракції і її пресування. Це дозволяє на 70% підвищити місткість збірника
пилу, не збільшуючи його розміри. Такий ефект досягається за рахунок
використання подвійного фільтру, один з яких (для грубого очищення) є металевою
сіткою, в ній затримується і ущільнюється волокниста фракція, а інший (для
тонкого очищення) — звичайний тканинний, в якому затримується решта пилу.
Ущільнення здійснюється при підборі оптимального перепаду тиску.
Електропилососи, що випускаються в даний час побутові, оснащені тканинними
фільтрами (молескін, вельветон) у вигляді спеціальних мішків, які очищають
звичайним струшуванням і вибиванням.
З метою
підвищення комфортності і поліпшення санітарно-гігієнічних умов експлуатації
пилососів розроблені уніфіковані конструкції паперових фільтрів для всіх
моделей пилососів.
Змінні
паперові фільтри разового користування після заповнення до певного об'єму
викидають разом з пилом. Це створює певні зручності, покращує очищення пилососа
від пилу. Паперові фільтри виконані у вигляді мішка. Для кращої герметизації
камери пилососа в місці приєднання кришки (у
прямоточних
пилососах) до корпусу пилососа паперовий фільтр виготовляють з фланцем з
картону. Деякі конструкції паперових фільтрів вихрових і прямоточних пилососів
мають гумову діафрагму з круглим отвором. У цей отвір вставляють всмоктуючий патрубок пилососа.
Пристрій
для автоматичного прибирання шнура є барабан, що обертається, насаджений на
нерухому вісь і такий, що приводиться в обертання спіральною пружиною. Пристрій
працює за принципом вимірювальної рулетки, тобто при додатку зусиль сполучний
шнур витягується на певну довжину, при цьому положення барабана фіксується
собачкою. При натисненні кнопки собачка звільняє пружину, барабан обертається у
зворотний бік і намотує шнур. На торцях поверхні барабана укріплено два
контактні кільця. До них приєднаний шнур, намотаний на барабан. Живлення на
електродвигун подається за допомогою двох нерухомих контактів, приєднаних до
електродвигуна і до рухомих контактних кілець барабана для намотування шнура.
8.4.1
РУЧНІ ЕЛЕКТРОПИЛОСОСИ
Ці
пилососи випускаються двох видів: електрощітки-пилососи і ручні (переносні і
штангові) пилососи.
Електрощітка-пилосос
«Вітерець-3». Призначена для чищення від пилу одягу, головних уборів, м'яких
меблів і т.д. Корпус електрощітки роз'ємний, складається з двох напівкорпусів (верхнього і нижнього) і знімної волосяної
щітки. Корпусні деталі виготовлені з
полістиролу різних квітів,
Агрегат, що всмоктує повітря, складається з
електродвигуна і поліетиленової крильчатки. Схема руху повітря забезпечує
охолоджування електродвигуна. Електрична схема електрощітки-пилососа
«Вітерець-3» складається з малогабаритного електродвигуна типа ЭДМ-3-3,
високочастотних дроселів типа Д-06-16 і
пристрою, який поглинає перешкоди прийому радіохвиль, що складається з
конденсаторів. Включення щітки-пилососа проводиться повзунковим вимикачем.
8.4.2
ПІДЛОГОВІ ЕЛЕКТРОПИЛОСОСИ
Підлогові
пилососи випускаються двох типів:
прямоточного і вихрового.
Прямоточні
пилососи мають корпус, розташований горизонтально і виконаний у вигляді
циліндра або усіченого конуса. Вихрові пилососи мають корпус, розташований
вертикально і виконаний у вигляді циліндра або усіченого конуса.

Рис. 21.
Електропилосос «Ракета-9»:
1 —
корпус; 2— поворотна опора; 3— передня кришка; 4— вхідний отвір; 5 — пристрій -
запір; 6 — гумове кільце; 7 —решітковий фільтр; 8 — тканинний фільтр; 9— ручки;
10 — дно фільтру; 11—опорна прокладка; 12— звукопоглинальна оболонка; 13 — всмоктуючий агрегат; 14 — решітка; 15 — вихідний отвір; 16
—шумозахисний ковпак; 17 — проміжна кришка; 18 — пристрій намотування шнура; 19
— задня кришка; 20— колеса; 21 —педаль; 22 — кільце ущільнювача
Прямоточні
електропилососи типу «Ракета». Пилосос «Ракета-9» складається з металевого
корпусу 1 (Рис. 19) циліндрової форми, забезпеченого ручкою 9 і передньою
поворотною рий 2. У корпусі встановлені
агрегат всмоктування пилу 13 типа
МД-010 і збірник
пилу з пристроєм для пресування пороши. На корпусі пилососа закріплена передня
кришка 3 з вхідним різьбовим отвором 4 для приєднання шланга-повітропроводу і
задня кришка 19 з колесами 20, В передній частині ручки вмонтований покажчик
запиленості фільтру, а з протилежного боку ручка забезпечена знімними решітками
14, що прикривають вихідний отвір 15 пилососа. Установка і зняття передньої
кришки 3 з пилососа здійснюється за допомогою запірного пристрою 5. Включення
пилососа і пристрою 18 для прибирання шнура здійснюється за допомогою педалей
21. Збірник пилу включає два фільтри. Усередині тканинного фільтру 8
розташований решітковий фільтр 7. Пилосос укомплектований насадками,
шлангом-повітропроводом, подовжувальною трубкою телескопічного типу,
розприскувачем рідини і щитком для укладання приладдя.
Пилосос
«Ракета-9» на відміну від пилососа «Ракета-12» забезпечений пристроєм 18 для
автоматичного прибирання шнура, встановленим в задній кришці пилососа і педалями
21 управління вимикачем і пристроєм автоматичного прибирання шнура. У пилососі
«Ракета-12» застосовані задня і проміжна кришки, а також вузол кріплення
вимикача іншої конструкції. В останні роки завод-виробник перейшов на випуск
пилососів «Ракета-9А» і «Ракета-12А», що відрізняються від пилососів «Ракета-9»
і «Ракета-12» наявністю елементів, що
поглинають шум.
Пристрій пресування пилу складається з
тканинного фільтру, усередині якого розташований решітковий контейнер з дном . При роботі пилососа ворс, нитки,
крупні частинки сміття утримуються в контейнері і під дією розрідження
ущільнюються, набувають форми брикету і у свою чергу виконують роль додаткового
фільтру. Це дозволяє акуратно очищати збірник пилу, заздалегідь знявши
тканинний фільтр і від'єднавши дно від контейнера.
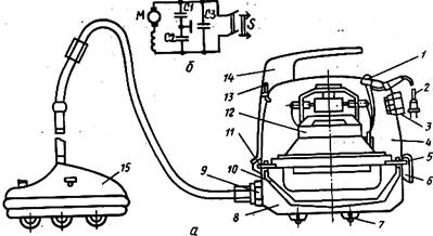
Електропилосос
«Вихор-10» типа ПН-600. Цей пилосос вихрового типу складається з наступних
основних частин: верхнього корпусу 4 (Рис.20), агрегату, що всмоктує повітря 12
і нижнього корпусу 8, що є збірником пилу. Між верхнім і нижнім корпусами
розташовано кільце ущільнювача 5 з фільтром 10. Верхній і нижній корпуси
з'єднуються за допомогою фіксуючих скоб 11 і запору 6.
При
включенні пилососа електродвигун, обертаючись, приводить в дію вентиляційний
пристрій, який через приєднувальний фланець засмоктує всередину корпусу повітря
разом з пилом. Засмоктаний пил осідає в збірник пилу і на поверхні фільтру.
Очищене від пилу повітря обтікає електродвигун і, охолоджуючи його, виходить
назовні. При чистому фільтрі пилососа у вікні для індикатора запалюється зелене світло. Червоне світло
свідчить про заповнення збірника пилу.
У
комплект постачання пилососа входить: приставка для чищення килимів КМ.-1; шланг; подовжувач шланга; насадки
- підлогова, килимова, меблева, для
щілин, одежна; розбризкувач; пристосування для
зберігання насадок.

Рис. 22.
Електропилосос «Вихор-10»:
а —
конструкція: 1—вимикач; 2— сполучний шнур; 3, 9 — фланці; 4 — |верхній корпус;
5 — кільце ущільнювача; 6 — запір; 7 — колеса; 8 — нижній корпус; 10 — фільтр;
11—фіксуюча скоба; 12— повітровсмоктуючий агрегат;
13—індикатор; 14 —ручка; 15 — приставка для чищення килимів КМ-1; б— електрична схема: М — електродвигун
КУВ-071; С1, С2 — конденсатори, по 0,01 мкФ; СЗ — конденсатор 0,5 мкФ; S —
вимикач.
Приставка
для чищення килимів не має власного повітря-всмоктуючого
пристрою і приводиться в дію потоком повітря, що створюється в пилососі.
Приєднання приставки до гнучкого шланга здійснюється спеціальним перехідником. Утворення піни відбувається при продуванні
повітря через миючий розчин, залитий в камеру ціноутворення приставки КМ-1.
Чищення килимів відбувається при нанесенні піни на його поверхню з подальшою
сушкою і обробкою пилососом.
8.5 .
ЕЛЕКТРИЧНІ НАТИРАЧІ ПІДЛОГИ
Ці
прилади призначені для натирання підлоги в житлових приміщеннях. Їх
виготовляють двох типів: ЕП-ЗМ — з трьома щітками без відсмоктування пороши;
ЕПО-ЗМ — з трьома щітками з відсмоктуванням пороши.
Відсмоктуючий
натирач в процесі
натирання підлоги
ще і відсмоктує пил.
Технічна
характеристика електричних натирачів підлоги ЕП-ЗМ і ЕПО-ЗМ
Прилади
розраховані на тривалий режим роботи. Штанга електричного натирача підлоги
знімна і вільно повертається у вертикальній площині на кут, що забезпечує
зручність при роботі. Штанга утримується у вертикальному положенні за допомогою
фіксуючого пристрою.
До
електричних натирачів підлоги з відсмоктуванням пилу пред'являються наступні
вимоги:
Пилоочисна
здатність - не менше 45%;
Місткість збірника
пилу, 125г
Рівень
звуку електричного натирача підлоги 82
дБА.
Конструкція
електричних натирачів підлоги підвищеної комфортності передбачає не меншого
трьох з наступних пристосувань:
Пристрій,
що застосовується як фільтр грубого очищення змінних паперових фільтрів
разового заповнення;
полірувальні
шайби;
щітки для натирання підлоги з вільною
орієнтацією в щіткотримачі;
пристрій
для автоматичного намотування шнура;
пристрій
для зберігання щіток.
Продуктивність
електричного натирача підлоги визначають за часом, витраченому на обробку
контрольної ділянки підлоги до досягнення заданого показника блиску (блиск з
коефіцієнтом віддзеркалення не меншого 20%):

Рис. 23.
Електричний натирач підлоги ЕПО-3М:
Електричний
натирач підлоги ЕПО-3М. При включенні електричного натирача підлоги обертання
валу електродвигуна передається на три щіткотримачі через приводний пас.
Одночасно приводиться в дію вентиляційний пристрій, який засмоктує повітря в
корпус електричного натирача підлоги. Потік повітря обтікає електродвигун і,
охолоджуючи його, виходить назовні через отвори в підставці і в перехіднику.
Корпус електричного натирача підлоги є плоска алюмінієва лита підставка у форми трапеції. На корпусі вертикально змонтований колекторний однофазний електродвигун з агрегатом, що всмоктує повітря, який закритий фігурним куполоподібним пластмасовим кожухом. У нижній частині підставки вбудована підпружинена прямокутна щітка для збору пороши при натиранні підлоги. Збірник пилу подовженої форми подвійний. У електричного натирача підлоги є дві лампочки для підсвітлювання. Відкидна штанга служить одночасно і вимикачем натирача. Натирач легко переміщається на двох гумових роликах.