3.4. Кручення одиничних матеріалів
Деформація кручення
одиничних стебел досліджується на спеціально розроблених приладах. Раніше був
розроблений прилад, фото якого представлене на рис. 3.35. У ньому крутний
момент створювався за допомогою вантажів і динамометра. Згодом був розроблений
прилад з більш удосконаленим пристроєм для відліку кута повороту стебла, схема
і фото якого представлені на рис. 3.36 і 3.37. Він призначений для
дослідження кручення одиничних матеріалів у статичних умовах.
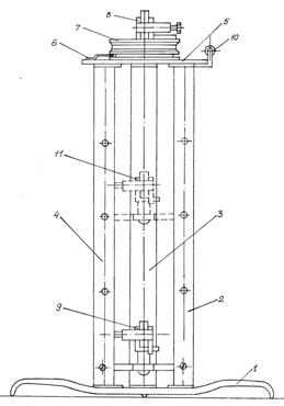
Прилад (рис. 3.36 і 3.37)
складається з основи 1, стійок 2, 3 і 4, панелі 5 з нанесеною на ній шкалою,
стрілки 6, шківа 7, верхнього рухомого 8 і нижнього нерухомого 9 затискачів і
блоку, що відводить 10. На шків 7 намотується нитка, кінець якої спрямовується
по ролику блоку 10 і відтягується вантажем униз.
|
|
Рис.
3.35. Прилад для дослідження кручення стебел льону |
Випробуване стебло встановлюють у затискачах
приладу. Рухливий затискач 8 кріпиться до шківа 7, який встановлено на
шарикопідшипнику. Сила ваги вантажу через блок, що відводить 10 передається до
шківа 7, що обертається разом з рухливим затискачем і кінцем рослини. Кут
повороту шківа (кут закручування) при прикладенні крутного моменту, який
створюється вагою вантажу, фіксується на шкалі, нанесеній на панелі 5. Залежно
від довжини стебла змінюється положення нижнього затискача по вертикалі.
Навантаження при крученні
стебла в приладі здійснюються відповідно до схеми, представленою на рис. 3.38.
У приладі стебло закріплюється нижньою частиною 1 в нижньому нерухомому
затискачі, а верхня частина 2 на відстані
від нижнього затискача закріплюється у верхньому затискачі,
жорстко зв'язаному зі шківом, який під дією вантажу може обертатися. Завдяки
дії вантажу вагою
створюється крутний
момент, для обертання верхньої частини стебла; цей момент зображений на схемі у
вигляді пари сил
, де
- сила натягу
обтяжуючої шківа нитки, що відтягується через блок вантажем
, - сила, рівна за величиною силі
і діюча на шків з боку
його опору на відстані радіуса шківа
.
|
|
Рис. 3.36. Прилад для дослідження закономірностей зміни опору стебла
крученню: 1 - основа; 2, 3 і 4 - стійки; 5 - панель; 6 - стрілка; 7 - шків; 8 - верхній затискач; 9 - нижній
затискач; 10 - блок, що відводить; 11 - можливе положення нижнього затискача після його
переміщення вгору |
На схемі показана також сила
дії шківа на опору, за
величиною сила
рівна силі
. Крутний момент, діючий на стебло, рівний:
. (3.38)
За
результатами дослідів кручення стебел пшениці, жита і льону й обробки дослідних
даних встановлений загальний вид діаграми кручення (рис. 3.39). Остання
побудована як функція крутного моменту
, від кута
закручування. На
початку діаграма має невелику прямолінійну ділянку![]()
, на якій кут закручування пропорційний крутному моменту. При
подальшому збільшенні моменту деформація росте ще швидше (ділянка
). Якщо на цій ділянці в якій-небудь точці
розвантажити
стебло, то лінія розвантаження буде мати вигляд

а б
Рис. 3.37. Вид приладу
для дослідження закономірностей при крученні рослин із
закріпленими в ньому стебло льону (а)
і стеблом кукурудзи (б)
|
|
Рис. 3.38. Схема навантаження стебла при його крученні в приладі: 1
– нижня частина стебла; 2 – верхня частина стебла |
кривої ВСD, при цьому RD являє
собою пружну деформацію, а ОD - залишкову деформацію стебла (для даної ділянки вона
досить мала). Повторне навантаження піде по кривій DЕF. Продовжуючи далі навантажувати стебло, одержимо ділянку FG, де момент зростає до деякого
значення
, який не збільшується або мало збільшується при подальшому
скручуванні стебла. Момент
характеризує
властивість стебла чинити опір крученню.

Рис. 3.39. Діаграма кручення стебла
При подальшому навантаженні стебла
крутний момент, зменшується, після чого крива кручення набирає пульсуючого
вигляду без чіткої закономірності. В одних стебел крутний момент, після точки G значно знижується (крива СС2HLNPN1), в
інших - знижується мало (крива GH1P1L1).
Якщо в якій-небудь точці H або N1 розвантажити стебло, то
крива розвантаження буде мати вигляд HJ
або N1J1, а
повторне навантаження піде по кривій типу JL.
При цьому кут
являє собою пружну
деформацію.
У зоні ОA все стебло скручується без помітних ушкоджень на ньому. При
цьому твірні стебла викривлюються по деяких невидимих лініях, а після зняття
навантаження стебло відновлюється, тобто деформація має місце в межах
пружності. При подальшому збільшенні крутного моменту, (крива АВF)
помітних ушкоджень на поверхні стебла після зняття навантаження теж не
спостерігається (це стадія переходу від пружної деформації до пластичної). У
зоні за точкою F (тобто в зоні G1GG2)
на стеблі, що піддається деформації скручування, з'являються помітні перекоси,
може з'явитися і поздовжня тріщина (тобто стебло може розплющитися). У зонах
НLN і GH1 деформація скручування значна, на стеблі з'являється
поздовжня тріщина і він розплющується. Якщо на цій ділянці в якій-небудь точці розвантажити стебло, то кручення, як
правило, зникає, а стебло виявляється розплющеним.
Подальше кручення стебла приводить до
подовження на ньому зони кручення, утворенню в найбільш слабкому місці шийки,
обриву деревини і її витріщанню. У зоні діаграми після точок P і P1
деревина розривається, на стеблах льону, крім цього, відбувається скручування
волокон, а шийка при цьому усе більше виділяється. Повний розрив зв'язків між
елементами стебла має місце в точках N1
і L1. У сухих стебел при
скручуванні шийка явно не виділяється (потоншення стебла відбувається на
ділянці великої довжини).
З викладеного випливає, що при крученні
стебла спочатку з'являється деформація розплющування, а лише потім скручування.
Відстань
між точками затискача
стебла (тобто довжина частини стебла, що закручується,) впливає на протікання
процесу лише на початку кручення (ділянка
ОА діаграми). У цьому випадку, чим більша довжина затиснутої частини, тим
більший кут
її закручування в
межах пружності. В іншій частині діаграми довжина частини стебла, яка
закручується, впливає на протікання процесу кручення тільки в тому випадку,
якщо стебло циліндричної форми. Якщо ж стебло конусне, то незважаючи на те, що
вся його затиснута частина знаходиться під напруженням, скручується він в
одному місці, найбільш слабкому і розташованому в зоні меншого діаметра.
Найбільш
важливими показниками при крученні є момент Мкпр,
що відповідає межі пропорційності, відносний кут закручування
(тут
- відстань між затискачами приладу, тобто довжина частини стебла, що
скручується;
- кут закручування
стебла, що відповідає межі пропорційності), момент
і відповідний йому
відносний кут закручування
(тут
- кут закручування,
при якому момент досягає величини
) і відносний кут закручування
, рівний
(тут
- кут повороту стебла від початку кручення до повного
розриву, що відповідає точкам N1
і L1 на діаграмі).
У
результаті обробки дослідних діаграм кручення встановлені значення показників,
що наводяться в табл. 3.8.
З
представлених у таблиці даних видно, що найбільшою мірою чинять опір крученню
стебла жита, найменший опір у стебел льону. У сухих стебел момент
більший, ніж у
свіжозібраних. Для розриву в місці скручування стебло довжиною 1 м необхідно
закрутити на 10...30 обертів.
При крученні стебел непустотілих, тобто суцільно
заповнених всередині, ряд наведених вище особливостей деформації при крученні
порожнього стебла також має місце, але є й істотні відмінності. Так, при
крученні вологого картопляного бадилля, що має трохи конічну форму, відбувається
закручування твірної конічної поверхні; ці твірні розташовуються по гвинтових
лініях, причому кут закручування твірних більший на тих ділянках, де діаметр
стебла менший. Через 200°…450° повороту однієї частини стебла щодо іншої в
ньому з'являються поздовжні тріщини вздовж твірних, розташовуються вони в
середині стебла й у зоні, де його діаметр менший, при цьому починається
виділення соку, а на тій затиснутій ділянці бадилля, де діаметр менший,
можливий частковий злам бадилля. При подальшому крученні наявні поздовжні
тріщини поглиблюються, відбувається розшарування стебла вздовж твірних,
продовжується виділення соку; усе це відбувається інтенсивніше на ділянці, де
діаметр стебла малий, і слабший в середині стебла (на товстій ділянці стебла
деформація досить мала). Через 900°…1100° повороту одного кінця стебла відносно
іншого відбувається сильне скручування частини стебла
меншого діаметра в затискачі, де
утвориться шийка, тут можливий злам, а сік
продовжує виділяться.
Після
повороту однієї частини стебла відносно іншої на 1400°…1800° у скрученій
частині стебла, де діаметр малий (у зоні шийки), з'являється відкритий злам і
частковий обрив стебла. Повний обрив відбувається в цьому місці через
6...10 обертів однієї затиснутої частини стебла відносно іншої. Також
конусна частина стебла, де діаметр найбільший, виявляється мало перекошеною,
тобто вона мало деформована. Чим менша конусність стебла, тим більше скручується і та частина стебла, де його діаметр
значний. Після зняття навантаження стебло завдяки своїй пружності трохи
відновлює свою форму, один його кінець повертається в зворотний бік відносно
іншого, але він залишається скрученим і трохи розплющеним на ділянці, де
діаметр його малий.
Такі ж явища відбуваються при крученні
стебла барбара, різниця лише в тім, що обрив відбувається через 5...6 обертів
закручування одного кінця стебла щодо іншого.
|
Табл. 3.8.
Показники кручення стебел |
Значення
кута, рад/м |
jраз0 |
34,2...57,1 |
23,5...51,8 |
44,5...91,9 |
25,2...46,1 |
66,8...125,0 |
125,0...195,0 |
29,0...44,0 |
30,0...39,0 |
|
jmo |
2,8...3,8 |
2,1...9,9 |
2,1...3,8 |
2,0...9,0 |
7,0...51,5 |
53,1...56,7 |
29,0...44,0 |
30,0...39,0 |
||
|
jnpo |
0,9...1,6 |
1,0...1,8 |
1,0...1,4 |
0,8...2,2 |
4,5...8,0 |
4,4...7,0 |
2,5...3,5 |
1,2...2,0 |
||
|
Значення
моментів, Н·м·10.-3 |
Мк max |
6,0...7,0 |
45,0...91,0 |
8,2...13,5 |
72,0...223,0 |
2,8...7,6 |
13,5...50,0 |
80,0...120,0 |
85,0...95,0 |
|
|
Млтз |
2,7...3,6 |
28,0...54,0 |
4,4...6,2 |
25,0...126,0 |
1,8...3,6 |
9,0...13,5 |
25,0...35,0 |
4,8...8,0 |
||
|
Средній діаметр стебел, мм |
3,0...4,0 |
3,4...4,4 |
4,6...5,2 |
3,8...5,1 |
1,5...1,8 |
1,2...1,6 |
6,0...9,0 |
11,0...14,0 |
||
|
Стан стебла |
Свіжо- зібрані |
Сухі |
Свіжо- зібрані |
Сухі |
Свіжо- зібрані |
Сухі |
Свіжо- зібране |
Свіжо- зібрана |
||
|
Найменування матерілу |
Стебла пшениці |
Стебла жита |
Стебла льону |
Картоплиння |
Гичка буряка |
|||||
Як відомо з курсу опору матеріалів, кут
закручування стебла при невеликих деформаціях кручення тим більший, чим більші
параметри
і
, і тим менший, чим більший модуль зсуву
і полярний момент
інерції січення стебла
. Ця залежність має вигляд:
. Дана залежність значною мірою справедлива і для рослинних
матеріалів при крученні в межах ділянки OABFG1
кривої діаграми (рис. 3.39). Добуток
являє собою жорсткість
матеріалу при крученні.
Релаксація напружень при крученні
одиничних матеріалів досліджується з урахуванням відомої з курсу опору
матеріалів залежності максимального напруження від крутного моменту, діючого на
циліндричний стрижень. Це максимальне напруження
діє на поверхні
стрижня і рівне:
, (3.39)
де
– полярний момент
опору січення матеріалу. Для
не пустотілого (заповненого) стрижня
, де d – діаметр
стрижня; для пустотілого стрижня
, тут
, з них
– діаметр внутрішньої
окружності січення стрижня, а d –
діаметр зовнішньої окружної січення стрижня.
З
рівності (3.39) видно, що при постійному моменті
напруження прямо
пропорційне моменту
. Це означає, що закономірність падіння напружень у
скрученому матеріалі під час релаксації буде аналогічна закономірності падіння
крутних моментів. Враховуючи це, нижче для випадку деформації кручення стебла
замість аналізу явища падіння напружень представляється аналіз падіння крутних
моментів. Застосовуючи цей метод аналізу релаксації скрученої рослини, ми
можемо не аналізувати розподіл напружень по січеннях стебла, у якого при
великому куті закручування мають місце ушкодження, циліндрична форма його
перекручена, а однорідність його структури порушена.
Як показав аналіз дослідних даних, закономірності зміни
крутних моментів, і деформацій з часом через релаксацію і повзучість при крученні одиничних
матеріалів принципово такі ж, які представлені на рис.
3.9, а і б для випадку розтягу матеріалів. Різниця тільки в тому, що по
одній осі ординат замість
відкладається момент
, а по іншій осі
ординат замість
– кут закручування
(кутова деформація)
. Вид цих графіків, побудованих для випадку деформації
кручення рослини, показаний на рис. 3.40.
Пояснення до цього рисунка в принципі
такі ж, як і до рис. 3.9. Формули для визначення функцій
і
виводяться тут так
само, як формули (3.5), (3.6), (3.8) і інші, виведені до рис. 3.9.
Враховуючи це, залежності для визначення величин
,
і
на ділянці
матимуть вигляд:
(3.40)
, (3.41)
де
,
і
– крутні моменти, з центрами, відповідно в точках
, В і К на кривій
рис. 3.40, а.

а
б
Рис. 3.40. Криві
релаксації моментів (а) і І стадії
повзучості (б) при крученні рослини
Рівняння
прямолінійної горизонтальної частини
графіка на рис. 3.39, а, що починається в точці К,
буде:
(3.42)
Початкова
швидкість падіння крутних моментів, при релаксації
буде:
.
(3.43)
Спрямована
ця швидкість по дотичній до кривої
в точці
під кутом 3600-
, де
.
Ступінь зменшення
моментів
у даному випадку
рівний:
. (3.44)
Залежності величин a2, b2
і
від t на ділянці
кривої повзучості на
рис. 3.40, б матимуть вигляд:
(3.45)
,
(3.46)
де
,
,
– кути закручування
стебел у рад відповідно в точках
, E і L на кривій рис. 3.40, б.
Початкова
швидкість росту деформації при повзучості
буде:
. (3.47)
Спрямована
ця швидкість по дотичній до кривої
в точці
під кутом
, рівним
. Ступінь зростання деформацій
у даному випадку
рівний:
. (3.48)
За
наведеними залежностями оброблені результати раніше проведених дослідів по
крученню рослин. При цьому встановлено, що релаксація моментів при крученні
сухого стебла льону діаметром 1,2 мм мала місце від Мко =0,006 Н×м до Мкк =0,005 Н×м, час
був рівним 3,0 години,
було –7,0.104 Н×м×год-1, а показник
був рівним 1,2.
Повзучість І стадії скрученого
стебла льону діаметром 1,5 мм, коли крутний момент складав 0,01 Н×м, мала місце при
0,4 год, кут
був 1,5 рад, кут
був 3,0 рад,
коефіцієнт а2, рівний
, був 10,0 рад×год-1,
b2 було –15,5 рад×год-2, а показник
був рівним 2,2. У
такого ж сухого стебла діаметром 1,8 мм, скрученого моментом 0,04 Н×м, повзучість мала місце при
0,4 год, кут
був рівним 0,2 рад,
кут
був 0,7 рад,
коефіцієнт а2, рівний
, був 3,0 рад×год-1,
b2 було –2,5 рад×год-2, а показник
був рівним 4,0.