Лабораторна робота
№3
Вивчення
конструкції електромагнітного механізму контактора постійного та змінного
струму
Мета роботи: Ознайомитися
з конструктивними особливостями контакторів постійного та змінного струму, а
також з погодженням механічних та тягових характеристик контакторів.
Теоретичні
відомості
Контактор являє собою
електромагнітний апарат, призначений для частих дистанційних комутацій силових
електричних кіл.
Контактори
розрізняються:
- за родом
струму кіл, які комутуються;
- за
кількістю головних контактів;
- за родом
струму кола котушки;
- за
номінальним струмом і напругою кіл, які комутуються;
- за
конструктивним виконанням.
Основними
вузлами контактора є: контактна система (головні, силові і допоміжні
блок-контакти), дугогасна система та електромагнітна система.
Контактори
призначені для установлення в пристроях, які доступні для кваліфікованого
персоналу. Тому вони мають конструкцію з незахищеними від доторкання
струмопровідними елементами.
При
частих комутаціях контакторів відбувається знос його контактів. Здатність
контакторів забезпечувати роботу при великому числі операцій називається
зносостійкістю.
Механічна
зносостійкість визначається числом комутацій контактора без ремонту і заміни
його вузлів при знеструмленому колі. Вимоги:
операцій.
Електрична
зносостійкість визначається числом комутацій, після якого потрібна заміна
контактів. Вимоги:
операцій.
Контактори
повинні мати малу вагу і розміри. Зона викиду розжарених газів дуги має бути,
по можливості, малою.
Основним
параметром контактора є номінальний струм, який визначає його величину
(розміри). Контактор ІІ величини має
, ІІІ -
і т.д.
Номінальним
струмом контактора називається струм переривчасто тривалого режиму роботи. При
цьому режимі контактор знаходиться у ввімкненому стані не більше 8 годин. По
закінченню цього проміжку він має декілька разів вмикатись і вимикатись. Далі
контактор знову вмикається.
В
тривалому режимі роботи допустимий струм зменшується на 20%, оскільки через
окислення мідних контактів зростає перехідний опір, що може призвести до
перевищення допустимої температури контактора. З метою збереження
на контакти робиться
напайка із срібної пластини.
В
повторно-короткочасному режимі контактора при ТВ%=40%,
.
Основні
конструктивні вузли контакторів постійного і змінного струму, їх призначення,
виконання, взаємодія
Однополюсний
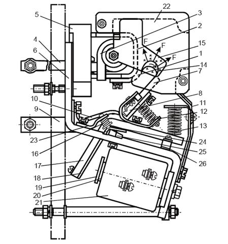
контактор постійного струму наведений на рис. 1.

Рис.1. Однополюсний контактор постійного струму
Усі вузли й деталі кріпляться на основній скобі 6, що має Z-подібну форму. Скоба є також магнітопроводом електромагнітного контактора. На
нижньому кінці скоби за допомогою болта закріплено осердя 20 з полюсним
наконечником 19. На осерді розміщується
котушка намагнічування 21. На верхньому кінці скоби встановлена пластмасова підкладка 5 із закріпленими на ній дугогасною котушкою 3, дугогасним
рогом 2 нерухомих контактів, нерухомим контактом 1, дугогасними
щоками 15 і дугогасною камерою 22. Остання
втримується на виступі дугогасного рогу нерухомого контакту лише власною вагою й може бути легко знята без
відгвинчування яких-небудь деталей.
Скоба 6 має прямокутний проріз, у яку вставляються якір 17
Г-подібної форми. Якір несе на собі рухомий контакт 7, який містить контактну пружиною 12. Рухомий контакт може вільно повертатися на призмі 8, завдяки чому
забезпечується можливість перекочування контактної поверхні рухомого
контакту по контактній поверхні нерухомого
контакту при включенні й відключенні контактора. Контактна пружина 12 створює в контакті необхідне натискання й дозволяє
здійснити провал контактів. Дугогасним рогом
11 рухомого контакту слугує пластина, закріплена на Z-подібній
скобі. Рухомий
контакт з'єднується з вивідною шинкою 9
гнучким зв'язком 10. Вводом є шинка 4.
Електрична дуга 14, що виникає при
відключенні між рухомим і нерухомим контактами, заганяється електродинамічною силою у вузьку щілину дугогасної
камери 22. Котушка 3 магнітного дуття створює магнітний потік, що осердям й дугогасними щоками 15 підводиться у дуговий проміжок, що приводить до
зростання сили F. Повернення якоря у вихідне положення після відключення контактора проходить під впливом зворотної
пружини 13. З метою підвищення механічної
зносостійкості обертання якоря 17 виконано на зустрічних призмах 24 і 25. На якорі закріплена
пластина 18, у яку впирається призма-вставка
25, закріплена на Z-подібній скобі, та штифт-призма 24.
Штифт-призма 24 притискається до пластини 18 циліндричною
пружиною 16, насадженою на цей штифт. Іншим
кінцем пружина 16 впирається у фасонну пластину
23. За допомогою пружини 16 усувається можливість появи зазору між пластиною 18 і вставкою-призмою
25.
Контактори
постійного струму виготовляються з одним або двома полюсами на
головних контактів від
4 до 2500 А. Головні контакти здатні вимикати струми перевантаження
.
Промисловість
випускає декілька серій контакторів постійного струму. Для важких умов роботи
призначені контактори серій КПВ600 і КПВ620 з одним головним контактом на
струми від 100 до 630 А. Для застосування в електроприводах постійного струму
випускається К серій КП і КПД з одним або двома головними контактами на струми
від 25 до 250 А.
Контактори
змінного струму за принципом дії та основними елементами конструкції не
відрізняються від контактора постійного струму. Особливості їх роботи зв’язані
з живленням котушок змінним струмом, що призводить до підвищеного струму в
котушці при спрацюванні. Тому для цих контакторів обмежується число вмикань за
годину (не більше 600). Крім того, пульсуючий магнітний потік вимикає вібрацію
і гудіння магнітопроводу, а також його підвищений нагрів. Для зменшення цих
факторів магнітопровід набирають із тонколистової трансформаторної сталі, а на
осерді або якорі розміщують короткозамкнений виток .
У
контакторів змінного струму умови гасіння дуги легші, так як дуга менш стійка і
може погаснути при проходженні струму через нуль.
Контактори
змінного струму серій КТ6000, КТ7000, КТП 600 випускаються на струми від 63 до
1000 А і мають від 2 до 5 головних контактів.
Контактори
серій КТ64, КТП64, КТ65 і КТП65 є модифікацією вище указаних серій контакторів.
В них здійснюється бездугова комутація контактів шляхом шунтування їх
тиристорами під час їх розмикання. Це дозволяє довести число вмикань до 2000 за
годину.
Погодження
механічних та тягових характеристик контакторів
При
вмиканні електромагніт переборює дію сил контактної пружини і пружини
повернення. Тягова характеристика електромагніту має іти вище механічної
характеристики пружини при min
і коли котушка
нагріта.
Максимальна
напруга на котушці не повинна перевищувати
. Якщо
, то збільшується знос контактів через посилення ударів
якоря, а температура котушки може перевищувати допустиму.
З
метою зменшення Н.С. котушки і потужності, яку вона споживає, робочий хід якоря
вибирається 8…10мм. В зв’язку з тим, що для надійного гасіння дуги при малих
струмах необхідний розхід контактів складає 17…20мм, відстань точки торкання
рухомого контакту від осі обертання рухомої системи береться в 1,5…2 рази
більшою за відстань від осі полюса до осі обертання.
В
особливо важких умовах приходиться працювати електромагніту контактора з
розмикаючими контактами. Тягова і механічні характеристики протидіючих пружин
наведені на рис. 2.
Пружина
повернення в розімкнутому стані магнітного кола створює силу, яка достатня для
отримання необхідного насичення розмикаючих контактів. На початку ходу якоря
приходиться переборювати силу, яка дорівнює різниці сил пружини повернення 2 і
контактної пружини 3. При розмиканні контактів при майже max
якорю доводиться
долати значну силу
. Це потребує збільшення Н.С. і площі полюса електромагніту ,
що веде до зростання його габаритів і споживаної потужності. Щоб усунути це
негативне явище застосовується форсування. Контактор забезпечується розмикаючим
контактом і економічним опором. Оскільки процес вмикання триває короткочасно,
то в обмотці можна допустити високу щільність струму. В результаті, при малому
габариті котушки можна отримати значну Н.С.

Рис. 2. Тягова характеристика контактора і механічні
характеристики протидіючих пружин
При
зменшенні зазору тягова характеристика електромагніту змінного струму
піднімається менш круто ніж в електромагнітах постійного струму. Завдяки цьому
тягова характеристика близько підходить до механічної. В результаті, напруга
відпускання близька до напруги спрацювання. Відносно великий коефіцієнт
повернення
дає змогу здійснити
захист обладнання від спаду напруги. При спаданні напруги до
відбувається
відкидання якоря і вимкнення обладнання.
Порядок виконання
роботи
1.
Ознайомитися з класифікацією контакторів.
2.
Ознайомитися з основними вузлами контактора.
3.
Дослідити погодження механічних характеристик контактора з тяговими.
4.
Підготувати звіт по лабораторній роботі.
Контрольні питання
1.
Як класифікуються контактори постійного та змінного струму?
2.
З яких основних вузлів складається контактор?
3.
Які серії контакторів постійного струму і на які струми випускає промисловість?
4.
Які серії контакторів змінного струму і на які струми випускає промисловість?
5.
Яким чином необхідно погодити тягову та механічну характеристики контакторів?