7.4. Розрахунок валів на статичну міцність
Перевірку статичної
міцності валів виконують із метою запобігання появі пластичних деформацій
під час дії короткочасних перевантажень. Щоб виконати розрахунок,
слід мати всі розміри вала та його форму, які потрібні для правильного
складання розрахункової схеми.
Умову статичної міцності
вала беруть у вигляді:
σE max =
σE · KП ≤ [σ]E, (4)
де σE
max – максимальне еквівалентне
напруження у небезпечному перерізі вала; σE – еквівалентне
напруження, яке обчислюють за номінальним розрахунковим навантаженням; KП
= Tmax / T – коефіцієнт,
що враховує короткочасні перевантаження;
[σ]E ≈ 0,8 · σT – допустиме еквівалентне напруження.
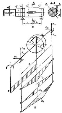
Розглянемо розрахунок вала зубчастої передачі, за конструкцією (рис. 10, а), а розрахункова схема із епюрами згинального та крутного
моментів – на (рис. 10, б).
Вал має діаметри окремих ступенів d1 – d5, а його опорні цапфи – діаметри d3 і d5. Відстань
від середнього перерізу вала під зубчастим колесом до центрів його опор 1 і 2 відповідно дорівнюють a і b. Вал навантажений зовнішнім обертовим моментом Τ та силами Ft, Fr і Fa, які виникають у
зачепленні колеса діаметром d і
передаються на вал.
Для даної схеми навантаження радіальні реакції опор вала (окремо
від дії кожної з сил Ft, Fr
і Fa) визначаються
за такими співвідношеннями:
R1t = Ft · b / (a +
b);
R2 t = Ft · a / (a + b);
R1r = Fr · b / (a + b); R2r = Fr · a / (a +
b);
Rla = R2a =
0,5·Fa · d / (a +
b).
Сумарні радіальні реакції опор вала знаходимо як результат
геометричної суми окремих складових:
;
. (5)
Осьова реакція опори 1 дорівнює осьовій силі Fa, тобто Rx1 = Fa.
Після побудови епюр згинальних моментів Μ (також окремо від дії сил Ft, Fr і Fa) та крутного моменту Τ можна стверджувати, що найнебезпечнішим перерізом вала
буде його переріз А – А (рис. 10, а) під зубчастим колесом. У цьому перерізі діють крутний
момент, який дорівнює зовнішньому обертовому моменту Т, та максимальні згинальні моменти Мг, Ма і Mt відповідно від сил Fr, Fa і Ft:
Mr = R1r · a = R2r · b; Ma = Rla · a; Mt = R1t · a = R2t · b.
Результуючий максимальний згинальний момент Mmax
визначається як геометрична сума окремих складових:
.
(6)
Згідно з наведеною схемою навантаження вала у перерізі А – А мають місце нормальне напруження згину σзг,
дотичне напруження кручення τ та напруження стиску σc ,
яке обумовлене осьовою силою Fa
та осьовою реакцією Rx1
опори 1 вала Тому еквівалентне напруження можна визначити за формулою:
,
(7)
де складові
напруження:
σ3Γ = 32 · Mmax / (π · d43); σс = 4 · Fa / (π · d42);
τ = 16 · T / (π · d43). (8)
Отже, визначивши еквівалентне напруження σE для
небезпечного перерізу вала та маючи коефіцієнт КП короткочасних перевантажень, можна перевірити за
умовою (4) статичну міцність вала при його перевантаженнях.

Рис. 10. До розрахунку вала на статичну міцність