3. ПЕРЕДАЧІ ГВИНТ – ГАЙКА
3.1. Загальні відомості
Передачі гвинт –
гайка застосовують для перетворення обертового руху у поступальний. Вони
використовуються у різних галузях техніки – від точного приладобудування до
важконавантажених приводів натискних пристроїв прокатних станів, гвинтових
пресів та підйомних механізм в кранів. Такі передачі створюють значні сили,
забезпечують точні переміщення робочих органів різних верстатів та приладів або
виконують функції регулювальних пристроїв.

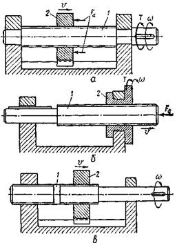
Рис.
1. Схема передачі гвинт – гайка
На рис. 1
показані схеми передач гвинт – гайка. За схемою передачі на рис. 1, а обертовий
рух гвинта 1перетворюється в поступальний рух гайки 2, а за схемою на рис. 1, б, навпаки, обертовий
рух гайки 2 перетворюється
у поступальний рух гвинта 1. На схемі рис. 1, б показана передача для
здійснення надзвичайно повільного поступального руху гайки 2 при обертанні гвинта 1. Тут
гвинт має дві різьбові ділянки з малою різницею кроків різьби.
Передачі гвинт –
гайка забезпечують великий виграш у силі та повільні переміщення, мають високу
несучу здатність при малих габаритних розмірах, високу точність переміщень,
простоту конструкції та виготовлення. До
недоліків таких передач належать наявність великих втрат на тертя у гвинтовій
парі, що спричинює значне спрацювання та низький ККД передачі.
Передачі гвинт –
гайка за призначенням поділяють на силові
і кінематичні, а за видом тертя –
на передачі з тертям ковзання і передачі з тертям кочення. Останні мають
високий ККД, але складні за конструкцією і досить дорогі у виготовленні.