Додаток Г. Приклади оформлення
аксонометричних схем систем, вузлів систем інженерних мереж

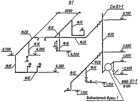
Рис. Г.1. Приклад оформлення аксонометричної схеми системи
водопостачання будівлі

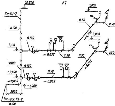
Рис. Г.2. Приклад оформлення
аксонометричної схеми системи побутової каналізації К1 будівлі

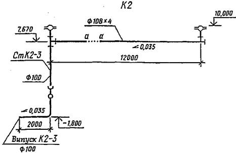
Рис. Г.3. Приклад оформлення аксонометричної схеми вузла системи
дощової каналізації К2 будівлі

Рис. Г.4. Приклад оформлення
аксонометричної схеми водомірного вузла системи водопостачання будівлі

Рис. Г.5.
Приклад оформлення аксонометричної схеми системи водяного опалення поверху
будівлі

Рис. Г.6.
Приклад оформлення аксонометричної схеми вузла системи водяного опалення
будівлі

Рис. Г.7. Приклад оформлення аксонометричної
схеми системи припливної механічної вентиляції П1 будівлі

Рис. Г.8. Приклад оформлення
аксонометричної схеми системи витяжної механічної вентиляції В18 будівлі