Додаток
В. Приклади оформлення планів, фрагментів та розрізів систем інженерних мереж
|
План ВК |
|
|
|
Рис. В.1. Приклад оформлення плану систем водопроводу і каналізації
будівлі |

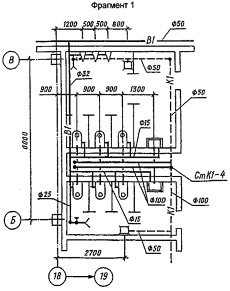
Рис.
В.2. Приклад оформлення Фрагменту 1 плану систем водопроводу і каналізації
будівлі

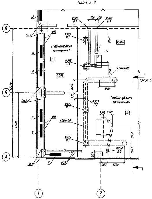
Рис.
В.3. Приклад оформлення плану систем опалення та вентиляції будівлі. План 2-2.
(2-2 вказує на познаку площини горизонтального розрізу)

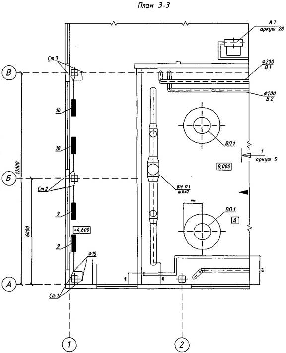
Рис.
В.4. Приклад оформлення плану системи опалення та вентиляції будівлі. План 3-3
(3-3 вказує на познаку площини горизонтального розрізу)

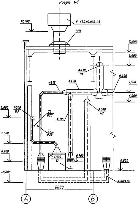
Рис.
В.5. Приклад оформлення Розрізу 1-1 системи вентиляції будівлі