ПРАКТИЧНА РОБОТА № 6.
РЕМОНТ ПОБУТОВОГО ХОЛОДИЛЬНИКА
КОМПРЕСІЙНОГО ТИПУ (НА ПРИКЛАДІ ХОЛОДИЛЬНИКА «ДОНБАС»)
ОРГАНІЗАЦІЯ РЕМОНТУ КОМПРЕСІЙНИХ
ХОЛОДИЛЬНИКІВ І МОРОЗИЛОК
Організаційні форми надання послуг, а також методи і
засоби ремонту холодильників обумовлюються специфічністю умов їх експлуатації,
а також їх конструкторсько-технологічними особливостями.
Найбільш складною в ремонті складовою частиною
холодильника є холодильний агрегат. Технологічна схема ремонту холодильного
агрегату повинна містити наступні обов'язкові операції:
- дефектация агрегатів з використанням сучасних засобів і
методів діагностування;
- видалення з системи холодоагенту і масла;
- розпаювання стиків;
- промивка і сушка вузлів холодильного агрегату з метою
видалення з них залишків вологи, масла і забруднення;
- оброблення стиків;
- сушка і вакуумування агрегату з метою видалення вологи,
що залишилася в системі, і газів, що не конденсуються;
- збірка агрегатів і пайка стиків сполучних патрубків;
- перевірка холодильного агрегату на герметичність;
- сушка холодоагенту і масла, регенерація цеолітових
патронів;
- вакуумування і заповнення агрегату маслом і
холодоагентом із строгим дозуванням;
- перевірка на відсутність витоку холодильного агента;
- обкатка холодильного агрегату (перевірка на утворення
снігової шуби і споживчу потужність) і перевірка електричних параметрів (опір
ізоляції, пробій ізоляції);
- перевірка холодильного агрегату на відповідність
вимогам нормативно-технічної документації (РСТ, ТУ) на відремонтований агрегат
по рівню звуку.
Виходячи з
вказаних передумов, організація
ремонту холодильників включає як найнеобхідніші наступні заходи:
- оснащення спеціалізованих цехів і ділянок по ремонту
холодильників і холодильних агрегатів необхідним устаткуванням, що забезпечує
необхідну якість ремонту;
- забезпечення лінійних механіків переносною апаратурою
(зокрема засобами для ремонту холодильних агрегатів) і транспортом,
пристосованим для перевезення цієї апаратури, запасних частин і холодильників;
- організацію чіткої роботи матеріально-технічного
забезпечення з метою своєчасного і повного задоволення потреб ремонтних підприємств в
запасних частинах, матеріалах і устаткуванні;
- підвищення оперативності управління виробництвом;
- впровадження нових форм обслуговування, таких, як
абонементне, терміновий ремонт і ін.
Холодильник відноситься до електромеханічних виробів,
виконаних по ступеню захисту від поразки струмом без заземлення (клас 0), тому
поводження з ним, особливо при його несправності, вимагає дотримання певних
правил безпеки праці, щоб уникнути поразки струмом. Крім того, невміле
поводження з холодильником при його перевірці і розбиранні може привести до
пошкодження трубопроводу і виходу холодоагенту.
Небезпека поразки струмом при перевірці і ремонті
холодильника виникає в наступних випадках:
- за наявності напруги на затисках пускозахисного реле,
датчика реле температури і в місцях пошкодження електропроводки;
- при короткому замиканні в електропроводці холодильника
або замиканні на корпус.
Персонал, що займається технічним обслуговуванням і
ремонтом побутових холодильників, допускається до роботи лише після вивчення
відповідних правил техніки безпеки і складання відповідного іспиту.
Загальні рекомендації, що відносяться до заходів безпеки
при перевірці холодильника:
Перевіряти
електроустаткування і усувати в нім несправності можна тільки після того, як
холодильник буде відключений від електричної мережі (вилка сполучного шнура
від'єднана від розетки). Проводити технічне обслуговування включеного
холодильника слідує тільки в необхідних випадках (наприклад, при перевірці
запуску компресора і ін.). При цьому повинні бути дотримані всі запобіжні
засоби: надіті діелектричні рукавички, монтерський інструмент повинен бути з
ізолюючими ручками.

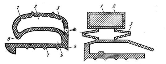
1 – опора; 2 – піддони для овочів і фруктів; 3 –
скляна полиця; 4 – металева полиця; 5 – ємність для риби; 6 – кришка;
7 – піддон випарника; 8 – ручка терморегулятора; 9 – вкладиш для яєць; 10 –
двері холодильника; 11 – піддон для талої води
При демонтажі датчика-реле температури на тривалий час
від’єднанні від нього кінці проводів повинні бути ретельно ізольовані щоб
уникнути їх замикання на корпус при випадковому включенні холодильника в
мережу.
При заповненні (випуску) холодоагентом холодильного
агрегату слід остерігатися попадання хладона на руки, шкіру і особливо в очі.
Забороняється палити під час роботи із застосуванням холодильного агента або
застосовувати відкритий вогонь.
У разі попадання агента в очі необхідно швидко і промити їх струменем чистої води, надіти
темні окуляри (не слід забинтовувати або накладати пов'язку) і негайно
звернутися до лікаря.
При попаданні хладона на шкіру уражене місце слід
занурити в чисту теплу воду на 5—10 хв. і осушити його не розтираючи. Потім
обморожене місце змастити рослинною олією або маззю Вишневського.
За допомогою магнітної вставки,
яка знаходиться в середині еластичного ущільнення, закріпленого по периметру
внутрішньої панелі дверей, двері щільно прилягають до шафи. В холодильнику
передбачено можливість перевішування дверей для право- і ліво- бічного
відчинення.
Холодильний агрегат компресійного типу. У верхній частині холодильної камери розташований випарник, який зачиняється спеціальними дверцятами.

1– компресор, 2 – нагнітальна трубка, 3 – фільтр, 4
– конденсатор, 5 – випарник,
Ремонтні
роботи.
Перевішування дверей.
У холодильниках „Донбас – 10М” і
„Донбас – 10ЕС” відгвинтити три гвинти на решітці сервірованої площини, зняти
решітку і зсунути сервісну пластину по пазах на довжину, що дає вільний доступ
до верхньої петлі. Зняти накладку верхньої петлі та декоративні накладки, що
затуляють отвори під болти верхньої петлі у холодильнику „Донбас – 10Е” та
нижньої петлі у холодильниках „Донбас – 10М” й „Донбас – 10ЕС” з лівого боку
шафи. Відгвинтити два болти верхньої петлі, притримуючи двері холодильника,
зняти петлю разом із прокладкою. Зняти двері з вісі нижньої петлі, трішки
піднявши двері. Відгвинтити два болти нижньої петлі, зняти її разом із
прокладкою та регулювальною пластиною. На верхній та нижній петлях зняти вісі і
закріпити їх в отворах зліва. Закріпити нижню петлю на лівому боці
холодильника. Поміняти місцями заглушку і верхню втулку на ручці дверей.
Поміняти місцями обмежувач з нижньої втулки і заглушку у верхній частині
дверей. Встановити двері на нижню петлю. Ввести вісь верхньої петлі у втулку і
закріпити петлю. У випадку нещільного прилягання дверей до шафи усунути щілини. Встановити
накладки в холодильниках „Донбас – 10Е”. Встановити сервісну пластину і решітку
в холодильниках „Донбас – 10М” і „Донбас – 10ЕС”.
Перевірка щільності прилягання
дверей та усунення щілин.
Ущільнювач дверей холодильника
повинен міцно прилягати до корпусу шафи по всьому периметру, коли двері холодильника
зачинені. Щільність прилягання дверей перевіряють щупом з кольорового металу
товщиною 0,1мм та шириною 10мм або паперовою стрічкою тих же розмірів. При
якісному ущільненні дверей проміжків між болтами шафи та ущільнювачем бути не
повинно і щуп повинен утримуватись.
Рис. 10



Для усунення рівномірного
проміжку по всій довжині дверей
необхідно зняти накладку з верхньої петлі дверей,
послабити затяжку болтів кріплення верхньої і нижньої петель, вийняти з-під
нижньої петлі регулюючу пластину, затягнути болти нижньої петлі і, притиснувши
двері до шафи, затягнути болти верхньої петлі. Якщо проміжок не усунений
повністю, то операцію зі зняттям регулюючих пластин повторити. Встановити
накладку верхньої петлі.
Щілину на боці, протилежному
навісам дверей, усувають шляхом ослаблення притискання ущільнювача дверей до
шафи і встановленням додаткової регулюючої пластини на нижній петлі.
Для усунення місцевої щілини
відгвинтити болти кріплення панелі біля місця виявленого проміжку. Покласти
картонну прокладку шириною 8 –
Заміна рамки з дверцятами
випарника.
Зняти піддон, відчинити дверцята
випарника. Підтягнути донизу верхню центральну частину рамки до виходу двох
штирів рамки з отворів та вийняти її з камери. Зняти рамку разом із дверцятами
з кронштейнів.
Встановлення рамки з дверцятами
проводять у зворотному порядку.
Перевішування дверцят
випарника.
Цю операцію здійснюють одночасно
з перевішуванням дверей холодильника. Зняти рамку з дверцятами, вивести пружину
із зачеплення з верхньою частиною рамки, натискаючи на нижній кронштейн дверцят
з боку рамки і розширюючи проміжок між дверцятами та рамкою, вивести нижній
кронштейн за межі рамки, вивести кронштейн із пружиною з рамки. Розібрати
дверцята. Змінити положення пружини на протилежне. Зібрати дверцята, встановити
їх у рамку в зворотному порядку.
Заміна вимикача.
Від’єднати холодильник від
електромережі. Зняти вимикач із защіпкою, розібрати вимикач, відпаяти дроти. У
випадку необхідності, замінити вимикач на новий. Встановлення провести в
зворотному порядку.
Заміна датчика-реле
температури і приладу напівавтоматичного керування відтаванням.
Від’єднати холодильник від
електромережі. Зняти рамку з дверцятами випарника, відгвинтити гвинти кріплення
сільфонних трубок датчику-реле температури і приладу напівавтоматичного
керування відтаванням до випарника і до стінки камери. Зняти ручку
терморегулятора, потягнувши її на себе. Зняти плафон. Зняти пластинчаті
затискачі з клем датчика-реле температури і приладу керування відтаванням.
Вийняти обидва прилади і замінити неробочий прилад. Встановлення провести у
зворотному порядку.
Заміна холодильного
агрегату.
Зняти рамку з дверцятами
випарника. Звільнити сільфонні трубки від випарника, відгвинтити гвинти
кріплення фіксуючої планки. Відгвинтити болти кріплення мотор-компресора до
днища холодильника. Від’єднати дроти, що надходять до пусково-захисного реле.
Відгвинтити гвинти кріплення кожуха конденсатора до кронштейнів задньої стінки.
Зняти зовнішній фланець. Зняти теплоізоляцію, потім – внутрішній фланець. Зняти
мотор-компресор з холодильника і встановити на підвіску. Вийняти випарник із
шафи через вікно в задній стінці й повісити його на підвіску.
Встановлення агрегату здійснюють
у зворотному порядку.
. Таблиця. 3
Можливі характерні несправності
компресійних холодильників типу „Донбас” і засоби їх усунення
|
Причина |
Засіб усунення |
|
1) Не запускається холодильний агрегат. |
|
|
Несправність електропроводки, немає контакту на
клемах з’єднань. |
Перевірити контакти. |
|
Несправний прилад відтавання (під час натискання
на кнопку відсутнє клацання від розмикання контактів). |
Від’єднати холодильник від електромережі,
вийняти прилад відтавання, від’єднати дроти від клем і з’єднати ці дроти між
собою, ізолювати їх. Якщо після цього холодильник буде працювати, замінити
прилад. |
|
Витікання фреону з сільфону датчика-реле
температури. |
Відключити холодильник. Зняти затискачі з клем
датчика-реле температури, з’єднати їх між собою, ізолювати. Якщо після цього
холодильник буде працювати, поміняти прилад. |
|
Несправне пускове або захисне реле. |
Замінити реле. |
|
Вийшла з ладу робоча або пускова обмотка
електродвигуна. |
Перевірити всі з’єднання електропроводки, а
також кріплення та справність реле. Якщо електродвигун не працює, а всі
прилади справні, перевірити ланцюг робочої та пускової обмоток. При
виявленому обриві замінити агрегат. |
|
2) Холодильний агрегат не працює, електродвигун
гуде та швидко
відключається. |
|
|
Міжвіткове замикання в електродвигуні |
Заміна холодильного агрегату. |
|
Заклинення компресора. |
— // — |
|
3) Підвищений шум, холодильник гуркотить. |
|
|
Неправильна установка холодильника. |
Добре встановити холодильник, підкручуючи ніжки. |
|
Труби агрегату стикаються між собою або з
корпусом. |
Відігнути трубку або прокласти м’яку прокладку
на місці стикання. |
|
4) Холодильник працює але охолодження
недостатньо. |
|
|
Велика „шуба” на випарнику. |
Вчасно проводити відтавання. |
|
Невірно виставлений режим на датчику-реле
температури. |
Встановити вірний режим на датчику-реле
температури. |
|
Витікання хладону із системи холодильного
агрегату (можливо знайти місце витоку хладону за наявністю плям масла). |
Замінити агрегат або здати в спеціалізовану
майстерню для ремонту. |
|
Нещільне прилягання дверей. |
Відрегулювати прилягання дверей, при
необхідності замінити ущільнювач. |
Примітки: компресійні холодильники
можуть працювати при падінні напруги в електромережі не більш як на 15% від
номінального. Якщо падіння напруги буде більше 15%, холодильний агрегат не
запуститься.
Ремонтні операції, які
виконують у майстерні.
Ремонт побутових холодильників та
морозильників, в залежності від складності та умов виконання, поділяється на
ремонт, який можливо провести безпосередньо на місці і на ремонт в
спеціалізованій майстерні.
До першого виду відноситься
ремонт несправностей шляхом нескладної заміни деталей або шляхом регулювання
окремих вузлів та приладів.
До другого виду відносять такий
ремонт, який немає можливості виконуватись у домашніх умовах. Розглянемо
основні операції, які виконуються в спеціалізованих майстернях.
Ремонт алюмінієвих
випарників методом паяння.
На підприємствах побутового
обслуговування населення широко використовують метод паяння алюмінієвих
випарників. Паяння алюмінієвих випарників рекомендовано частіше за все при
пітинговому (крапковому) роз’їданні алюмінієвого листа випарника.
а) Особливості паяння
алюмінію. При газовому паяні тонкостінних деталей (товщина менше
Наявність на поверхні металу
тугоплавкої плівки окислів, яка дуже відрізняється за своїми властивостями від
самого металу, потребує спеціального технологічного паяння. Для паяння місця з
крапковою корозією необхідно зруйнувати плівку окислів. Температура плавлення
окислів алюмінію дорівнює 2050 0С,
що майже дорівнює температурі кипіння алюмінію (2060 0С). Температура
плавлення алюмінію 660 0С (а сплавів – ще менша), через це просто
тепловою дією зруйнувати плівку окислів практично неможливо. В зв’язку з цим
при паяні та зварюванні алюмінію використовують спеціальні флюси, що руйнують
тугоплавкі оксидні плівки алюмінію. Флюси складаються, головним чином, зі
сплавів хлористих та фтористих солей лужних та рідкоземельних металів та їх
природних з’єднань, наприклад креоліта. Розплавлений флюс розчиняю тугоплавкі
окисли алюмінію. Утворені складні з’єднання легко плавляться і мають невелику
питому вагу.
б) Підготовка випарника до
паяння. Алюмінієвий випарник, що ремонтується надходить в відділення мийки,
де під витяжкою змивається шар лаку (для цього використовують ацетон, розчинник
АФ-1 та інші). Якщо випарник покритий шаром епоксидної смоли, то її необхідно
видалити. Для цього випарник занурюють в змивний розчин на 30-60 хв. при
температурі 50-60 0С, після чого промивають гарячою водою. Змивний
розчин роблять із наступних компонентів – 4 частини розчинну типу РДР і 1 частина
фосфорної кислоти. Місце паяння необхідно зачистити від оксидної плівки
алюмінію, що заважає міцному закріпленню припою та основного матеріалу. Плівку
оксиду алюмінію повністю зняти неможливо, оскільки алюміній на повітрі миттєво
окислюється знову, однак нова плівка значно тонша і більш однорідна по товщині.
Старі плівки знімають або хімічним або механічним способами. Механічний спосіб
полягає у ретельній зачистці поверхні щітками які зроблені з дроту нержавіючої
сталі діаметром не більше
Паяння. При паяні випарника
частіше за все використовують флюс АФ-4А, в складі якого: хлористий літій –
14%, хлористий калій – 50%, хлористий натрій – 28%, фтористий натрій – 8%.
Припої можуть бути кадмій-цинкові, цинкові або алюмінієві. Найбільше
розповсюдження мають припої 34А, евтектичний силумін і дріт А1. Для паяння
використовують бензоповітряні та газові пальники, що працюють на пропані з
піддувом атмосферного повітря. Киснево-ацетиленові пальники для цього не
використовуються.
Після закінчення паяння рештки
флюсу негайно і ретельно видаляють, промивши місце паяння гарячою водою з
волосяною щіткою, а потім обробляють 2% розчином хлористого ангідриду при
температурі 60 – 80 0С.
Заміна цеолітових
осушувальних патронів.
Цеолітовий осушувальний патрон
відпаюють від патрубка конденсатора і капілярної трубки. Холодильний агрегат
потрібно продути сухим повітрям. З печі, де зберігаються нові або регенеровані
патрони, виймають патрон і припаюють його спочатку до патрубка конденсатора, а
потім до капіляра, який попередньо встановлюють в патрон впритиск до стінки
фільтру, а потім відтягують на 5 –