Практична робота №3
Тема: «Устаткування для електроконтактного зварювання»
Мета: ознайомитись та вивчити різновиди устаткування для електроконтактного зварювання, їх маркуванням.
Теоретичні відомості
Особливості технології контактного зварювання
Щоб здійснити зварювання металічних деталей
контактним методом, їх необхідно сумістити відповідними поверхнями та
пропустити крізь них електричний струм. Під його впливом відбувається виділення
тепла, нагрівання металу в зоні контакту, де опір найбільший. Металічна
поверхня частково розплавляється, а деталі стискуються за допомогою
відповідного механізму. Далі метал охолоджується, а контактні поверхні надійно
скріплюються. Для з’єднання деталей таким способом використовується два
типи енергії: теплова та механічна, тому контактне зварювання відносять до
термомеханічних методів. Процес проходить з використанням змінного струму від
трансформатора, що працює від мережі.
Основні вузли машин і їх призначення
Все зварювальне обладнання для контактного зварювання складається
з цілого комплексу механізмів і пристроїв. Основними елементами обладнання є
зварювальна машина з системою управління, що складається з електричної частини
з джерелом живлення (наприклад трансформатором) елементів підводу струму до
деталей (шини, консолі) і ряду конструктивних елементів, що створюють міцність
машини (корпус, станина, кронштейни, упори, електроди, плити і т.д.)
Зварювальна машина може бути обладнана пристроями контролю якості з’єднання, а
також пристроями механізації і автоматизації допоміжних операцій.
Для стиснення деталей використовується електромеханічний,
гідравлічний або пневматичний привід. Для підігріву та оплавлення контактної
поверхні – струм потрібної сили, що генерується трансформатором відповідної
потужності, а для накопичення заряду слугують конденсатори. В апаратах для
точкового зварювання електроди мають вигляд стрижнів, для шовного – роликів.
Водна система охолодження допомагає відводити зайве тепло від робочих
механізмів.
Класифікація машин для контактного зварювання
Машини для контактного зварювання класифікуються по різним
ознакам.
За родом зварювальних з’єднань, що виконуються, машини для контактного
зварювання бувають:
– стикові – для з’єднання віток стержнів, труб, поліс, листів,
профільного прокату и т.д. (див. рис. 9);

Рис. 9. Конструкційна схема стикової машини:
1 – трансформатор; 2 – станина; 3 – струмопроводи; 4 – нерухома
плита; 5 – губки; 6 і 7 – затискні пристрої; 8 – рухома плита, що рухається по
направляючим 10, 9 – привід подачі; 11 – апаратуру керування.
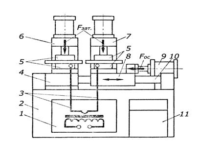
– точкові – для
з’єднання окремими точками (див. рис. 10, а);
– шовні – для
з’єднання деталей швом, що складається з окремих точок, перекриваючих одна одну
(на шовних машинах можна виконувати точкове зварювання) (див. рис. 10, б).

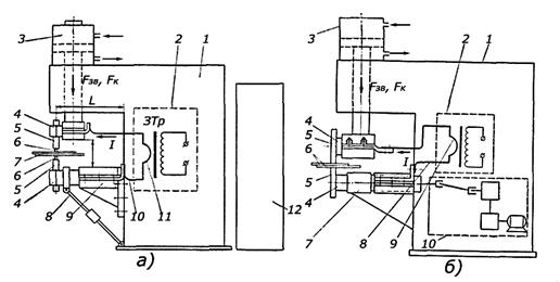
Рис. 10. Схеми машини
а – точкова: 1 – корпус, 2 – зварювальний трансформатор, 3 –
привод стискання, 4 – консолі, 5 – електродотримачі, 6 – електроди, 7 – деталі,
8 – підкіс, 9 – кронштейн, 10 – гнучкі шини, 11 – вторинний виток
трансформатора.
б – шовна: 1 – корпус, 2 – зварювальний трансформатор, 3 –
привід стискання, 4 – консолі, 5 – ролики, 6 – деталі, 7 – кронштейн, 8 -
гнучкі шини, 9 – вторинний виток трансформатора, 10 – привод обертання ролика
За способом перетворення енергії живлячої мережі машини для контактного зварювання бувають:
– з однофазним
трансформатором промислової частоти;
– з живленням
зварювального ланцюга випрямленим струмом;
– з живленням запасною
енергією магнітного поля (імпульсні);
– з живленням енергією
розряду конденсатора;
– з живленням
від трьохфазної мережі (низькочастотні).
За призначенням:
– універсальні або загального призначення;
– спеціалізовані (наприклад,
стикові – для зварювання розвинутого перерізу, ободів коліс, товстостінних труб
великого діаметру; точкові – для зварювання листів менше 0,1 мм або більше 12
мм; шовні – для одностороннього зварювання).
За ступенем механізації:
– ручні – коли
автоматизовані тільки ввімкнення і вимкнення зварювального струму;
– напівавтоматичні –
коли зварювальник вручну встановлює і переміщує деталі, все інше робиться
автоматично;
– автоматичні – коли всі операції виконуються без участі робочого,
останній тільки слідкує за завантаженням автомата деталями (наприклад, автомати
для зварювання вузлів кузова автомобіля, машини для виготовлення сіток).
За будовою механізму стискання або осадки:
– важільні, коли
стискання оплавлення або осадки здійснюють важелем;
– кулачні, які
працюють від електродвигуна;
– пневматичні, в яких
використовується енергія стисненого повітря;
– гідравлічні, в яких
стиснення здійснюється за допомогою рідини.
За способом установки і монтажу:
– стаціонарні;
– переносні;
– підвісні.
За потужністю:
– машини малої потужності
до 25 кВт;
– машини середньої
потужності до 100 кВт;
– машини великої
потужності більше 100 кВт.
За конструктивними особливостями:
– стикові (за будовою затискних механізмів) - ексцентричні, гвинтові, ричажні, механічні,
пневматичні, пнемо-гідравлічні і гідравлічні;
– точкові – машини
з прямолінійним ходом (див. рис. 11, а); машини з різним вильотом електроду (радіальні) (див. рис. 11, б)

а)
б)
Рис. 11.
Загальний вигляд точкових машин:
а - верстат контактного зварювання з лінійним ходом; б - машина
контактного зварювання з радіальним ходом
– шовні машини:
– машини для поздовжніх
зварювання;
– машини для поперечного зварювання;
–
універсальні (для поздовжнього і поперечного зварювання) (див. рис. 12).

Рис. 12. Загальний вигляд універсальної шовної
машини
Основні параметри контактних машин зазначені в ГОСТ 297-73.
Номінальна напруга контактних машин повинна бути 380 В , 660 В
або 220 В.
Ряд номінальних струмів: 100, 112, 125, 140, 160, 180, 200, 220,
250, 280, 320, 360, 400, 450, 500, 560, 630, 700, 800, 900, 1000 и т.д.
Ряд номінальних зусиль стискання і – 100,125, 160, 200, 250,
320, 400, 500, 630, 100…кгс
Основні принципи маркування машин
Позначення машин будь якого типу складається з двох частин одна
літерами інша цифрова.
Перша буква характеризує виріб: У – установка, А – автомат, П –
напівавтомат, М – машина.
Друга буква указує вид зварювання: точкове – Т, рельєфне – Р,
шовне – Ш, стикове – С.
Третя – вказує кількість точок (М – багато точкова) або характер
зварювального струму: К – конденсаторний, В – випрямленого в вторинному
контурі.
Цифрове позначення в машинах ранніх випусків є їх номінальною
напругою, в сучасних машинах перші дві цифри – струм в міліамперах, останні –
номер моделі машини: МТП-200, МТ1613, МШ2001, МТК-6301, МТПП-75, МС2008.
Стикові більш ранньої розробки мають у своєму позначені третьою
літерою рід приводу стискання (Р – ричажний, Г – гідравлічний, М – моторний), а
в спеціальних машинах їх призначення (Т – для зварювання труб, Л – листів,
іноді зустрічається літера Р), Наприклад, МСГР-500 – машина стикова с
гідроприводом для зварювання рейок з номінальною напругою 500 В.
Вимоги щодо
розташування обладнання для контактного зварювання
Обладнання для контактного зварювання необхідно встановлювати як
в окремих, так і в спільних виробничих приміщеннях. Ширина проходів між
контактними машинами повинна бути:
– при розташуванні робочих місць одне проти одного – не менше 3 м;
– при розміщенні машин тильними боками один до одного – не менше
1 м;
– при розміщенні машин передніми і тильними боками одна до одної
– не менше 1,5 м.
Обладнання для контактного зварювання слід розташовувати так,
щоб виключити вплив шкідливих факторів (зварювальних аерозолів,
електромагнітних випромінювань) на інших працівників.
Порядок
виконання роботи
1. Ознайомитися з
темою та метою
практичної роботи.
2. Вивчити
теоретичні відомості практичної роботи, які містять наступні
питання:
- особливості
технології контактного зварювання;
- основні вузли
машин і їх призначення;
- класифікація
машин для контактного зварювання;
- основні принципи
маркування машин.
3. Пройти
перевірку знань теоретичного матеріалу, давши усну відповідь на питання
для самоконтролю.
Питання для самоконтролю
1. Які
особливості технології контактного зварювання?
2. Які основні вузли машин і їх призначення?
3. Які є види контактних машин за родом зварювальних з’єднань,
що виконуються?
4. Які є види контактних машин за способом перетворення енергії
живлячої мережі?
5. Які є види контактних машин за призначенням?
6. Які є види контактних машин за ступенем механізації?
7. Які є види контактних машин за будовою механізму стискання
або осадки?
8. Які є види контактних машин за способом установки і монтажу?
9. Які є види контактних машин за потужністю?
10. Які є види контактних машин за конструктивними
особливостями?
11. Як маркують контактні машини?