ЛАБОРАТОРНА РОБОТА №1. „ОЗНАЙОМЛЮВАЛЬНА РОБОТА”
Мета
роботи: дати студентам практичні навички і
ознайомити їх з приладами і технікою проведення замірів окремих параметрів при
випробуваннях і дослідженнях двигунів, а також з технікою керування двигуном і методами
встановлення різних режимів роботи двигуна в умовах стендових випробувань.
Крім того, в роботі передбачається
ознайомлення студентів з виконанням розрахунків для визначення параметрів
роботи двигуна за результатами непрямих вимірювань окремих величин.
Послідовність виконання роботи
1.
Ознайомитись
з будовою випробувальних стендів, накреслити схему гальмівної установки і
описати її, накреслити схему пульта керування гальмівною установкою.
2.
Вивчити
прилади і спеціальні пристрої, що використовуються при випробуванні двигунів:
а)
пристрій для гальмування двигуна;
б)
пристрій для заміру крутного момента;
в)
пристрій для заміру витрати палива;
г)
пристрій для заміру витрати повітря;
Накреслити схему пристрою для заміру витрати
палива і витрати повітря
3.
Написати
технічні характеристики випробуваних двигунів (таблиця 1.1)
Під час виконання лабораторної роботу
студенти потрібно з’ясувати принцип роботи, будову і характерні
особливості вимірювальних приладів.
Для кожної групи приладів встановлюється
точність заміру (за паспортом або за надписами на шкалі приладів), ціна однієї
поділки шкали, границі показів шкали, можливе регулювання.
Технічний опис гальмівного стенда
Обкаточно гальмівний стенд КИ – 4893 – ГОСНИТИ призначений для обкатки і випробування на
потужність і витрату палива автомобільних і тракторних двигунів.
Будова і робота стенда
Стенд складається із наступних основних
вузлів: двигуна – гальма в зборі з ваговим механізмом і пультом контрольних
приладів, регулюючого реостата, електрошкафа, пристрою
для встановлення двигуна, пристрою для заміру витрати палива та пристрою для
заміру витрати повітря.
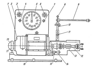
Двигун
– гальмо. До складу двигуна – гальма в зборі (рис 1.1) входять наступні основні
вузли: балансирна електромашина 1, ваговий механізм і пульт контрольних
приладів 2, змонтовані на загальній плиті 16, а також карданний вал 12.

Рис. 1.1. Двигун – гальмо в зборі:
1 – балансирна електромашина; 2 – пульт
контрольних приладів; 3 – тахометр; 4 – термометр для води; 5 – циферблат
вагового механізму; 6 – манометр; 7 – термометр для масла; 8 – важіль керування подачею палива; 9 –
тяга важіля;
10 – висувна колонка; 11 – затискний гвинт; 12 – карданний вал; 13 –
захисний кожух; 14 – датчик тахометра; 15 – привід тахометра; 16 – монтажна
плита; 17 – задня
стійка; 18 – кришка.
Балансирна електромашина, що являє собою
трьохфазний асинхронний електродвигун з фазовим ротором, служить приводом при
холодному запуску двигуна і гальмом при випробуванні двигунів під
навантаженням. Електростенди виготовляються зі
спеціальними електромашинами серії АКБ (ТУ
16–513.359–74).
Щоб електромашину використовувати не тільки
як привід і гальмо, але і як вимірювач потужності випробовуваного двигуна,
корпус електромашини за посередництвом двох опорних цапф підвішений на стійках
17, закріплених на плиті 16, що забезпечує йому можливість коливання відносно
повздовжньої осі.
При роботі електромашини обертаючий момент
ротора утворює реактивний момент на її статорі, який намагається повернути
корпус електромашини в протилежному напрямі. Так як реактивний момент на
статорі рівний обертальному моменту ротора, то по величині повороту корпуса
електромашини визначають гальмівний момент або момент тертя при холодному
запуску двигуна.
Електромашина працює на стенді в двох
режимах: моторному і генераторному. Моторний режим роботи електромашини
використовується при запуску автомобільного двигуна, а генераторний – при
випробуванні двигуна під навантаженням. В генераторному режимі електромашина
починає працювати автоматично як тільки її ротору передається випробуваним
двигуном частота обертання вища синхронної. При цьому електромашина виробляє
електроенергію і віддає її в електромережу.
Для зменшення опору коливання корпуса
електромашини підведення до обмоток статора і щіток ротора виконані спеціальними
гнучкими проводами.
Поряд з передньою стійкою змонтований
шестеренний привід 15 до датчика 14 (типу ТЕ – 45) дистанційного електричного
тахометра 3, що служить для вимірювання частоти обертання колінчастого вала
випробуваного двигуна. Для можливості заміру частоти обертання ручним
тахометром в кришці 18 передбачено осьовий отвір.
Вал ротора електромашини з’єднується з випробуваним двигуном
за посередництвом карданного вала 12, що дозволяє встановлювати двигун відносно
електромашини з деяким зміщенням осей. Карданний вал закритий кожухом, що має
відкидну частину 13. На кожусі встановлено колонка 10, на якій закріплений
важіль 8 керування подачею палива.
Ваговий механізм (рис. 1.2) представляє
собою маятниковий силовимірювач який служить для
заміру гальмівного момента при випробуванні двигунів
під навантаженням або крутного момента при холодному
запуску. Момент передається на корпус електромашини, який зв’язаний з ваговим механізмом і
демпфером 1 посередництвом кронштейна11. Ваговий механізм змонтований на стінці
2 закріпленої на монтажній плиті.
При
повороті електромашини тяга 10, зв’язана з кронштейном, переміщується і
повертає есцентриковий валик 9, на протилежному кінці
якого закріплений важіль з вантажем (маятник) 3, при повороті есцентрикового валика маятник віхиляється
від вертикального положення. Відхилення буде проходити до тих пір, поки момент
сили ваги вантажу не зрівноважить гальмівний або крутний
момент. При цьому чим більший момент на корпусі електромашини, тим більший кут
відхилення маятника.

Рис.1.2
– Ваговий механізм
Велика
шестерня (сектор) 4, закріплена на кінці есцентрикового
валика, знаходиться в зачепленні з малою шестернею 5, яка своїми торцевими
зубами зчеплюється з втулкою 6, закріпленою на
верхньому валику 8. При відхиленні маятника стрілка 7, закліплена
на кінці верхнього валика повертається і показує на циферблаті, розташованому
на пульті приладів, зусилля, що передається від корпуса електромашини.
Шкала
циферблата вагового механізма протарована
в обидві сторони від нульового значення. По шкалі, нанесеної проти годинникової
стрілки, визначається значення крутного момента при
роботі електромашини в моторному режимі, а по шкалі, нанесеній за годинниковою
стрілкою, - значення гальмівного момента при роботі
електромашини в генераторному режимі.
Рідинний
реостат служить для запуску електромашини і регулювання частоти обертання
ротора при роботі електромашини в моторному режимі, а також регулювання
навантаження при роботі електромашини в генераторному режимі.

Рис.1.3 – Рідинний реостат
Реостат
(рис.1.3) складається із бака 9, наповненого водяним розчином кальцинованої
соди. У верхній частині бака встановлений вал, на якому за посередництвом
ізоляторів кріпляться електроди 5. До кожного електроду підводиться фаза
обмотки ротора і через розчин проходить іх замикання.
Вал з електродами повертається у підшипниках за допомогою електропривода
виконавчого механізма 6. При повороті вала електроди
занурюються в розчин або виводяться із нього, при цьому змінюється їх активна
площа, що приводить до зміни додаткового опору в обмотках ротора і до зміни
сили струму у ланцюгу ротора. Змінюючи силу струму в моторному режимі, змінюють
частоту обертання ротора електромашини, а в генераторному – гальмівну
потужність.
Противага
8 служить для зрівноваження електродів. У випадку виходу електропривода із ладу
вал з електродами можна повертати вручну за посередництвом маховика 7.
Відцентровий
насос 3 призначений для перемішування розчину з метою зменшення нерівномірності
його нагріву і виключення інтенсивного випаровування. Охолоджений розчин
засмоктується насосом із нижньої частини бака і знову зливається в бак.
Бак з
електродами зверху закритий кожухом 4 і заповнюється водою з розчиненою в ній
кальцинованою содою (карбонат натрія). Вміст соди в
розчині реостата складає: при випробуванні двигунів потужністю до 150 к.с. 1% від об’єму бака (в літрах), двигунів більшої
потужності 2%. В нижній частині бака знаходиться пробка 1 для зливу розчину.
Вимірювання
витрати повітря
З цією
метою використовується газовий лічильник, який являє собою об’ємний витратомір,
два ротори якого знаходяться в зачепленні і обертаються під дією перепаду тиску
між входом і виходом. Число обертів пропорційне витраті повітря, воно
фіксується лічильним механізмом, протарованим в
одиницях об’ємної витрати.
Послідовність
роботи при випробуванні двигуна
1.
Включити рубильник на електрошкафу.
2.
Включити електроматику
натискуванням на кнопку “Пуск”.
3.
Натискуванням на кнопку “Занурення” заглибити електроди реостата в розчин до тих
пір, поки випробуваний двигун не запуститься.
4.
Як тільки випробуваний двигун
почне працювати, що буде видно по відхиленню стрілки вагового механізму вправо
від нульового значення, потрібно зменшити подачу палива, обмежити частоту
обертання вала двигуна до 600…700 хв-1.
5.
Встановивши потрібну частоту
обертання коректуванням подачі палива і потрібне навантаження натискуванням на
кнопки “Занурення” або “Підйом”
електродів.
6.
Заміряти покази навантаження на
шкалі валового механізму і частоти обертання по тахометру.
7.
Визначити крутний момент і
ефективну потужність.
8.
Одночасно з визначенням
потужності двигуна визначається витрата палива.
Вимірювані
величини
Зняття
характеристик двигуна проводять шляхом однократних вимірювань ряду параметрів
на різніх сталих режимах роботи двигуна.
Величини,
що визначаються аналітично:
Крутний
момент двигуна, Нм:
,
де Р –
навантаження на двигун;
l– плече вагового
механізму;
Ефективна
потужність, кВт:
![]()
де n – частота
обертання колінчастого вала, хв-1
Годинна
витрата палива, кг/год:
![]()
де GTзам – маса дози палива, витраченої
за час вимірювання, г;
t – тривалість вимірювання витрати
палива, с;
Питома
ефективна витрата палива, кг/кВт год:
![]()
Годинна
витрата повітря, кг/год:
,
де
вимірюваний об’єм повітря, м3
тривалість виміру витрати повітря, с
густина повітря, кг/м3
![]()
де Р0
– атмосферний тиск, Па
Rп=287 Дж/кг К – газова стала повітря
Тп –
температура повітря на випуску, К
Коефіцієнт
надлишку повітря:
![]()
де l0=15 кг – кількість повітря, що
необхідне для повного згоряння 1кг палива.
Коефіцієнт наповнення
![]()
де
- робочий об’єм двигуна, л.
Таблиця
1.1 – Коротка технічна характеристика випробуваних двигунів
|
№ п/п |
Параметр |
Двигун |
|
|
МеМЗ - 245 |
Д - 240 |
||
|
1 |
Підприємство – виробник |
|
|
|
2 |
Тип двигуна |
|
|
|
3 |
Число і розміщення циліндрів |
|
|
|
4 |
Порядок роботи циліндрів |
|
|
|
5 |
Розміщення і число клапанів в циліндрі |
|
|
|
6 |
Робочий об’єм циліндрів, л |
|
|
|
7 |
Діаметр циліндра D, мм |
|
|
|
8 |
Хід поршня S, мм |
|
|
|
9 |
Ступінь стиску |
|
|
|
10 |
Номінальна потужність Nе, кВт
при частоті обертання колінвала n, хв-1 |
|
|
|
11 |
Максимальний крутний момент Мк,
Нм при частоті обертання колінвала
n, хв-1 |
|
|
|
12 |
Сорт палива |
|
|
|
13 |
Сорт масла |
|
|
|
14 |
Маса двигуна |
|
|
|
15 |
Мінімальна питома витрата палива, г/кВт год |
|
|
|
16 |
Карбюратор (модель, тип) |
|
|
|
17 |
ПНВТ, форсунки, регулятор частоти обертання |
|
|
|
18 |
Тип повітряного фільтра |
|
|
|
19 |
Тип системи охолодження |
|
|
|
20 |
Охолоджуюча рідина |
|
|
Контрольні запитання
1.
Яке призначення і які
види випробувань двигунів ?
2.
Які величини вимірюють
при випробуванні двигунів ?
3.
Які прилади
застосовують при випробуваннях двигунів ?
4.
Як визначають витрату
палива двигуном ?
5.
Як вимірюють витрату
повітря двигуном ?
6.
Як вимірюють кут
випередження запалення. Як визначають крутний момент ?
7.
Яка конструкція і який
принцип дії електричного гальма ?
8.
Які основні правила
техніки безпеки при випробуваннях двигунів ?