2.6. Вимір високих
напруг і імпульсних струмів
Для проведення в
лабораторіях випробувань ізоляції й експериментальних досліджень в області
ізоляції і розрядних процесів в ізоляційних середовищах необхідні не тільки
джерела високих напруг і великих струмів, але і різноманітні вимірювальні
пристрої. Для вимірів на високій напрузі використовуються кульові розрядники,
дільники напруг, амплітудні вольтметри, струмові шунти, широко- і вузькополосні
трансформатори струму і т.п.
Загальною
особливістю вимірів на високій напрузі є те, що вони повинні проводитися в
умовах сильних електричних і магнітних полів, які викликають у вимірювальних
ланцюгах перешкоди. Крім цього, істотний вплив роблять такі фактори, як ємнісні
зв'язки між елементами вимірювальної системи, власна індуктивність цих
елементів, коронний і частковий розряди, опір витоку і т.п. Вплив цих
факторів не представляє можливим повністю їх виключити, тому їх необхідно
враховувати при проведенні вимірів.
Вимір високих
напруг вимагає, як правило, застосування спеціальних пристроїв, що дозволяють
або безпосередньо визначати вимірювальну напругу, або погодити звичайний
вимірювальний прилад із джерелом високої напруги.
Надалі коротко
розглянемо найбільш часто застосовувані пристрої для виміру змінної, постійної
й імпульсної напруг. Більше докладні відомості по розглянутим нижче пристроях
для виміру напруги і струму і деяких інших пристроїв можна знайти в літературі,
наприклад [1-7, 10, 11].
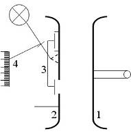
Електростатичні
високовольтні вольтметри використовуються для безпосереднього відліку
вимірюваної напруги. Принцип виміру заснований на вимірі сил електричного поля,
що виникають між електродами вимірювальної системи (рис. 2.16, а).
Під впливом прикладеної напруги до електродів 1, 2, 3, що утворить
високовольтний конденсатор, між ними виникає сила F, що прагне їх
зблизити. Переміщення рухливої пластини 3 урівноважується механічною силою
системи її кріплення. Ця сила пропорційна квадрату напруги: F = КU2, де К – коефіцієнт пропорційності, що
залежить від параметрів електродної системи.
Металеве
дзеркало, з'єднане з рухливою системою пластини 3, дозволяє реєструвати
величину відхилення світлового променя від лампи 6 на шкалі 4, відградуйований
у кіловольтах. До цього класу кіловольтметрів відносяться, наприклад, С-96, С-100,
С-101.
Розглянуті
прилади мають відносно малу погрішність виміру, невелику вхідну ємність і
дозволяють вимірювати діюче значення напруги і постійну напругу в межах до 300
кВ.
Шаровий
вимірювальний розрядник досить широко використовується для виміру високих
напруг завдяки простоті пристрою і прийнятної для практики точності, яку можна
одержати при правильній методиці виміру з дотриманням певних вимог.

Рис. 2.16. Принциповий пристрій
електростатичного кіловольтметра (а) і вимірювального кульового розрядника
(б).А і В – відстань від точки розряду до навколишніх предметів; 1, 2 – електроди; 4 – шкала
Вимірювання засноване на використанні залежності пробивної напруги
повітряного проміжку між шаровими електродами від відстані між ними. Для
вимірювання варто використати проміжки з однорідним або слабонеоднорідним
полем, у яких напруга пробою має лінійну залежність від відстані. Шарові
розрядники дозволяють вимірювати високу напругу в широкому діапазоні величин –
від одиниць кіловольт до декількох мегавольт (рис. 2.16, б).
При вимірюванні
користуються градуйованими таблицями, що дають зв'язок пробивної напруги з
діаметром шарових електродів і відстанню між ними. У таблицях дані амплітудні
значення пробивної напруги для нормальних атмосферних умов.
Шарові
розрядники встановлюються вертикально або горизонтально. При вертикальному
розташуванні нижня куля завжди заземлюється. Щоб похибка виміру не перевищувала
±3 %, необхідно дотримувати умови: S
≤ 0,5D, де D – діаметр шарів, а S –
відстань між ними. Крім цього, відстань до навколишніх предметів не повинне
бути менше встановленого нормативу. Тому шарові розрядники при більших
діаметрах вимагають значного простору. У зв'язку із цим доводиться відмовлятися
від їхнього застосування в установках з напругою вище 1000 кВ.
При вимірюванні
постійних і змінних напруг, з метою зниження ерозії поверхні куль і для
демпфірування коливань у ланцюзі розряду, послідовно з шарами включається опір
від 10 кОм до 1 МОм. При вимірюванні імпульсних напруг рекомендується включати
опір не більше 250...500 Ом.
Методика
вимірювання постійних і змінних напруг полягає в наступному. Після підключення
шарових розрядників до джерела вимірюваної напруги змінюють відстань між ними
до виникнення пробою проміжку.
При вимірюванні
імпульсної напруги відстань між шарами змінюють, добиваючись того, щоб половина
поданих імпульсів викликала пробій проміжку. Знаючи відстань між шарами і їхній
діаметр, по таблицях визначають величину
пробивної напруги. У тих випадках, коли вимірювання проводяться в умовах,
відмінних від нормальних, уводиться поправочний коефіцієнт δ = 0,386Р/(273 + t), де Р і t
– відповідно тиск у мм рт. ст і температура в градусах Цельсія
навколишнього середовища при проведенні вимірювань. Тоді шукане значення
напруги Uи = Uт·d, де Uт – табличне значення
пробивної напруги.
Для вимірювання
змінної й імпульсної напруги застосовують ємкісно-випрямні схеми (рис. 2.17)
[2, 4] .
У схемі рис.
2.17, а при вимірюванні змінної
напруги струм Ic протікає
протягом напівперіоду через вентиль V1 і гальванометр, а протягом іншого
напівперіоду – через вентиль V2.
Середній струм через гальванометр за період буде дорівнює: Iср = Q/T, де Q = 2СUm
– інтеграл струму за період Т. Отже,
величина амплітудного значення напруги Um
= кIср, де к –
коефіцієнт пропорційності, що залежить від частоти і величини ємності
конденсатора.

Рис. 2.17.
Принципові електричні схеми для вимірювання амплітудних значень напруги
Похибка
вимірювання буде залежати від точності вимірювання величини ємності й частоти
напруги, а також від кінцевого значення опору вентиля у відкритому і закритому
станах. Крім цього, похибка залежить від наявності вищих гармонік у кривій
струму і напруги.
Іншим різновидом
пристрою для вимірювання амплітудного значення змінної напруги є схема
амплітудного вольтметра (пік-вольтметра). Розглянуті прилади мають відносно
малу похибку вимірювання, невелику вхідну ємність і дозволяють вимірювати діюче
значення напруги і постійну напругу в межах до 300 кВ.
Шаровий
вимірювальний розрядник досить широко використовується для вимірювання високих напруг
завдяки простоті пристрою і прийнятної для практики точності, яку можна
одержати при правильній методиці виміру з дотриманням певних вимог. Схема
вольтметра з використанням ємнісного дільника показана на рис. 2.17, б. Паралельно плечу низької напруги
ємнісного дільника С1-С2
через вентиль V підключається
конденсатор Си. Напруга на
вимірювальному конденсаторі може бути виміряна вольтметром електростатичної
системи або електронним вольтметром з більшим вхідним опором.
При вимірюванні
амплітудними вольтметрами виникає похибка, пов'язана з неідеальністю елементів
вимірювальної схеми: кінцеве значення опору вентиля у відкритому і закритому
станах і кінцеве значення опору Rу
(опір витоку по ізоляції на землю). Крім цього, виникає похибка, пов'язана із
впливом схеми вимірювання на коефіцієнт розподілу дільника. Зниження цієї
похибки можна домогтися, дотримуючи умови Си<< С2.