Методика розрахунку вимірювального органа
на операційних підсилювачах
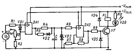
Схема, яка
наведена на рис. 1, виконує функції вимірювального органа в сучасних реле
струму та напруги. Вимірювальний орган складається із порогового елемента, інтегрувального
R-С кола, тригера Шміта та виконавчого елемента.

Рис. 1. Принципова схема вимірювального органа на
операційних підсилювачах
На
вхід порогового елемента (R1, R2, R3,
VD1, DA1) від перетворювальної частини (на схемі джерело Uc) надходить вхідний сигнал, який має форму
позитивних півхвиль синусоїди, що проходять з частотою 100 Гц. У пороговому
елементі здійснюється його порівняння з заданою опорною напругою.
З
виходу порогового елемента перетворений сигнал надходить на інтегрувальне R-С
коло (С, R4, R5, VD2, VD3). До
конденсатора С інтегрувального кола
підключений тригер Шміта (DA2, R6, R7, R8),
з виходу якого сигнал іде на виконавчий елемент (VT, KL, VD4, VD5, VD6, R9, R10). Схема живиться від джерела
стабілізованої напруги ±UЖ, симетричної відносно загальної точки.
Вимірювальний
орган побудований за принципом заміру часу перевищення вхідним сигналом
усталеного значення. Для спрацювання необхідно і достатньо, щоб миттєве
значення вхідного сигналу було більше опорного, а час перевищення сигналом
опорної напруги був:
(1)
де tп – час
перевищення сигналом опорної напруги, с; k
— коефіцієнт пропорційності; tн
– час протягом якого сигнал менше опорного, с.
При
відсутності вхідного сигналу або при Uс<Uоп
на виході операційного підсилювача DA1
буде позитивна напруга, приблизно рівна напрузі живлення схеми, під дією якої
заряджається конденсатор С. Позитивна
напруга з конденсатора С надходить на
інвертуючий вхід підсилювача DA2,
внаслідок цього на його виході буде від’ємна напруга. Транзистор VT виконавчого елемента у цьому випадку
буде закритий, вихідне реле знеструмлено, світлодіод VD6 не буде світитись.
Коли
вхідний сигнал буде більшим за опорну напругу, на виході підсилювача DA1 з’являться від’ємні прямокутні
імпульси, тривалість яких залежить від величини вхідного сигналу. Якщо умова (1)
не виконується, то на конденсаторі буде пилкоподібна напруга, амплітуда якої не
достатня для спрацювання тригера Шміта, реле KL знеструмлено, світлодіод не буде світитись.
Якщо виконуються обидві умови, то конденсатор С починає періодично перезаряджатись, і
коли напруга на ньому досягне порогу спрацювання тригера Шміта, на виході
підсилювача DA2 виникає позитивна
напруга. При цьому транзистор VT
закривається, реле KL спрацьовує і
світлодіод починає світитись.
Метою розрахунку є вибір
елементів схеми з умов її працездатності.
Розрахунок
порогового елемента
Принципова
схема та часові діаграми роботи порогового елемента наведені на рис. 2. Для
порівняння вхідного сигналу із заданою опорною напругою в пороговому елементі
застосований операційний підсилювач DA1,
який вмикається за схемою компаратора з двома входами. Вхідний сигнал Uс надходить на інвертований
вхід підсилювача. На його не інвертований вхід надходить опорна напруга Uоп, яка знімається з
подільника на резисторах R2 та R3, під’єднаних до джерела живлення.

Рис. 2. Схема порогового елемента (а) та
часові діаграми її роботи (б)
При
відсутності вхідного сигналу або коли виконується умова Uоп>Uc (інтервал часу від 0 до t1 на рис. 2,б), на виході
підсилювача буде позитивна напруга обмеження. При Uc>Uоп (інтервал часу від t1 до t2) на виході підсилювача
буде від’ємна напруга обмеження. Завдяки великому коефіцієнту підсилення,
перемикання відбувається при дуже малій різниці напруг на його входах, а
вихідна напруга дорівнює позитивній або від’ємній напрузі обмеження
(насичення), яка приблизно рівна напрузі живлення схеми.
Діод
VD1 захищає операційний підсилювач
від перенапруг за вхідним сигналом при вимкненому живленні. Резистор R1 обмежує струм на інвертуючому вході.
Вихідні дані: 1)
принципова схема порогового елемента (рис. 2,а); 2) напруга спрацювання UСП=0,3В (
В); 3) операційний підсилювач мікросхема К553УД2; 4) клас точності резисторів ±2%.
Випишемо
необхідні для розрахунку довідникові дані мікросхеми К553УД2: номінальні напруги живлення +15В, -15В (
В); опір навантаження більший за 2 кОм; коефіцієнт підсилення
20×103 (
); вихідна напруга не менш 10В (
); середній вхідний струм 1,5×10-6А (
А); вихідний опір 300Ом; споживаний струм 6×10-3А.
Розрахунок. На границі
лінійної області
(1)
де k – коефіцієнт підсилення операційного
підсилювача, U+– напруга
на не інвертованому вході; U-–
напруга на інвертованому вході.
Приймаючи
вихідну напругу рівною напрузі обмеження 10В, отримаємо із (1):

Отже,
операційний підсилювач перемикається, якщо сигнали на його входах відрізняються
на 0,5×10-3В,
що складає 0,17% від
заданої напруги спрацювання 0,3В. Виходячи із цього, можна зробити висновок, що
![]()
Знаючи
Uоп, визначимо опір
подільника для задання опорної напруги. Для унеможливлення впливу навантаження
на подільник, задаємось струмом подільника, значно більшим за середній вхідний
струм мікросхеми К553УД2:
![]()
Сумарний опір
подільника дорівнює:

Для подільника
напруги без врахування струму навантаження можна записати:
(3)
Тоді з урахуванням (3) опір R3 дорівнює:

Опір резистора R2
дорівнює:
![]()
Вибираємо згідно з [5] номінальні опори резисторів 2 кОм ±2% та 97,6
кОм ±2%.
Перевіримо
величину опорної напруги при вибраних номінальних опорах подільника за (3):

Отримане значення мало
відрізняється від вихідного.
Потужність,
яка виділяється на резисторі R2
дорівнює:
![]()
Вибираємо
для подільника резистори МЛТ
потужністю 0,125Вт.
Для
надійної роботи порогового елемента струм через резистор R1 у режимі спрацювання має бути значно більшим за середній вхідний
струм мікросхеми. Задаємось таким його значенням:
![]()
Тоді
опір резистора R1 буде
дорівнювати:

Вибираємо резистор МЛТ-0,125-20 кОм ±2 %.
Для
захисту операційного підсилювача від перенапруг за вхідним сигналом між входами
DA1 включений діод VD1. Вибираємо діод типу КД522Б, який має пряму напругу 1,1В;
зворотній струм 5
10-6А; максимальну зворотну напругу 50В; прямий
струм 100
10-3А.
Прямий
спад напруги на відкритому діоді VD1
дорівнює 1,1В, що менше за допустиму вхідну напругу мікросхеми.
Розрахунок інтегрувального R-C кола
Вихідна
напруга порогового елемента є вхідною напругою Uвх для інтегрувального кола. Вона являє собою
прямокутні імпульси, під дією яких здійснюється періодична зміна напруги на
конденсаторі С.
Позитивна
напруга на вході інтегрувального кола є запираючою для діода VD2 (рис. 4), тому заряд конденсатора С відбувається через резистор R4.
Стала
часу заряду дорівнює:
(4)
Від’ємна
напруга на вході інтегрувального кола прикладена до діода VD2 у прямому напрямку і він відритий. Перезаряд конденсатора С відбувається через паралельно включені
R4 та R5, VD2.
Стала
часу розряду дорівнює:
. (5)
Еквівалентний
опір, через який перезаряджається конденсатор без урахування діода VD2, дорівнює:
. (6)
Напруга
на конденсаторі обмежується двоанодним стабілітроном VD3.

Рис. 3. Схема
інтегрувального кола
Вихідні дані: 1)
принципова схема інтегрувального кола (рис. 3); 2) вхідна напруга на
інтегрувальному колі Uвх=±10В (
В); 3) стала часу заряду t3=20×10-3с (
с); 4) стала часу розряду tp=10×10-3 с (
).
Розрахунок. Із конструктивних
міркувань для інтегрувального кола вибираємо малогабаритний конденсатор К73-17-250В-0,1мкФ±5%. Величину опору R4 визначимо із (4):

Згідно з (5)
еквівалентний опір дорівнює:

Із
виразу (6) випливає, що

Вибираємо
резистори R4 та R5 типу МЛТ-0,125-200 кОм±2%.
Напруга
на конденсаторі С обмежується
стабілітроном типу КС191А, який має
номінальну напругу стабілізації (9,1 ± 0,6)В. Далі для розрахунків приймаємо напругу стабілізації
9 В. Діод VD2 доцільно вибрати із
умови:
![]()
де Uзв – максимальна зворотна
напруга. Вибираємо діод типу КД522Б,
у якого постійна зворотна напруга складає 50В, що більше розрахованого
значення.
Розглянемо
докладно процеси, які відбуваються на конденсаторі С при різних співвідношеннях між тривалостями додатних і від’ємних
імпульсів на вході інтегрувального кола.
При
надходженні від’ємного імпульсу на інтегрувальну ланку попередньо заряджений
конденсатор починає розряджатись за законом:
(7)
де Uпоч – початкова
напруга на попередньо зарядженому конденсаторі С.
При
надходженні додатного імпульсу конденсатор С
починає заряджатись за законом:
(8)
де tp – тривалість від’ємного
імпульсу.
З
формули (7) випливає, що після першого розряду напруга на конденсаторі С зменшується на величну:
![]()
З формули (8) можна знайти
величину, на яку збільшується напруга на конденсаторі С після першого заряду:
![]()
де t3 – тривалість додатного
імпульсу.
Маючи
на увазі, що DU’C=DU''C, можна знайти граничні значення
тривалості розряду tтр.р і
тривалості заряду tтр.з,
які визначають два можливих режими роботи вимірювального органа, коли він не
спрацьовує і коли він спрацьовує.
Оскільки
початкова напруга на конденсаторі С
обмежена стабілітроном VD3 на рівні
9В , а вхідна напруга êUвх ê= 10В, то граничні
значення тривалості розряду та заряду дорівнюють: tтр.р=0,33×10-3с, tтр.з=9,67×10-3с.
При
і
має місце перший режим роботи вимірювального органа, коли він
не спрацьовує.
Нехай
tp = 0,2×10-3, tз = 9,8×10-3 і tp+tз =
10×10-3c.
Тоді у відповідності з (7) та (8) маємо:

Після першого розряду напруга на конденсаторі
становить:

Після першого заряду напруга на конденсаторі становить:

Однак величина напруги на конденсаторі буде обмежена
стабілітроном VD3 на рівні 9 В (рис. 4).
В розглядуваному випадку напруга на конденсаторі С має пилкоподібний вигляд з амплітудою 0,38В і не може викликати
спрацювання наступного елемента схеми (тригера Шміта).
При tp>tтр.р.
і t3<tтр.з
має місце другий режим вимірювального органа, коли він спрацьовує.
Нехай tp=6×10-3c і tз=4×10-3c.
Тоді при надходженні першого імпульсу у відповідності з (7) та (8) маємо:

Якщо
тривалість імпульсів на вході інтегрувального кола не змінюється, то
продовжується процес циклічного перезаряду конденсатора С. В табл. 1 наведені напруги на конденсаторі С після кожного імпульсу на вході інтегрувального кола для
прийнятих параметрів.
Таблиця 1
|
Напруга на конденсаторі |
Номер імпульсу n |
||||||
|
1 |
2 |
3 |
4 |
5 |
6 |
7 |
|
|
|
0.43 |
-3.33 |
-5.01 |
-5.77 |
-6.11 |
-6.26 |
-6.33 |
|
|
2.16 |
-0.91 |
-2.29 |
-2.91 |
-3.19 |
-3.31 |
-3.37 |
За даними табл. 1 побудований графік зміни напруги на
конденсаторі С (рис. 5).

Рис. 4. Часові
діаграми роботи вимірювального органа при умові, що він не спрацьовує

Рис. 5. Часова діаграма роботи вимірювального органа при
умові, що він спрацьовує
Аналіз отриманих результатів дозволяє зробити висновок
про те, що в цьому випадку після декількох циклів конденсатор С перезаряджається і коли напруга на
ньому досягне порогу спрацювання наступного елемента (тригера Шміта), то він
спрацьовує. Виберемо напругу спрацювання тригера Шміта 3 В, що приблизно
дорівнює амплітуді пульсацій напруги на конденсаторі інтегрувального кола.
Розрахунок тригера
Шміта
Напруга з конденсатора С інтегрувального кола надходить на інтегруючий вхід тригера Шміта,
який являє собою операційний підсилювач, охоплений позитивним зворотнім
зв’язком, котрий забезпечує його чітке перемикання із одного стану в інший. Ця
схема має два пороги спрацювання: при спрацюванні і поверненні, які задаються
подільником на резисторах R7, R8 (рис. 6).

Рис. 6. Схема тригера Шміта
У вихідному стані на виході DA2 буде від’ємна вихідна напруга, частина якої надходить на не
інвертований вхід операційного підсилювача. Наруга, при якій відбувається
перемикання (спрацювання) цієї схеми,
(9)
При
спрацюванні схеми на виході з’явиться позитивна вихідна напруга. Частина її
також надходить на не інвертований вхід операційного підсилювача. Напруга, при
який знов відбувається перемикання (повернення) цієї схеми:

Таким
чином, тригер Шміта має два стійких стани і перемикається при
та
.
Вихідні дані: 1) принципова
схема тригера (рис. 6); 2) напруга перемикання 3В (
В); 3) операційний підсилювач – мікросхема К5533УД2; 4)напруга живлення ±15В (
В); 5) середній вхідний струм 1,5×10-6А (
А); 6) вихідна напруга не менш 10В (
); 5) клас точності резисторів ±2%.
Розрахунок. Задаємося струмом
у колі зворотного зв’язку:
![]()
Тоді
сумарний опір подільника буде дорівнювати:

Величина
опору резистора R7:

Величина
опору резистора R8:
![]()
Тепер
можна вибрати номінальні опори резисторів : R7–20кОм±2%; R8–46,4 кОм±2%. Оскільки
потужність, яка виділяється на резисторі R8,
дорівнює:

то для подільника
доцільно вибрати резистори МЛТ
потужністю 0,125Вт. Величина напруги спрацювання схеми при вибраних опорах
подільника у колі зворотного зв’язку за формулою (9):

що мало
відрізняється від заданого.
Для
R6 доцільно взяти резистор як R1 МЛТ–0,125–20кОм±2% (див.
розрахунок порогового елемента).
Розрахунок
вихідного каскаду
Вихідні дані: 1) принципова схема вихідного каскаду (рис. 7);
2)транзистор КТ3102Б; 3) вихідне реле
РПГ–2 та світло-діод АЛ307Б; 4)напруга колекторного живлення
+15В (
В); 5) вхідний сигнал Uвх=±10В (
); 6)діапазони робочих температур від 263 до 323 К.

Рис. 7. Схема вихідного каскаду
Транзистор КТ3102Б при температурі 298 К має наступні параметри: статичний
коефіцієнт передачі струму h21E=200–500;
напруга на переході колектор-емітер 50В; напруга на переході емітер-база 5В;
постійний струм колектора 100×10-3А;
постійна розсіювана потужність 250×10-3Вт;
зворотній струм колектора 0,05×10-6А;
напруга насичення на переході база-емітер UБЕнас=0,6В;
напруга насичення на переході колектор-емітер UКЕнас=0,6В. В якості вихідного реле застосовується
герконове реле РПГ–2 з параметрами:
номінальна наруга котушки 15В; споживана потужність 0,15Вт; реле має один
замикаючий контакт. Для сигналізації спрацювання застосовується світлодіод АЛ307Б з параметрами: для прямого струму
10×10-3А
сила світла 0,9×10-3кД;
постійна пряма напруга не більш 2В; постійний прямий струм 20×10-3А;
зворотна напруга Uзв=2В,
при температурі від 213 до 343 К.
Розрахунок.
Опір обмотки вихідного реле:

Струм,
який протікає обмоткою вихідного реле, якщо транзистор відкритий:

Паралельно
обмотці реле включений світлодіод. Приймаємо прямий струм через світло діод
та визначимо величини опору R10:

Вибираємо
резистор МЛТ–0,125–1,24 кОм±2%.
Струм
у колі колектора транзистора у режимі насичення:
![]()
Мінімальний
розрахунковий коефіцієнт підсилення транзистора з урахуванням температури та
старіння визначаємо за формулою:
![]()
Струм
у колі бази транзистора на границі насичення дорівнює:

Приймаємо
струм у колі бази транзистора у режимі насичення:
![]()
Визначимо
величину опору у колі бази транзистора, якщо на вхід подається напруга +10В:

Вибираємо
резистор МЛТ-0,125–26,7 кОм±2%.
Максимальний
розрахунковий коефіцієнт підсилення транзистора з урахуванням температури
дорівнює:
![]()
Напруга
на переході база-емітер, яка необхідна для створення режиму відсічки
транзистора за формулою:

Транзистор
закривається, якщо на базі з’являється напруга -10В при умові перемикання
тригера Шміта. Максимальна зворотна напруга на переході база-емітер транзистора
5В, тому паралельно емітерному переходу транзистора включаємо діод типу КД522Б, параметри якого: прямий струм
А; допустима зворотна напруга 50 В; пряма напруга на діоді
1,1 В; зворотній струм
А.
Перевіримо
величину прямого струму через діод:


Прямий
струм через діод менший за максимальний, що забезпечує надійну роботу діода.
Пряма напруга на відкритому діоді більша за напругу на переході емітер-база
транзистора, яка необхідна для режиму відсічки, і менша за зворотну допустиму,
що забезпечує режим відсічки транзистора та його надійну роботу.
Для
захисту транзистора від імпульсних перенапруг при вимиканні струму, обмотка
вихідного реле зашунтована діодом VD4
типу КД522Б.
Сумарний
опір навантаження на мікросхему DA2
тригера Шміта при умові спрацювання вихідного реле і нехтуванні спадом напруги
на відкритому транзисторі дорівнює:

Еквівалентний
опір навантаження на операційний підсилювач DA2
значно більший за мінімальний, який зазначений у довідникових даних, що
забезпечує надійну роботу схеми.
![]()