ЗАГАЛЬНІ ВІДОМОСТІ ПРО АВТОМОБІЛЬНІ ДВИГУНИ
1 Двигуни
внутрішнього згоряння,
їх
переваги і недоліки
На
автомобілях та інших видах дорожньо-транспортних засобів (ДТЗ)
вcтановлються, в основному, двигуни внутрішнього
згоряння (ДВЗ). Двигуном внутрішнього згоряння
називається такий тепловий двигун, в якому хімічна енергія палива
перетворюється в теплову, а теплова - в
механічну всередині циліндрів з
рухомими поршнями або всередині
спеціальних камер (газотурбінні та реактивні двигуни).
У
двигунах зовнішнього згоряння -
горіння палива відбувається поза двигуном і продукти згоряння не являються
робочим тілом. Робоче тіло - це газ, який виконує роботу в надпоршневому
просторі двигуна (рухає поршень). Наприклад, в бензиновому двигуні під час
процесу впуску в циліндри надходить суміш парів бензину з повітрям – горюча
суміш, далі ця суміш змішується в циліндрі з залишковими газами і утворюється
робоча суміш. Після згоряння робочої суміші утворюються продукти згоряння.
Горюча суміш, робоча суміш та продукти згоряння є робочим тілом.
За
характером розширення робочого тіла ДВЗ можна
розділити на два види:


На автомобілях, як правило, застосовуються
поршневі ДВЗ.
Основні їх переваги:
-
добра паливна
економічність;
-
компактність;
-
швидкість пуску та постійна готовність до дії.
Недоліки
поршневих ДВЗ:
-
несприятлива форма тягової характеристики ДТЗ, внаслідок чого їх необхідно
агрегатувати з коробкою передач;
-
нездатність до пуску під навантаженням;
-
високі експлуатаційні вимоги до пального;
-
великі затрати на виготовлення;
-
забруднення
атмосфери токсичними речовинами та шумність.
Інші типи ДВЗ не набули широкого
розповсюдження на автомобілях. Зокрема, роторно-поршневі (РПД) і газотурбінні (ГТД) двигуни через
більшу експлуатаційну витрату палива та ряд інших причин.
2 Історія виникнення і розвитку
ДВЗ
Перший
поршневий ДВЗ, що дістав практичне використання,
побудував в
1860
р. французький
механік Жан Ленуар. Це був двигун на базі парової
машини, двотактний, подвійної дії, без стиску, тому він мав дуже низький
ефективний ККД. На 1/3 частині ходу поршня відбувався впуск свіжого заряду, на
2/3 - згоряння і розширення, а випуск на повному зворотньому
ходу поршня. Працював на світильному газі з займанням від електричної іскри.
У
1862 р. французький інженер Альфонс Бо де Роша
розробив теорію чотиритактного робочого процесу із стиском суміші. А в 1877 р.
німецький вчений і підприємець Ніколаус Отто
виготовив перший чотиритактний стаціонарний газовий
двигун. Зараз практично всі сучасні
бензинові та газові двигуни працюють за циклом Отто.
Офіційно винахідниками автомобільних бензинових двигунів визнані два німецькі конструктори: Готліб Даймлер, який створив за патентом
від 1885 р. мотоцикл та Карл Бенц,
який за патентом від 1886
р. побудував триколісний екіпаж з бензиновим
двигуном.
Бажання
підвищити економічність ДВЗ призвело
до створення двигуна з запалюванням від стиску. Патент на принцип дії такого
двигуна одержав у 1892 р. німецький інженер Рудольф Дизель. Двигун мав працювати
на кам'яновугільному пилу, але
виявився нероботоздатним.
Тільки в 1897-1899 р.р було отримано роботоздатну конструкцію двигуна, що працював на гасі,
який впорскувався в циліндр попередньо стиснутим у компресорі повітрям -
компресорний дизель.
Перший
бензиновий двигун з прийнятними для транспортного засобу експлуатаційними
показниками сконструював і побудував для дирижабля капітан російського флоту
Гнат Костович у 1885 р. Перший безкомпресорний дизель
побудували на заводі "Руський дизель" за проектом інженера Г.В.Трінклера в 1901 р. Подальші успіхи в розвитку
моторобудування стали можливими завдяки розробці теорії ДВЗ,
яку започаткував в 1906 р. проф. МВТУ В.І.Гриневецький, розробивши метод теплового розрахунку
двигуна.
Подальший
розвиток автомобільних двигунів буде здійснюватися в таких напрямках:
-
покращення паливної економічності;
-
зниження токсичності та шумності;
-
підвищення потужності при зменшенні металомісткості та габаритних розмірів;
-
підвищення надійності та ресурсу;
- використання альтернативних видів
палива.
3
Класифікація ДВЗ
ДВЗ можна класифікувати за такими ознаками:
1) за призначенням: стаціонарні та
транспортні (автомобільні,
тракторні, тепловозні, авіаційні);
2) за видом використовуваного палива:
а)
легкого (бензин, легроїн, гас, бензол, спирт);
б)
важкого (дизпаливо, солярове масло, мазут, рослинні олії);
в)
газоподібного (природний газ, нафтові гази (пропан і бутан);
г)
змішаного (бензогазові суміші, газодизелі);
3)
за способом здійснення робочого циклу: двотактні і чотиритактні (без
наддуву і з наддувом);
4)
за способом сумішоутворення:
а) з
зовнішнім сумішоутворенням (карбюраторні та з впорскуванням бензину у впускний трубопровід);
б) з
внутрішнім сумішоутворенням (дизелі та з впорскуванням бензину в циліндри);
5)
за способом займання робочої суміші: з іскровим запалюванням, з запалюванням
від стиску, з займанням газового палива від запальної дози рідкого палива
(газодизелі);
6)
за способом регулювання потужності: з якісним, кількісним та комбінованим регулюванням;
7)
за способом охолодження: з рідинним та повітряним охолодженням.
На
сучасних автомобілях переважно застосовуються чотиритактні ДВЗ –
бензинові або дизелі.
Такт
- частина робочого
циклу, яка відбувається за один хід поршня від однієї мертвої точки до іншої.
Робочий
цикл - сукупність послідовних процесів,
які періодично повторюються у двигуні: впуск свіжового
заряду, його стиск, згоряння робочої суміші, розширення (робочий хід), випуск
відпрацьованих газів (5 процесів).
Причиною меншого поширення
двотактних
двигунів є гірша їх паливна економічність, хоч їх потужність за одинакових умов є більшою в середньому в 1,6 раза.
4 Принципи роботи поршневих двигунів
Одинакові
принципи перетворення теплової енергії палива, що виділяється під час його згоряння, в механічну роботу
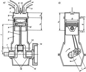
визначили схожість конструктивних схем всіх поршневих двигунів. На рис. 1
показана типова схема поршневого двигуна, який складається з циліндра 2 з
камерою згоряння 6, поршня 4 з кільцями 5, шатуна 3 і колінчастого вала 1, які
забезпечують перетворення зворотньо-поступального
руху поршня в обертальний рух колінчастого вала, впускного 7 і випускного 10
клапанів, які регулюють відкриття і закриття відповідно впускного 8 і
випускного 11 каналів, маховика 14, який забезпечує рівномірність обертання
колінчастого вала, картера 13 і піддона 15, корінних підшипників 16. Всі
конструктивні схеми поршневих двигунів характеризуються деякими основними
параметрами. До них відносяться діаметр циліндра D і хід поршня S, який рівний подвоєному радіусу
кривошипа r,
робочий об`єм циліндра V
і об`єм камери згоряння V
,
сума яких є повним об`ємом циліндра V
.
Робочий цикл чотиритактного поршневого двигуна здійснюється за два оберти колінчастого
вала, що відповідає чотирьом ходам (тактам) поршня від однієї мертвої точки
до іншої: 1 – наповнення циліндра
свіжим зарядом; 2 – стиск;
3 –
розширення (робочий хід); 4 – випуск відпрацьованих газів.
Для
забезпечення періодичності повторення робочих процесів ДВЗ
оснащені двома механізмами (кривошипно-шатунним і газорозподільним) і рядом
систем: живлення, охолодження, мащення, запалювання.

Рис.
1. Схема поршневого ДВЗ
5 Режими роботи і характеристики
автомобільних двигунів
Автомобільні двигуни
працюють на сталих і несталих режимах. Сталим вважається режим роботи двигуна,
під час якого його основні параметри (крутний момент Мк,
частота обертання колінчастого вала n) незмінні
протягом певного часу (наприклад, під час руху автомобіля по рівній
дорозі з постійною швидкістю). Всі інші режими роботи - розгін, сповільнення,
примусовий холостий хід - несталі
Роботу двигуна на сталих
режимах можна оцінити за його характеристиками.
Характеристикою двигуна називається залежність (як правило, графічна)
показників двигуна від режиму роботи або від параметрів, пов'язаних з
регулюванням його основних систем. Режим роботи двигуна визначається частотою
обертання колінчастого вала і навантаженням.
Характеристики,
які являють собою залежність показників двигуна від частоти обертання
колінчастого вала при незмінному положенні органа керування паливоподачею,
називаються швидкісними. Залежності показників двигуна від навантаження
при фіксованій частоті обертання колінчастого вала називаються навантажувальними
характеристиками.

Рис. 2.
Поле навантажувальних і швидкісних
режимів автомобільного двигуна
На швидкісній характеристиці двигуна (рис. 2), яка являє собою
залежність крутного моменту, який розвивається на колінчастому валу двигуна,
від частоти обертання колінчастого вала, схематично показано поле
навантажувальних і швидкісних режимів роботи автомобільного двигуна. Вище осі
абсцис розміщена область активних режимів роботи двигуна (А). На цих режимах
робота двигуна позитивна. Зверху поле обмежене кривою 1 максимального крутного
моменту по зовнішній швидкісній характеристиці; справа - регуляторною гілкою
2 або гілкою зменшення частоти
обертання при перевищенні номінального значення
; зліва - мінімальною стійкою частотою обертання 3 вала при
даному навантаженні.
Точки, які лежать на осі
абсцис, відповідають режиму холостого ходу, починаючи від мінімальної частоти
обертання на холостому ходу (4) і закінчуючи максимальною частотою обертання
при роботі на холостому ходу (5).
Нижче лінії абсцис
розміщені пасивні режими роботи двигуна. В цій зоні, обмеженій знизу кривою крутного моменту, необхідного для
провертання колінчастого вала двигуна, двигун працює в режимі вибігу
або на примусовому холостому ходу (ПХХ), тобто при
гальмуванні автомобіля двигуном.
Крім цих характеристик
поршневих двигунів широко використовуються так звані регулювальні
характеристики, які являють собою залежності показників роботи двигуна від
регулювального параметра (наприклад, коефіцієнта надлишку повітря, кута
випередження запалювання, кута випередження впорскування палива і т.д.). Ці
характеристики використовуються для визначення оптимальних параметрів роботи
систем живлення і запалювання.