ЛАБОРАТОРНА
РОБОТА 1
ВИЗНАЧЕННЯ
ОСНОВНИХ ГЕОМЕТРИЧНИХ
ПАРАМЕТРІВ
ЕВОЛЬВЕНТНИХ ЗУБЧАСТИХ КОЛІС
ЗА ДОПОМОГОЮ ІНСТРУМЕНТІВ
1. МЕТА РОБОТИ
Навчитися дослідним шляхом визначати основні геометричні
параметри зубчастих коліс евольвентного профілю.
2. ТЕОРЕТИЧНІ ВІДОМОСТІ
2.1. Триланковий
механізм, в якому дві рухомі ланки, що є зубчастими колесами, утворюють з нерухомою ланкою обертальну або поступальну пару, називається
зубчастою передачею.
2.2. Здебільшого
зубчаста передача служить для передавання оберталь-ного руху. У деяких
механізмах цю передачу застосовують для перетворення обертального руху в
поступальний або навпаки.
2.3. Зубчасті
– найрозповсюдженіший тип механічних передач у сучас-ному машинобудуванні та
приладобудуванні; їх застосовують у широких діапазонах колових швидкостей (до
100 м/с), потуг (до десятків тисяч кВт) та передатних відношень.
2.4. Основними
перевагами зубчастих передач у порівнянні з іншими видами передач є:
– сталість
передатного відношення;
– висока
навантажувальна здатність;
– високий ККД
(0,97…0,99 для однієї пари);
– малі габаритні
розміри;
– висока
надійність у роботі та довговічність;
– простота
обслуговування;
– порівняно малі
навантаги на вали та опори.
2.5. До
вад зубчастих передач слід віднести:
– неможливість
безступінчастої зміни передатного відношення;
– високі вимоги до
точності виготовлення та монтажу;
– шум у разі
роботи на високих частотах обертання зубчастих коліс;
–
погані амортизаційні властивості, що
негативно впливає на компенсування динамічних навантаг;
– громіздкість у
разі великих відстаней між осями ведучого та веденого валів;
– потреба в
спеціальному обладнанні та інструменті для нарізування зубців;
– зубчаста
передача не уберігає машину від можливих небезпечних перевантаг.
2.6. Основними параметрами, що
характеризують зубчасте колесо, є (рис. 2.1):
– число зубців;
– модуль зубців;
– ділильний діаметр;
– основний діаметр;
– діаметр вершин зубців.
– діаметр западин зубців;
– початковий кут
профілю зубця (у разі збігу початкових та ділильних кіл початковий кут профілю зубця
дорівнює ділильному
куту профілю
);
– ділильний коловий крок зубців;
– ділильна колова товщина зубця;
– висота ділильної головки зубця;
– висота ділильної ніжки зубця;

Рис. 2.1. Основні
геометричні параметри,
що
характеризують зубчасте колесо
3. ЛАБОРАТОРНЕ
ОБЛАДНАННЯ
1. Зубчасте
колесо з евольвентним профілем зубців.
2. Штангенциркуль.
3. Штангенглибиномір.
4. Штангензубцемір.
4. ПОРЯДОК ВИКОНАННЯ
РОБОТИ
4.1. Визначити підрахунком число зубців колеса
.
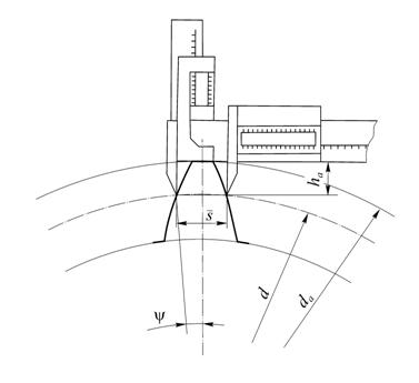
4.2. Охоплюючи штангенциркулем певне число зубів
, визначити роз-мір
(рис. 4.1).

Рис. 4.1 Схема
визначення розмірів
і ![]()
для певного числа зубців
колеса
4.3. Узявши на один зубець більше, визначити розмір
.
Для того, щоб губки штангенциркуля в обох випадках
торкались еволь-вентних ділянок профілів зубців, слід брати значення
залежно від числа
зубів колеса
згідно з
таблицею 4.1.
|
|
12…18 |
19…27 |
28…36 |
37…45 |
46…54 |
55…63 |
64…72 |
73…81 |
|
|
2 |
3 |
4 |
5 |
6 |
7 |
8 |
9 |
4.4. Визначити різницю виміряних відрізків
та
, яка буде дорівнюва-ти основному кроку зубців:
, мм, (4.1)
де
.
4.5. Із записаного виразу знайти значення модуля
зубців:
, мм.
(4.2)
4.6. Обчислене
значення модуля слід звірити зі стандартними (ГОСТ 9563) за
таблицею 4.2.
|
Ряд |
Модуль |
|
1-ий |
1; 1,25;
1,5; 2; 2,5;
3; 4; 5;
6; 8; 10;
12; 16; 20 |
|
2-ий |
1,125; 1,375;
1,75; 2,25; 2,75;
3,5; 4,5; 5,5;
7; 9; 11;
14; 18; 22 |
4.7. Визначити діаметри
й
. Для коліс із парним числом зубців
розміри
й
вимірюються
штангенциркулем згідно зі схемою, поданою на рис. 4.2.

Рис. 4.2. Схема вимірювання діаметрів
та ![]()
коліс із парним числом зубців ![]()
4.8. У разі непарного числа зубців колеса
діаметри
й
знайти у відповідності
зі схемою, поданою на рис. 4.3, за формулами:
, мм; (4.3)
, мм. (4.4)

Рис. 4.3. Схема
до визначення діаметрів
та ![]()
коліс із
непарним числом зубців ![]()
4.9. Для контролю правильності
визначення в п. 4.5 вирахувати модуль зубців за формулою:
, мм.
(4.5)
4.10. Обчислити
усереднене значення модуля й зіставити його зі стандарт-ними
(табл. 4.2):
, мм.
(4.6)
4.11. Визначити діаметр ділильного кола:
, мм.
(4.7)
4.12. Визначити висоту головки та ніжки зубця за
формулами:
, мм; (4.8)
, мм,
(4.9)
і висоту зубця:
, мм.
(4.10)
4.13. Вирахувати діаметр основного кола:
, мм.
(4.11)
4.14. Знайти
товщину зубця по хорді ділильного кола:
, мм,
(4.12)
де
– центральний кут, що
відповідає половині шуканої хорди.
4.15. Виміряти товщину зубця
штангензубцеміром
згідно зі схемою, поданою на рис. 4.4, й зіставити її з обчисленою в
попередньому пункті.
4.16. Заміряти висоту зубця
штангенглибиноміром і
зіставити її з роз-рахунковою, знайденою в п. 4.12.

5. ФОРМА ТА
ЗМІСТ ЗВІТУ
5.1. Звіт виконується в учнівському зошиті в
клітинку або на аркушах білого паперу формату А4, які потім мають бути зшиті.
Поля обов’язкові.
5.2. Розрахунки й
записи до роботи мають бути виконані в обсязі пунктів 4.1…4.16.
5.3. Виконати (олівцем) ескіз зубчастого колеса й
нанести основні гео-метричні параметри, що його характеризують (див.
рис. 2.1).
5.4. Виписати в колонку визначені в роботі основні
параметри зубчасто-го колеса, перелічені в п. 2.6, і дати їхні назви.
6. КОНТРОЛЬНІ ЗАПИТАННЯ
1. Дати визначення зубчастої передачі;
пояснити її призначення; перелічити переваги та вади.
2. Назвати основні параметри, що
характеризують зубчасте колесо.
3. Які геометричні параметри зубчастого
колеса вимірюються штанген-циркулем, штангензубцеміром і штангенглибиноміром?
1. Деталі машин. Методичні
вказівки до виконання лабораторних робіт: Навчально-методичний посібник для
студентів інженерно-технічних спеціальностей: У 3-ьох ч. Ч.1 / Уклад.
В.Байбула, Д.Коновалюк, В.Кралін; За ред. В.Байбули. – Луцьк: Ред.-видавничий від. ЛДТУ, 2002. – 36 с.
2. Гузенков П.Г.
Детали машин. – М.: Высшая
школа, 1982. – 351 с.
3. Детали машин / К.И.
Заблонский. – К.: Вища шк., 1985. – 518 с.
4. Иванов М.Н. Детали машин. – М.:
Высш. шк., 1991. – 383 с.
5. Павлише В.Т. Основи конструювання та розрахунок деталей машин: Підручник. – 2-е вид. перероб. –
Львів: Афіша, 2003. – 560 с.
6. Решетов Д.Н. Детали машин. – М.:
Машиностроение, 1989.– 496 с.
7. Справочник по
геометрическому расчёту эвольвентных зубчастых и черв’ячных передач / Под ред. И.А.Болотовского. – М.: Машиностроение, 1986.
448 с.
8. Коновалюк Д.М., Ковальчук Р.М. Деталі
машин: Підручник: Друге видання. – К.: Кондор, 2004. – 584 с.