Стрижень
гвинта навантажений лише зовнішньою розтягуючою силою (рис. 6).
Площу
небезпечного перерізу оцінюють приблизно за внутрішнім діаметром d1
різі.
Умова
міцності за напругами розтягу у стрижні:
, (6)
де
– площа поперечного
перерізу ґвинта.

Рис. 6
Прогонич затягнутий,
зовнішнє навантаження відсутнє. Прикладом є прогоничі для
кріплення ненавантажених герметичних кришок та люків корпусів машин
(рис. 7). Стрижень прогонича розтягується осьовою силою Fзат, яка виникає від
затягування прогонича.
Напруга
розтягу від сили Fзат:
. (7)
Напруга
кручення від дії моменту Тр:
. (8)

Рис. 7
Міцність
прогонича визначається за еквівалентною напругою:
. (9)
Для
стандартних метричних різей sекв» 1,3s,
тому міцність прогоничів за спрощеною формулою визначиться:
. (10)
З’єднання
навантажене силами, що зсувають деталі у стику (рис. 8).
Умова
надійності цього з’єднання – це відсутність зсуву деталей в стику. Розглянемо
два варіанти.
1. Прогонич поставлено без
зазору (рис. 8, а). Проводячи розрахунок
міцності з’єднання не враховують сили тертя в стику, так як затягування
прогонича необов’язкове.
Умова
міцності за напругами зрізу:
, (11)
де
і – число площин зрізу ( на рис. 8, а
і = 2).

Рис. 8
Напруги
змину визначаються:
, для середньої деталі,
а
для крайньої деталі:
(12)
де d1, d2 –
товщина деталей.
2. Прогонич поставлено з
проміжком (рис.8б). Зовнішнє
навантаження F зрівноважують сили
тертя в стику, які утворюються від затягування прогонича. Умова відсутності
зсуву деталей
F £ Fтер = іFзат ×f,
або
Fзат =
КF/(if), (12)
де і – число площин стику деталей; f – коефіцієнт тертя в стику; К – коефі-цієнт запасу (К = 1,3 …1,5 при статичному навантаженні,
К = 1,8 … 2 – при змінному).
Прогонич
затягнутий, зовнішнє навантаження розкриває стик деталей. Прикладом
є прогонич для кріплення кришок резервуарів, навантажених тиском р рідини або газу (рис. 9). Затяжка прогоничів
повинне забезпечити герметичність з’єднання або нерозкриття стику є під
навантаженням.

Рис. 9
Для
даного випадку визначають:
а)
розрахункове сумарне навантаження на прогонич
,
(13)
б)
приріст навантаження на прогонич
(14)
в)
залишкове затягування стику від одного прогонича
, (15)
де c – коефіцієнт зовнішнього
навантаження. Fзат =Kзат*F,
де Kзат – коефіцієнт
затяжки (Kзат=2,5…4), F – зовнішнє навантаження з’єднання, що
припадає на один прогонич.
Розрахунок
з’єднань, які містять групу прогоничів. Розрахунок базується на визначенні навантаження для
найбільш навантаженого прогонича. Далі розраховують міцність цього прогонича за
формулами одного з вище розглянутих випадків.

Рис. 10

Рис. 11
Розрізняють три
характерних випадки розрахунку з’єднань, що містять групу прогоничів:
1)
рівнодіюче
навантаження з’єднання перпендикулярне площині стику та проходить через центр
ваги (рис. 10);
2)
навантаження
з’єднання зсуває деталі в стику (рис. 11);
3)
навантаження
з’єднання розкриває стик деталей (рис. 12).

Рис. 12
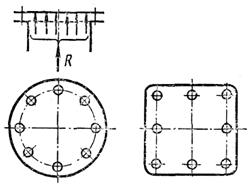
Випадок 1.
Рівнодіюче
навантаження з’єднання перпендикулярне площині стику та проходить через центр
ваги. Цей випадок характерний для з’єднань круглих та прямокутних кришок
прогоничами, кришки навантажені тиском рідини або газу.
, (16)
та
,
де Kзат – коефіцієнт
затяжки (Kзат=1,25…2)
Випадок 2.
Навантаження
з’єднання зсуває деталі в стику. Розглянемо на прикладі кріплення кронштейна до
плити (рис. 11). Порядок розрахунку:
1.Силу
заміняємо такою ж силою, що прикладена в центрі ваги стику і
моментом
. Навантаження від сили
розподіляється по
прогоничам рівномірно.
2.Визначаємо навантаження на один
прогонич від дії сили
:
.
3.Визначаємо навантаження на прогонич
від дії моменту
.
4.Визначаємо сумарне навантаження
кожного прогонича. Найбільше приймають за розрахункове. (
).
У
конструкції прогоничі можуть бути поставлені з зазором і без зазору. Якщо
прогонич поставлено без зазору. його міцність розраховується за напруженнями
зрізу та зминання [формули (11) та (12)]. Якщо ж прогонич поставлено з зазором
визначаємо величину потрібної затяжки:
,
(17)
де
– коефіцієнт запасу;
– сила, що припадає на один прогонич.
Міцність прогоничів розраховуємо за
формулою (9).
У якості другого
прикладу розрахунку групи прогоничів при наявності зсуваючої сили розглянемо
фланцеве з’єднання валів (рис. 11, б). Для прогоничів, що поставлені без
зазору, розрахункове навантаження одного прогонича визначиться:
. Для прогоничів, поставлених із зазором:
. У даних формулах:
– діаметр розташування
центрів прогоничів.
Випадок 3. Навантаження з’єднання
розкриває стик деталей. Цей випадок розглянемо на прикладі кронштейна, який
кріпиться до основи за допомогою прогоничів.
Порядок
розв’язку: 1. Розкладаємо
зовнішню силу
на складові
і
. Дію цих складових заміняємо дією сил
і
, які прикладені в центрі стику, та дією моменту:
. (18)
2. Виконуємо розрахунок з умови
нерозкриття стику:
, (19)
де z – число прогоничів, Аст
– площа стику. Це напруження затяжки зменшиться на величину:
.
У перерізі також
діють напруження від згинаючого моменту:
, де Wст – момент опору згину площі стику.
3. Визначаємо сумарну напруження в стику:
(20)
Якщо ![]()
– стик не
розривається.
4. Визначаємо:
(21)
5. Знаходимо зусилля затяжки за (19).
Підібрати
прогоничі зі сталі Ст 4 для
фланцевого з’єднання паропроводу (рис. 13), якщо: тиск пари в паропроводі
р = 15 ат = 15 × 9,81 × 10-2 МПа, внутрішній діаметр паропроводу D = 300 мм, кількість прогоничів z= 12.
У подібних
конструкціях прогоничі повинні бути попередньо (під час монтажу) досить сильно
затягнуті, щоб при дії робочого навантаження не порушилась герметичність стику.
1. Визначаємо сумарну силу
затягування, що сприймається прогоничами:
.
2. Допустиме напруження для
прогоничів із сталі Ст 4 при
sт = 250 МПа:
,де sт – межа текучості для заданого
матеріалу;
- коефіцієнт запасу міцності матеріалу,
= 2. Маємо:
МПа.
3.
Скористаємося формулою, яка описує умову міцності з’єднань прогоничами, що
навантажені осьовою силою та забезпечують геометричність з’єднання:
![]()
де
– коефіцієнт затяжки
= 1,3;
К – коефіцієнт навантаження, К = 1,45.. 2,3 приймаємо К = 2,2.
Fзат
– сила
затяжки (див. вище);
z –
кількість
прогоничів (z = 12);
dр
– розрахунковий
діаметр прогонича, dp »
d-0,9p.
Розрахунковий діаметр прогонича:
.
За стандартом
приймаємо прогонич М20, для якого d=
d1=
Розрахувати прогоничі, якими стійка кріпиться до плити
(рис. 14), якщо відомо: F = 17 кН; а =

Рис. 14
Приймаємо ширину
основи стояка В = 0,5 а =
.
Рахуємо, що
напруги згину від сили затяжки та розтягу від сили F розподіляються рівномірно по всій площині стику. Зусилля у
прогоничах від зовнішньої сили F:
![]()
Зусилля у
прогоничах від моменту:
.
Тоді розрахункове
навантаження, що діє на найбільш навантажений прогонич, визначиться:
Fp = 1,3Fз+c(Fм
+N),
де c= 0,2 …0,3 – коефіцієнт зовнішнього
навантаження; приймемо c = 0,25, Fзат
– необхідна сила затяжки з умови нерозкриття стику
,
де Аст = а ×
В – площа
основи стояка;
Wcт=
– момент опору стику;
К = 1,3…2 – коефіцієнт
запасу. Приймаємо К = 1,5. Маємо:

Тоді розрахункове навантаження:
Fp= 1,3×36428 + 0,25(5262 + 8500) =
39868 Н.
Приймаємо для
прогоничів сталь Ст3, для якої sт=
220 Мпа,
[8 ], стор. 33, табл. 2.5. Приймаємо коефіцієнт запасу
= 3. Тоді допустима
напруга матеріалу прогонича:
МПа.
Внутрішній
діаметр прогонича (різі):
мм.
За ГОСТ 8724 – 81 приймаємо різь М30 х 2, для якої d1
=
Розрахувати
клемове прогоничеве з’єднання, яке б забезпечило передачу крутного моменту з
важеля після прикладання до його кінця сили F на вал діаметром D. Відомо, що D = 50 мм; f = 0.2 – коефіцієнт
тертя; F = 900 Н; а = 580 мм.
Клемовий важіль
виконаний з роз’ємною маточиною (рис. 15). Для того, щоб запобігти повороту важеля,
необхідно так притиснути клеми до валу силою Fп, щоб виникли
сили тертя f×Fп f×Fп×D ³ F×a. З рис. 15 видно, що сумарна сила
затяжки прогоничів Fзат×z = Fп.
Приймаємо число прогоничів z = 2. Тоді:
f×Fзат×z×D = K×F×a. (1)
Внутрішній діаметр різі
визначиться:
. (2)
Приймемо для
прогоничів матеріал Ст3 з межею текучості
.
Допустимий
коефіцієнт запасу міцності для затягнутих прогоничів із вуглецевої сталі
1,5...2,2. Приймемо
. Допустимі напруження розтягу:
.
Підставляємо це
значення в формулу (2), маємо:
![]()
Приймемо різь
метричну М33 з кроком Р = 3,5 мм, у якої
(значення приймаємо
більше за отримане в розрахунках).