Лекція 2. Експлуатаційні
вимоги до елементів будівель і споруд
|
2.1. Основи і фундаменти. Природні основи і вимоги
до них |
|
2.2. Стіни і каркаси. Види стін і експлуатаційні
вимоги до них |
|
2.3. Покриття і дахи. Види покриттів та
експлуатаційні вимоги до них |
|
2.4. Перекриття і підлоги. Експлуатаційні вимоги до перекриттів |
|
2.5. Експлуатаційні вимоги до вікон, дверей, воріт і
сходів |
2.1. Основи і фундаменти. Природні основи і
вимоги до них
Характеристика основ. Основою називається масив ґрунту, який сприймає
навантаження від будівлі або споруди. Основи розподіляються на природні та
штучні. Природною основою називається масив ґрунту в тому стані, в якому він
знаходиться у природі, штучним – масив ґрунту з штучно зміненими властивостями
за рахунок ущільнювання, закріплення хімічним, електрохімічним або іншими
засобами. Головна вимога до основи – відносно невелика і рівномірна її
деформація під навантаженням, а також відсутність просадок (деформацій провального
характеру) при одночасній дії навантаження і зволоження.
Ґрунти
основи ділять на два класи: скельні і нескельні. До скельних відносять всі
ґрунти з жорсткими зв'язками між частинками. Нескельні ґрунти, в яких між
частинками існують рухомі водяно-колоїдні зв'язки, що різко змінюють свою
міцність під впливом зволоження або висушення,
називають зв'язними. Нескельні ґрунти, які не мають зв'язків
між частинками, називають незв'язними або роздільно-зернистими.
Фізичні
властивості ґрунтів характеризуються щільністю, об'ємною масою ґрунту і його
твердою фазою (скелетом), пористістю, коефіцієнтом пористості та вологості.
Щільність, об'ємну масу і вологість ґрунту визначають експериментально, а інші
характеристики вираховують за спеціальними формулами.
Глинисті
ґрунти мають лускувату структуру і складаються з дрібних, зв'язаних між собою
частинок. Пустоти між лускою заповнені водою, зимою ця вода замерзає, що
викликає здимання ґрунтів. Глинисті ґрунти поділяють на три групи: супіски з
вмістом глиняних частинок 3-12 %, суглинки з вмістом глиняних частинок 12-25 %і
глини з вмістом глиняних частинок більше 25 %.
У
залежності від вологості глинисті ґрунти можуть бути в твердому, пластичному і
текучому стані.
Піщані
ґрунти – сипучі, і в сухому стані не мають властивостей пластичності. Залежно
від розміру зерен піски поділяють на великі, середні,
дрібні і порохняві (останні вміщують в собі 15-20% порохнявих частинок розміром
від 0,05 до 0,005 мм). Піщана основа значної товщини дає швидко затухаючу і
рівномірну осадку і не має властивості здимання.
Серед
нескельних ґрунтів виділяють великоуламкові (щебінь, галька, гравій). Вони
вміщують у масі більше 50% кристалічних і осадкових
порід величиною більше ніж 2мм, цим вони відрізняються від піску, де вміст
таких частинок менш ніж 50%. Великоуламкові ґрунти мало ущільнюються
і, як правило, дають під навантаженням невеликі рівномірні осадки. Піски і
великоуламкові породи за своїми природними якостями є доброю основою для
будівель і споруд.
Особливо
належить зупинитися на лесових ґрунтах, які на Україні займають великі площі,
як на природних основах під будівлі і споруди.
Лесові
ґрунти за зерновим складом відносять до порохнявих суглинків, тобто вони є
сумішшю піску, глини і від 10 до 30 % пилуватих частинок. Характерною їх
ознакою є великі і довгі капіляри – макропори у
вигляді вертикальних трубочок, які при змочуванні розмокають і під
навантаженням дають великі осадки. Основами вони можуть служити лише в тому
випадку, коли їх захищати від зволоження або спеціально обробляти, наприклад,
попередньо зволожувати і ущільнювати катками або трамбівками, що ефективно при
товщині просадочного ґрунту до 1,5 м.
Характеристика фундаментів. Фундаментами на природних основах неглибокого закладення
називають такі конструкції, які споруджують у відкритих котлованах глибиною не
більше 5-6 м (рис. 2.1, а...е).

Рис. 2.1. Основні конструкції фундаментів:
а -
стрічковий під стіни;
б -
стрічковий монолітний під колони;
в -
стовпчастий під стіни;
г -
стовпчастий стаканного типу під колону;
д -
суцільна плита під колони;
е - коробчастий під будівлю; ж – пальовий
Основна
вимога до фундаментів – обов'язкова міцність, довговічність, стійкість проти
агресивної дії ґрунтових вод. Фундамент повинен мати такі розміри, щоб середній
тиск від розрахованих навантажень під підошвою його не перевищував
розрахованого тиску на грунт. Крім цього, розраховане
значення осідань і різниця їх між окремими фундаментами однієї споруди не
повинні перевищувати встановлених норм проектування граничних значень.
Фундаменти
можуть мати різну форму. Так, фундаменти масивних споруд (мостових опор,
пам'ятників тощо) виконують у вигляді масивів. Для окремих опор (колон) можуть
бути споруджені під кожну колону окремі фундаменти (див. рис. 2.1, г), або
загальний під декілька колон плитний або стрічковий фундамент (див. рис. 2.1,
б). Міцність матеріалу фундаменту, як правило, значно вища міцності ґрунту
основи, і розмір площі підошви фундаменту приймають завжди більший, ніж розмір
площі обрізу, тобто фундамент завжди розширений донизу.
Для
забудови фундаментів використовують залізобетон, бетон, бутобетон, бутову
кладку. Бутову кладку, бутобетон і бетон застосовують, як правило, в
конструкціях жорстких фундаментів (див. рис. 2.1, а, в), в яких не виникає
розтяг. Залізобетонні фундаменти застосовують лише при наявності в конструкції розтягуючих напружень, тобто при спорудженні гнучких
фундаментів (див. рис. 2.1, б, г). Крім того, із залізобетону виготовляють
збірні фундаменти.
Для
побудови стовпчастих фундаментів часто доводиться виконувати дуже глибокі ями,
особливо в слабких ґрунтах. У цих випадках копання ям під стовпчасті фундаменти
стає важким і трудомістким. Більш доцільним виявляється використання пальових
фундаментів (рис. 2.1, є). Круглі або багатогранні стержні (дерев'яні,
бетонні, залізобетонні або металеві), занурені в ґрунт, називають палями. Групу
паль, яка утворює пальові фундаменти, зверху зв'язують жорсткою балкою або
плитою, яка перешкоджає горизонтальному переміщенню верхньої частини і
забезпечує передачу тиску від споруди на всі палі. Таку балку (плиту), яка
зв'язує оголовники паль, називають ростверком.
Глибина
закладення підошви фундаменту залежить від шару несучого ґрунту, рівня
ґрунтових вод. У випадку можливого здимання ґрунту при замерзанні фундамент
повинен бути заглиблений на 250 мм нижче розрахованої глибини промерзання. Це
має місце на глинах, суглинках, супісках, а також на дрібних і пилуватих
пісках, супісках і глинах, якщо рівень ґрунтових вод знаходиться ближче ніж на
2 м до розрахованої глибини промерзання.
Під час виконання підвалів за зовнішні стіни, як правило,
правлять стінки стрічкових фундаментів, а в каркасних будівлях з стовпчастими
фундаментами стіни підвалу роблять у вигляді спеціальних залізобетонних панелей.
Під
час проектування підвальних приміщень дуже важливо виконувати гідроізоляцію від
ґрунтових вод, наявність яких викликає гідравлічний тиск на стіни і підлогу
підвалу.
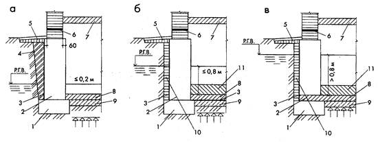
Якщо
рівень ґрунтових вод не перевищує 0,2 м над рівнем підлоги підвалу, передбачають
гідроізоляцію горизонтальну, яку встановлюють вище подушки фундаменту, і
вертикальну по зовнішній поверхні стін підвалу, захищеній шаром жирної м'ятої
глини товщиною 0,2-0,25 м для попередження пошкоджень гідроізоляції (рис. 2.2,
а). Якщо рівень ґрунтових вод вище ніж 0,2 м, але не більше 0,8 м, під підлогою
підвалу повинна передбачатися гідроізоляція, укладена на бетонну підготовку
(рис. 2.2, б). Крім того, для вертикальної поверхні і для додаткового захисту
застосовують обличкування з перепаленої цегли товщиною в половину цеглини. Для
попередження здимання підготовки і підлоги підвалу необхідно враховувати, що
гідростатичний тиск, рівний висоті рівня ґрунтової води, повинен бути меншим
ваги підготовки і підлоги підвалу (розрахунок за вспливанням).
Нарешті, якщо рівень ґрунтової води вище ніж 0,8 м відмітки підлоги підвалу,
гідроізоляцію влаштовують так, як і в попередньому випадку, але підстильний
шар підвалу повинен бути виконаний із залізобетону, розрахований на гідростатичний
тиск і замурований за периметром в зовнішні стіни (рис. 2.2, в), і мати
додаткову навантажувальну плиту.

Рис. 2.2. Гідроізоляція підвальних приміщень:
а -
рівень ґрунтової води, що не перевищує 0,2 м від підлоги підвалу;
б -
рівень ґрунтової води 0,2 ... 0,8 м;
в -
рівень ґрунтової води понад 0,8 м;
1 -
подушка (плита) фундаменту;
2 -
стіна підвалу;
3 - склеювальна гідроізоляція;
4 -
глиняний замок;
5 -
вимощення;
6 -
горизонтальна гідроізоляція стіни;
7 -
перекриття над підвалом;
8 -
залізобетонна плита підвалу;
9 -
бетонна підготовка класу В7.5,
10 -
захисна стіна в 1/2 перепаленої цегли;
11 - привантажувальна залізобетонна плита проти вспливання підлоги підвалу
Для
гідроізоляції застосовують смоляну мастику, толь, рубероїд,
гідроізол. Як правило, за наявності ґрунтових вод більш надійна обмазувальна і
обклеювальна гідроізоляція.
Нерівномірність
осідань будівлі може бути обумовлена неоднорідністю основи, неоднаковим або
неоднозначним навантаженням фундаментів, динамічною дією на ґрунт основи,
зміною рівня ґрунтових вод у процесі експлуатації. Прорив води з напірних
трубопроводів в ґрунт може призвести до осідання аварійного характеру. Можливе
проникнення ґрунтової води разом з ґрунтом у несправні каналізаційні колектори,
в результаті чого на поверхні ґрунту утворюється яма виносу, яка викличе значне переміщення фундаментів. Тому фундаменти
розміщують за межами ями виносу.
Для
зменшення чутливості до нерівномірності осідань Властовують
вертикальні осадочні шви, що розрізають будівлю або споруду на окремі частини.
В шви закладають пружні прокладки, які забезпечують їхню непродувність
навіть за збільшення ширини розкриття швів за рахунок нерівномірного осідання
будівлі або споруди. Під час влаштування осадочних швів необхідно забезпечувати
гнучке (рухоме) кріплення трубопроводів та більші отвори у стінах.
Особливу
увагу належить звертати на вимощення, яке являє собою шар асфальту, бетону або
каменю товщиною 100–150 мм і шириною
750–1500 мм, зроблене уздовж зовнішньої стіни будівлі, вкладене на підготовлену
з глини і щебеню основу і має нахил від будівлі
0,03–0,05 %.
Воно
призначене для відводу води від будівлі і прикриття верхнього обрізу
фундаменту. Справний стан вимощення є важливою експлуатаційною умовою, і
вимощення має підтримуватися у справному стані для захисту всієї споруди, його
несправний стан, накопичення на ньому води тягнуть за собою пошкодження верхніх
частин будівлі.
2.2. Стіни і каркаси. Види стін і експлуатаційні
вимоги до них
Характеристика стін.
Стіни поділяють на несучі, самонесучі і навісні. Несучі стіни сприймають
навантаження від власної ваги, навантаження від покриття, перекриття і в ряді
випадків від підйомно-транспортного обладнання. Для
їхнього улаштування використовують в основному цеглу, великі та дрібні блоки.
Самонесучі стіни (частіше за все із великих панелей) сприймають навантаження
від власної ваги і вітру за всією висотою будівлі і передають зусилля на каркас
її. Навісні стіни сприймають навантаження від власної ваги і вітру в межах
тільки одного поверху, вони виконують в основному функції огородження і
виготовляються, як правило, багатошаровими, із легких ефективних матеріалів.
Зовнішні
стіни будівель повинні мати необхідну міцність, довговічність, в тому числі стійкість
проти атмосферних впливів і корозії, мати необхідні тепло-, водо-, повітро- і звукоізоляційні якості, бути вогнестійкими,
забезпечувати індустріальність та економічну
ефективність будівництва. Конструктивні рішення стін повинні відповідати естетичним
вимогам.
Довговічність
стін забезпечується застосуванням матеріалів, стійких проти руйнівного впливу
навколишнього середовища або ж захистом малостійких матеріалів за допомогою
захисних шарів з морозостійких, вологостійких і стійких проти корозії матеріалів.
Ступінь довговічності стінових конструкцій залежить також від вологісного режиму приміщень, а для зовнішніх стін – від
кліматичних умов регіону. Тому матеріал і конструктивне рішення стін вибирають
залежно від кліматичних умов, температурно-вологісного
режиму приміщень і прийнятої конструктивної схеми будівлі з урахуванням максимального
використання термоізолюючих і механічних властивостей
матеріалів.
Збереження
теплозахисних і санітарно-гігієнічних якостей, забезпечення необхідної
довговічності стін можливі тільки за дотримання відповідного вологісного режиму і попередженні Кондесації
водяних парів у процесі експлуатації.
Нормами
передбачена така градація вологісного режиму
приміщення:
–
сухий (відносна вологість повітря в зимовий час, <р
< 50 %),
–
нормальний (ф = 50-60 %),
–
вологий ((р = 61-75 %),
–
мокрий (ф > 75 %).
У
виробничих приміщеннях допустима відносна вологість повітря залежить від
технології.
Під
час охолодження повітря його відносна вологість збільшується, і при деякій температурі,
яка називається точкою роси, відносна вологість досягає 100 %. Це означає, що
за подальшого охолодження повітря частина вологи буде конденсуватися. Для
попередження конденсації необхідно, щоб температура на внутрішній поверхні
огородження завжди була вище точки роси.
Розрахунок
огороджувальних конструкцій за можливістю Кондесації
вологи на їхній поверхні виконують за умови, що значення відносної вологості в
приміщеннях із заданим вологісним режимом дорівнює
максимальній допустимій вологості.
Найбільш
небезпечні з точки зору утворення конденсату кути приміщення, де (за рахунок
підвищення площі тепловіддачі над площею теплосприймання)
температура звичайно нижча, ніж на решті поверхні стінки, а також місця
розташування теплопровідних включень (залізобетонні ребра, залізобетонні колони
в цегляних стінах тощо).
Під
час загрози появи конденсату у вказаних місцях необхідно збільшити опір
теплопередачі за рахунок влаштування пілястр, внутрішнього і зовнішнього
потовщення стіни тощо.
Можливе
також зволоження огородження за рахунок конденсації водяних парів у його товщі,
що відбувається, як правило, в зимовий час при дифузії водяних парів з
приміщення через огородження назовні (внаслідок більш високої пружності пару в
середині теплого приміщення в порівнянні з зимовим зовнішнім повітрям). При
цьому імовірне утворення конденсату в таких місцях: в однорідній стіні на 2/3
товщини, якщо рахувати із середини; в багатошарових стінах – зразу за шаром
утеплення, також рахуючи з середини; в покриттях – під стяжкою або
гідроізоляцією (пароізоляцією) в разі, якщо розрахунок показує на можливість
конденсації у середині огородження, то в конструкцію безпосередньо перед утеплюючими шарами вводять додаткову пароізоляцію (обмазочну, обклеєчну або
комбіновану). За нормами розрахунку вологісний режим
можна не виконувати, якщо приміщення за цим режимом є нормальним при одношаровому
огородженні або сухим при будь-якому огородженні.
Цегляні стіни. Цегляні
стіни є одним з найбільш розповсюджених видів конструкції житлових, цивільних і
промислових будівель, їх виконують з глиняної і силікатної цегли, товщиною в 3,
21/2, 2 та 11/2 цегли (або 640, 510 і 380 мм). Товщину встановлюють за
розрахунком на міцність і на опір теплопередачі. Цегляні стіни мають добрі
експлуатаційні якості, але вони трудомісткі в спорудженні, великі також
транспортні витрати з доставки цегли.
В
будівлях виробничого призначення несучі стіни підсилюють пілястрами для
підвищення стійкості. Ці пілястри можуть бути опорами для підкранових балок і
несучих конструкцій покриття. В каркасних будівлях самонесучі стіни виносять за
зовнішню межу колон каркасу і встановлюють на залізобетонні фундаментні балки.
Перемички над віконними та дверними отворами опирають безпосередньо на кладку
стін (рис. 2.3). Стійкість самонесучих стін забезпечується колонами каркасу,
при цьому зв'язок стін з каркасом здійснюють за допомогою анкерів або клямер з смугової або круглої сталі діаметром 8-10 мм, які
одним кінцем заводять в тіло стіни на 200-250 мм, а другим приварюють до закладної
стальної деталі залізобетонної колони. З метою підвищення ступеня збірності
конструкції і продуктивності праці застосовують стіни з великих блоків.

Рис. 2.3. Зовнішня самонесуча
цегляна стіна з карнизом:
1 - залізобетонна колона; 2 - кроквяна балка покриття; 3 -
плита покриття; 4 - фундаментна балка; 5 - шлакове підсипання під фундаментну
балку; 6 - горизонтальна гідроізоляція; 7 - самонесуча цегляна стіна; 8 -
залізобетонна перемичка; 9 - вимощення; 10 - стовпчастий фундамент
Великопанельні стіни. Великопанельні стіни являють собою несучу навісну або
самонесучу конструкцію. Навісні стіни влаштовують у тому випадку, коли панелі
мають невелику товщину і для їхнього виготовлення використовують матеріали з
малою середньою густиною.
Самонесучі
панельні стіни застосовують у виробничих будівлях з вологим і мокрим режимами.
Стінові
панелі можуть бути одно- або багатошаровими (рис. 2.4). Одношарові панелі
виготовляють з бетону на пористих заповнювачах: керамзиті, зольному гравії, аглопоритовому гравії, перліті, спученому доменному шлаку,
шлаковій пемзі, а також пінобетонні або газобетонні.
Одношарові стіни з легких бетонів виготовляють з захисними опоряджувальними
зовнішнім і внутрішнім шарами.
Багатошарові
панелі складаються з несучого шару, утеплювального шару і зовнішнього захисного
обробленого шару. Товщину утеплювача визначають в залежності від температурно-вологісних умов внутрішнього і зовнішнього
повітря, а також в залежності від матеріалу утеплювача. Залізобетонні шари
можуть бути з'єднані жорсткими у вигляді ребер або
гнучкими в'язями у вигляді окремих арматурних стержнів з антикорозійним
захистом. Вертикальні навантаження від власної ваги простінків і рам
сприймаються внутрішнім залізобетонним шаром, а зовнішній шар, прикріплений за
допомогою ребер жорстких зв'язків
або почеплений на гнучких зв'язках, виконує захисні функції.
Багатошарові
залізобетонні панелі у практиці часто не задовольняють експлуатаційні вимоги;
вони промерзають в місцях розташування ребер
жорсткості, які є "містками" холоду, а через ущільнювання і
деформування м'якого утеплювача промерзають і продуваються в стиках.
Удосконалення конструкції багатошарових панелей у теперешній
час є предметом досліджень.
Виходячи
з досвіду експлуатації, найбільш ефективними і економічними за будівельними й
експлуатаційними витратами виявилися одношарові панелі, зокрема, із
керамзитобетону з середньою густиною 1000-1200 кг/м3 з зовнішнім
фактурним покриттям поліхлорвініловими фарбами і наступною гідрофобізацією кремніє-органічними з'єднаннями. Облицювання панелей
керамічними плитками уповільнює висихання панелей і тому менш бажане ніж
фарбування і подальша гідрофобізація. Правда, гідрофобізацію доводиться
повторювати в період експлуатації через шість-вісім років.
Основні
втрати тепла в великопанельних будівлях відбуваються через стіни і вікна – біля
80 % від загальних тепловтрат. Втрати тепла через вікна усувають шляхом
подвійного і потрійного скління, щільною підгонкою і конопаченням віконних
коробок і рам. Для стін важливо, щоб температура їхньої внутрішньої поверхні
відрізнялась від температури повітря в приміщенні не більше, як на 60С,
а краще на 30С, в протилежному випадку на стіні буде з'являтися
конденсат.

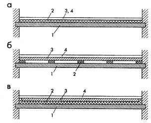
Рис. 2.4. Варіанти конструкції
стін:
а - одношарова;
б - двошарова з утеплювачем з різних боків;
в - багатошарова з утеплювачем з різних матеріалів.
Впливи на стіни:
1 - пароповітряні суміші;
2 - навантаження від архітектурних елементів;
3 - шуми;
4 - тиск повітря;
5 - скісний дощ;
6 - коливання температури зовнішнього повітря;
7 - навантаження від конструкцій, розташованих вище.
І - несучі елементи;
II - теплоізоляція;
III - захисний шар
Стіни з монолітного бетону та збірномонолітні
стіни. В останні роки широкого розповсюдження
набули багатоповерхові будівлі з монолітного і збірно-монолітного залізобетону.
Зовнішні
і внутрішні стіни з монолітного бетону в разі застосування ковзної або
блочно-щитової опалубки споруджують одночасно, в разі застосування інших типів
опалубок – послідовно (спершу внутрішні стіни, а потім зовнішні, або навпаки).
Внутрішні стіни споруджують одношаровими; зовнішні можуть бути одношаровими або
багатошаровими.
Для
зведення несучих стін з монолітного бетону застосовують важкі бетони класу не нижче
В7,5 і легкі бетони класу не нижче В5. У будівлях висотою чотири і менше
поверхів допускається в несучих стінах використовувати легкі бетони класу В3,5.
Для внутрішніх стін густина легких бетонів повинна бути не нижче 1700 кг/м3.
Монолітні
одношарові зовнішні стіни проектують з легкого бетону щільної структури. При міжзерновій пористості бетону не більше ніж 3% і класі
бетону не нижче В3,5 в нормальній і сухій за вологістю зонах зовнішні стіни
можуть не мати захисно-декоративного шару. У цьому випадку зовнішні легкобетонні стіни повинні бути пофарбовані гідрофобними
сумішами.
Зовнішні
одношарові стіни зводять з легких бетонів густиною не більше 1400 кг/м3. За
техніко-економічного обґрунтування в одношарових зовнішніх стінах застосовують
легкі бетони густиною більш ніж 1400 кг/м3.
Шаруваті
зовнішні стіни можуть складатись з двох або трьох основних шарів. Двошарові
зовнішні стіни можуть мати утеплювальні шари з зовнішнього або внутрішнього
боків. У трьохшарових зовнішніх стінах утеплювальний
шар розміщується між бетонними шарами. Двошарові зовнішні стіни з утепленням із
зовнішнього боку можуть бути монолітними або збірномонолітними.
Монолітні стіни зводять в два етапи: на першому етапі в переставних опалубках
зводять внутрішній шар стіни, на другому – зовнішній з теплоізоляційного
легкого монолітного бетону. Збірномонолітні стіни
складаються з внутрішнього монолітного шару з важкого бетону і зовнішнього шару
із збірних елементів.
Двошарові
зовнішні стіни з утеплювачем з внутрішнього боку складаються з зовнішнього
монолітного шару з легкого або важкого бетону, внутрішнього утеплюючого шару з газобетонних
блоків товщиною не більш ніж 50 мм або з жорстких плитних утеплювачів
(наприклад, з пінополістиролу) товщиною не більш ніж 30 мм і внутрішнього
опоряджувального шару.
Важкий
бетон застосовують при розрахункових зимових температурах, що не перевищують –
70С (наприклад, на півдні України). У інших випадках застосовують
легкі бетони.
Багатошарові
зовнішні стіни роблять збірномонолітними, вони
складаються з внутрішнього несучого шару з монолітного важкого бетону і
встановленого із зовнішнього боку збірного елемента в вигляді утепленої
панелі-шкаралупи.
Панель-шкаралупу
встановлюють до зведення монолітної частини стіни або після неї. Деколи
тришарові зовнішні стіни зводять із зовнішніми і внутрішніми шарами з
монолітного бетону і шаром утеплення із жорстких плитних утеплювачів.
Для
запобігання утворенню наскрізних вертикальних температурно-усадкових
тріщин відношення довжини стіни до висоти поверху
беруть не більше 2. Якщо довжина стіни вдвоє перевищує висоту поверху, то в
глухих ділянках стін влаштовують вертикальні технологічні шви.
Каркасні
конструктивні рішення застосовують у будівництві для багатоповерхових
цивільних, а також для одно- і багатоповерхових промислових будівель (див. рис.
1.3 і 1.4). Каркасні системи найбільш раціональні за значних статичних і
динамічних навантаженнях, характерних для промислових будівель за значних
розмірів перекривальних прольотів.
2.3. Покриття і дахи. Види покрить і експлуатаційні вимоги
до них
Означення покриття і даху. Покриття, як правило, складаються з несучої кроквяної
конструкції і з покрівлі, яка захищає приміщення від атмосферних опадів та дії
зовнішніх температур. Воно зазнає навантаження від тиску вітру, від ваги
снігового покрову, людей, що працюють на покритті, та власної ваги. Покриття
горища може бути роздільним і суміщеним (рис. 2.5). Верхній елемент покриття,
який охороняє будівлю від проникання атмосферних опадів, називають покрівлею
(дахом). Найбільш індустріальними є покриття житлових будівель із збірних
залізобетонних панелей, які обпираються безпосередньо на стіни.
Види покриття.
Покриття над промисловими будівлями, як правило, влаштовують без горища.
Найбільш розповсюджені рішення покриття – збірні залізобетонні плити. Покриття
легкого типу із застосуванням сталевого профільованого настилу і нових
ефективних утеплювачів доцільні при сталевих несучих конструкціях. Покриття
роблять холодними (без утеплювача) в неопалюваних промислових будівлях, а також
в будівлях із значним виділенням тепла. В опалюваних будівлях покриття роблять
утепленими. Якщо при цьому є внутрішнє водовідведення, то для розтавання снігу
на покрівлі шар теплоізоляції роблять із заниженим значенням опору
теплопередачі.
Поверхню
холодних покриттів, влаштованих на збірних залізобетонних панелях, вирівнюють
цементним розчином, після чого наклеюють рулонний килим. В утеплених покриттях
після замазування швів між залізобетонними панелями роблять пароізоляцію та
вкладають шар теплоізоляції. Як теплоізоляцію використовують легкі або пористі
бетони, жорсткі мінераловатні плити або засипку з керамзитового або зольного
гравію, гранульованого шлаку, пемзи, черепашнику тощо. Зверху теплоізоляції
влаштовують цементну (в зимовий час – асфальтну) стяжку, на яку наклеюють
рулонну покрівлю (3-4 шари).
З
метою полегшення маси покриття в практику промислового будівництва впроваджують
профільований настил – сталевий оцинкований і алюмінієвий (рис. 2.6).
Покрівлі
цивільних будинків роблять з листової сталі або рулонних матеріалів, з
хвилястих азбестоцементних листів та інших матеріалів. У промислових будівлях
роблять переважно рулонні покрівлі, проте застосовують покрівлі з
азбестоцементних хвилястих листів, а також мастичні покрівлі, армовані скломатеріали, профнастили.
Для
покрівлі з рулонних матеріалів максимальні нахили схилого
покриття не повинні перевищувати 25 %. Рулонний килим прибивають до основи
цвяхами, приклеюють теплостійкою мастикою.

Рис. 2.5. Типи покриття:
а,б - горищні із зовнішнім (а) і внутрішнім (б) водостоком;
б - горищне з малими нахилами;
в - роздільне; г -
суміщене;
д - поперечний розріз покриття з теплим горищем.
1 - горищне перекриття;
2 - покрівля;
3 - слухове вікно;
4 - вентиляційні продухи;
5 - вікно з жалюзями для
вентиляції горища;
6 - поперечні несучі рами;
7 - панелі перекриття;
8 - надбудова для виходу на покрівлю;
9 - утеплена лоткова панель;
10 - комплексна плита покриття;
11 - випуски вентиляційних блоків на горище;
12 - випуск повітря з горища назовні
За
будівельними витратами суміщене покриття економічніше
за дахове, але йому властиві істотні експлуатаційні недоліки, які викликають
великі експлуатаційні витрати, а часто і необхідність реконструкції. За останні
роки побудовано багато різних типів залізобетонних покрить (див. рис. 2.5), в
тому числі з наскрізними каналами у комплексній панелі.
Найбільш
доцільним за експлуатаційними показниками, які є визначальними,
загальновизнане роздільне покриття з внутрішнім водовідводом і прохідним або
пів-прохідним горищем. Горище дозволяє відвести з утеплювача вологу, а також
виявити і ліквідувати підтікання покрівлі, виконувати просушку або заміну утеплювача.
Непрохідне горище, як показує досвід, недоступне для обслуговування і тому не
рекомендується. Відведення води з покриттів цивільних і промислових будівель
може бути зовнішнім і внутрішнім. Зовнішній неорганізований водовідвід (зі
звису карнизів покриття, без влаштування жолобів) допускається при відсутності
дощової каналізації на території підприємства і ширині опалюваної будівлі не
більше 72 м, тобто шлях води по покрівлі в одну сторону повинен бути не більше
36 м.
Неорганізоване
відведення води допускається в 5-поверхових житлових будинках без балконів,
відокремлених від тротуарів і доріг газонами. Більш надійно організоване
відведення води за допомогою водозбірних жолобів, воронок і труб, з
влаштуванням водозбірних воронок під лотками настінних жолобів (рис. 2.7, а)
або парапетних стінок
(рис. 2.7, б).
Експлуатація
організованого зовнішнього відведення води створює певні труднощі: у
водозбірних воронках і в лотках парапетів утворюються льодяні пробки. Вилучення
льоду з настінних жолобів пов'язана з великими труднощами і часто приводить до
пошкодження покрівлі. Тому в теперешній час покрівлі
з зовнішнім водовідводом вважають застарілими, і для будівель у вісім поверхів
і більше їхнє застосування заборонено СНіП.
В будівлях підвищеної
поверховості більш надійне відведення води з покриття за допомогою внутрішніх
водостоків, коли схили покриття роблять до центральної осі будівлі. Внутрішні
водостоки у вигляді чавунних труб розміщують у сходових клітках, у туалетах або
в ванних кімнатах так, щоб вони не псували зовнішній вигляд, не заважали
експлуатації приміщень.
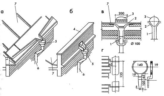
Водостічні воронки (рис. 2.7,
г) складаються з трьох основних частин: патрубка, горловини і ковпака, а в площинах водозбору – з горизонтальних ґрат.
Плоскі воронки скоро засмічуються і вимагають уважного догляду за їхнім станом.
Багатопрольотні виробничі
будівлі зі схильними або плоскими покриттями проектують також з внутрішнім
водовідводом. Покриття багатопрольотних неопалюваних
будівель з внутрішнім відводом води можна застосовувати при наявності
виробничих тепловиділень, що забезпечують позитивну температуру в середині
будівель, при влаштуванні спеціального нагрівання водостічних воронок і труб.
Відстань між воронками для покрівель будь-яких видів повинна бути не більше 48
м.


Рис. 2.6. Облегшені покриття
виробничих будівель по металевих профільних листах (а), по залізобетонних
панелях (б):
1 - несучий елемент; 2 - пароізоляція; 3 - м'який
утеплювач; 4 - цементно-піщана стяжка; 5 - покрівля (рулонна або безрулонна мастична); 6 - захисний шар
Найбільш
перспективною покрівлею, що відповідає високим експлуатаційним вимогам, є плоскосхила з внутрішнім відводом води і з теплим дахом.
Під час удосконалення конструкції покрівлі необхідно передбачати
високопродуктивну механізацію, яка гарантує економіч-ність,
надійність і довговічність покрівлі.

Рис. 2.7. Конструкції
водостічних лійок:
а - при організованому зовнішньому водостоці; б - при
організованому зовнішньому водостоці через парапетну стінку; в - один із типів
внутрішнього водостоку;г - кріплення труб водостоку;
1 -,патрубок; 2 - горловина; 3 - ковпак; 4 - парапетна
стіна; 5 - водостічна лійка; 6 - водостічні труби; 7 – покрівля
2.4. Перекриття і підлоги. Експлуатаційні вимоги
до перекриттів
Експлуатаційні
вимоги до перекриттів. Перекриття
мають відповідати вимогам міцності і жорсткості. Міжповерхові перекриття
повинні мати достатню звукоізоляційну здатність, а надпідвальні
і дахові перекриття – достатні теплоізоляційні якості.
Перекриття розподіляються на
балочні (з несучими балками, що приймають навантаження від плити перекриття) і безбалочні – у вигляді несучої плити, яка обпирається
безпосередньо на стіни або розширені капітелі колон. Безбалочні
перекриття роблять із залізобетону. Балочні перекриття залежно від матеріалу
балок розділяються на перекриття із сталевих і залізобетонних балок. У старих
будівлях трапляються перекриття із дерев'яних балок.

У
перекриттях із сталевих балок використовують двотаврові або швелерні сталеві
профілі. Безпосередньо на нижні полиці сталевих балок кладуть легкі бетонні
плити, укладають утеплювач, лаги, на які стелять підлогу (рис. 2.8).
Рис. 2.8. Перекриття по
сталевих балках:
1 - балка;
2 - накат, залізобетонна плита;
3 - звукоізоляція (пісок 60 ...70 мм);
4 - лаги;
5 - дощана підлога;
6 - штукатурка
Перекриття із сталевих балок
довговічні, але при пожежі під впливом високих температур сталеві балки
деформуються, внаслідок чого руйнується перекриття, а, деколи, і стіни будівлі.
В теперешній час перекриття із сталевих балок
споруджують рідко, і, в основному, в будівлях
виробничого призначення.
Залізобетонні перекриття
можуть бути монолітними (ребристими) або збірними (панельними або балочними).
Основні типи залізобетонного перекриття житлових будівель представлені на рис.
2.9.

Рис. 2.9. Панельні перекриття:
а - круглопорожнинні; б -
суцільні; в, г - ребристі; 1 - несуча панель перекриття; 2 - пружні акустичні
прокладки; 3 - основа підлоги; 4 - покриття підлоги; 5 - причіпна стеля
Достатньої звукоізоляції
перекриття та інших огороджуючих конструкцій без їх
збільшення можна добитися шляхом застосування роздільних конструкцій з
суцільним повітряним прошарком без жорсткого зв'язку між елементами огорожі.
Доцільно також застосову-вати шаруваті конструкції,
які складаються із декількох шарів матеріалу, що різко відрізняються своєю
міцністю і жорсткістю. Різні рішення звукоізоляції перекрить показані на рис.
2.10.

Рис. 2.10. Види перекриттів:
а - підлога суміщена на суцільній пружній прокладці;
б - підлога роздільна на пружних штукових
прокладках;
в - підлога роздільна на суцільній пружній прокладці;
1 - несуча
панель; 2 - пружні прокладки;
3 – основа
підлоги; 4 - покриття підлоги
Експлуатаційні
вимоги до підлог. До підлоги цивільних і, особливо, промислових будівель (рис.
2.11) пред'являється ряд експлуатаційних вимог. До таких вимог відносяться:
підвищена механічна міцність і опір стиранню, вогнетривкість, стійкість по
відношенні до фізико-механічних і біологічних впливів. При вибухо-небезпечних
виробництвах підлоги повинні бути безіскровими, тобто
не давати іскор при ударах і русі безрельсового
транспорту, діелектричними, по можливості, безшовними. Під час вибору
конструкції підлоги промислової будівлі враховують такі фактори:
–
розташування,
–
розміри
і вигляд обладнання,
–
розташування
і розміри розповсюдження механічних, теплових, хімічних, вологісних
та інших впливів на підлогу.

Рис. 2.12. Підлоги будівель а -
в житлових і громадських будівлях:
1- бетонна підготовка;
2 - цегляні стовпчики;
3 - гідроізоляція;
4 - вирівнюючі прокладки;
5 - лаги;
6 - підлога;
7- паркет;
8 - утеплювач-звукоізоляція;
9 - керамічна плитка;
10 - ізоляція;
11 - вирівнююча цементна стяжка;
12 - панель перекриття
У виробничих будівлях для
укладання водопровідних, каналізаційних та інших комунікацій часто використовують
канали, які влаштовують в підлогах. Канали виконують прямокутної форми із
збірних залізобетонних елементів. Перекривають канали, як правило,
залізобетонними плитами, які включають в конструкцію підлоги.
Підлога складається з таких
конструктивних елементів: покриття верхнього шару підлоги, безпосередньо підпадаючого під експлуатаційний вплив; гідроізоляції для
попередження проникання води в перекриття, стяжки вирівнюючого
шару для придання рівної поверхні покриттю підлоги; підстилаючого
шару; в міжповерхових перекриттях підстилаючим шаром
є несучий елемент перекриття, а в підлогах, які влаштовуються на ґрунті, він
являє собою шар бетону товщиною 100-150 мм класу В3,5.
В житлових будинках
застосовують покриття підлоги дощані, паркетні, з деревостружкових плит,
лінолеуму, в санітарних вузлах – із керамічних плиток, а в вестибюлях готелів і
гуртожитків, в ванних, туалетах, душових, умивальних – підлоги із керамічних і шлакоситалових плиток або мозаїчні шліфовані (рис. 2.11,
а).
У промислових будівлях
застосовують такі основні види покриття підлог: земляні; гравійні; щебеневі і
шлакові; бетонні; цементні; асфальтні та асфальтобетонні; булижні і бруковані;
на основі полімерів; плиточні; підлоги з рулонних і
листових матеріалів тощо (рис. 2.12).
Експлуатаційні якості підлоги
оцінюють шляхом зіставлення їхніх якостей з урахуванням призначення і виконання.

Рис. 2.12. Підлоги будівель:
1 - бетон або цементний розчин;
2 - бетон; 3 - основа; 4 - асфальто-
або дьогтебетон;
5 - бетон, щебінь, шлак;
6-сталефібробетон; 7 - кислотостійкий бетон;
8 - гідроізоляція; 9 - глинобитна суміш;
10 - булижник або бруківка; 11 - пісок; 12 - торцева
шашка;
13 - піщаний прошарок; 14 - шлак; 15 - чавунні плити;
16 - клінкерна цегла
2.5. Експлуатаційні вимоги до вікон, дверей,
воріт і сходів
Характеристика
вікон. Розміри вікон цивільних будівель встановлюють рівними 1/8 площі
підлоги освітлюваного приміщення, в південних районах – 1/10. Менша площа вікон
не буде забезпечувати необхідну освітленість, а більша – веде до
переохолодження (в північних районах) або перегріву (в південних районах)
приміщень. Вартість вікон велика і може досягти 15 % вартості будівлі.

Віконне
заповнення включає чотири основних елементи (рис. 2.13): коробку, прикріплену
до стіни, в якій передбачається спеціальна чверть, виступ, що виключає
продування сполучення коробки зі стіною; оправлення – глухе або таке, що
відкривається, навісне на петлях до коробки; підвіконну дошку зсередини;
зовнішній злив, що захищає стіну від води, яка стікає з вікна.
Рис. 2.13. Вертикальний розріз
(а) і план (б) заповнення віконного прорізу:
1 - віконна коробка; 2 - віконне оправлення;
3 - підвіконна дошка; 4 - зовнішній злив;
5 - конопатка; 6 - скло
Віконні отвори зовнішніх стін
промислових будівель роблять значно більших розмірів, ніж у цивільних будівлях.
У більшості випадків оправлення вікон у промислових будівлях роблять з
одинарним стрічковим засклінням.
Більш досконалою і
індустріальною конструкцією є сталеві віконні панелі, виготовлені з трубчастих
або гнутих профілів, які дозволяють заповнювати віконні отвори висотою до 20 м.
У зв'язку з великим дефіцитом деревини в Україні такі конструкції отримують
широке розповсюдження.
Характеристика
дверей і воріт. Двері розділяються на щитові і фільончасті; фільончасті двері
складаються з обв'язок, середників і фільонок. Для внутрішньоквартирних
дверей фільонки роблять одношаровими, а для вхідних – двошаровими, деколи з
прокладкою утеплюючого матеріалу. Щитові двері мають
полотна, які збирають з брусків; ці двері обклеюють фанерним шпоном під породи бука, дуба або
горіха.

Рис. 2.14. Конструкція
двопільних воріт (внутрішній та зовнішній вигляд):
1 - каркас із прокатних сталевих профілів; 2 - хвіртка;
3 - глуха фрамуга; 4 - навішення;
5 - механізм відкривання з дистанційним приводом;
6 - діагональна тяга; 7 - пандус
Ворота промислових будівель
призначені для в'їзду транспортних засобів, переміщення обладнання і проходу
великої кількості людей. Розміри воріт відповідають вимогам технологічного
процесу з урахуванням уніфікації конструктивних елементів стін. Полотна воріт
виконують з різних матеріалів. Існує декілька різновидів воріт: утеплені,
холодні, з кватирками і без кватирок, розпашні,
розсувні тощо. Для утеплення використовують мінеральну повсть і вату,
поропласти та інші легкі високоефективні матеріали. Полотна воріт можуть
відкриватися як вручну, так і з допомогою спеціальних механізмів. На рис. 2.14
показані розпашні ворота з кватиркою і заскленим
верхом, каркас полотен воріт виконаний з обв'язки,
середників, діагональних тяг з прокатної сталі, а заповнення каркасу – з
дерев'яних щитів.
Загальні експлуатаційні
вимоги, які ставлять до вікон, дверей і воріт, тобто до всіх заповнювачів у
стінах, зводяться до таких: наявність високої герметичності всіх сполук і елементів, легкість відкривання і закривання до
необхідної герметичності, надійне кріплення оправлення і полотнищ у закритому і
відкритому положеннях.
Експлуатаційна придатність
заповнення оцінюється шляхом порівнювання його якостей згідно з нормативних
вимог.
Характеристика
сходів. Сходи в житлових будівлях проекту-ють,
виходячи з відношення висоти підйому маршу до його основи: 1:2; 1:1,75; 1:1,5
(рис. 2.15).

Рис. 2.15. Схема розбивання двомаршевих сходів:
а - розріз; б - план; в - профілі сходів;
1- міжповерхова площадка сходової клітки; 2 - сходи
рядові;
3 - поверхова площадка сходової клітки; 4 - нульовий марш;
5 - тамбур; 6 - позначки; 7 - сходинка; а - кут похилу
сходів
Висоту східця беруть рівною
150, 165, 180 мм, а ширину східця – 300, 285 і 270 мм. У двоповерхових будинках
ширина маршу повинна бути не менш ніж 0,9 м, а в будівлях висотою в 3 поверхи і
більше – не менше ніж 1,05 м. Сходи огороджують вогнетривкими несучими стінами,
які утворюють сходову клітку.
Марші і площадки мають
огорожу висотою 0,8 м. Огорожа сходів складається із стояків, сталевих ґрат,
верхньої обв'язки із смугової сталі і поручня, встановленого на верхню
обв'язку. Поручні виконують з твердих порід дерева або з пластмаси (рис.
2.16). Між маршами для пропуску пожежних рукавів передбачають зазори шириною
не менш ніж 0,1 м.

Рис. 2.16. Деталі сходів:
1 - поручень з деревини;
2 - огорожа;
3 - поручень з пластмаси
Під час проектування будівель
підвищеної поверховості для забезпечення безпеки евакуації мешканців на
випадок пожежі влаштовують незадимлювані сходові
клітки, які відрізняються тим, що з них можна вийти на балкон або лоджію. Сходи
бувають найчастіше залізобетонними з косоурами і
східцями, а також з готовими поверховими сходовими площадками. В цегляних
будинках сходові площадки замуровують в процесі кладки в стіни, а на
площадкові балки спирають марші сходів.
У великопанельних
залізобетонних будинках сходові площадки спирають на опорні консолі-столики з
кутиків, які приварюють до закладних деталей стін.
Усі сходи в будівлях
розподіляють на основні (для сполучення між поверхами, а також для евакуації
людей в разі пожежі або аварії), службові (для зв'язку з робочими площадками,
на яких встановлено устаткування і для додаткового зв'язку між поверхами);
пожежні (для доступу на верхні поверхи і на покриття будівлі в разі пожежі);
аварійні (для евакуації людей із будівлі на випадок пожежі або аварії).
Основні сходи розміщують в
сходових клітках, розташованих у межах контуру будівлі або у вигляді окремих
прибудов. У промислових будівлях через велику висоту поверху порівняно з
висотою поверху житлового будинку, часто проектують сходи три-, чотири- і п'ятимаршові.
Службові сходи складаються з
проміжних площадок і збірних маршів у вигляді двох тятив із смугової або кутикової сталі, до яких кріплять східці, які мають тільки
проступи.
Контрольні запитання:
1. Характеристика основ.
2. Дайте характеристику фундаментів
3. Основні конструкції фундаментів
4. Як виконується гідроізоляція підвальних
приміщень?
5. Характеристика стін.
6. Види стін і
експлуатаційні вимоги до них.
7. Чим характеризуються цегляні стіни?
8. Що являють собою великопанельні стіни?
9. Чим характеризуються
стіни з монолітного бетону та збірномонолітні стіни.
10. Дайте визначення покриттю.
11. Дайте визначення даху.
12. Види покриття.
13. Що називають віконними прорізами?
14. Охарактеризуйте основні види даху.
15. Експлуатаційні вимоги до перекриттів.
16. Що таке двері? Класифікація дверей.
17. Що таке ворота та якими вони бувають?
18. Експлуатаційні вимоги до підлог.
19. Експлуатаційні вимоги до вікон.
20. Експлуатаційні вимоги до дверей.
21. Експлуатаційні вимоги
до воріт.
22. Експлуатаційні вимоги
до сходів.
23. Охарактеризуйте
основні конструктивні елементи сходів.