Лекція 4-5
Тема:СИСТЕМА ЗАПАЛЮВАННЯ
Робоча суміш у циліндрах карбюраторного двигуна запалюється
електричною іскрою, що проскакує між електродами свічки запалювання.
Повітряний проміжок між електродами свічки має великий електричний опір, тому між
ними треба створити високу напругу, щоб виник іскровий розряд. Іскрові розряди
мають з'являтися при певному положенні поршнів та клапанів у циліндрах і
чергуватися відповідно до встановленого порядку роботи двигуна. Ці вимоги забезпечуються
системою запалювання (рис. 3), що складається з джерел струму (акумуляторна
батарея та генератор), котушки запалювання 7, переривника 9, розподільника
11, конденсатора 10, свічок запалювання 13, вмикача
(замка) запалювання 5, проводів високої 12 і низької 3 напруг.

Рис. 3.1
1-додатковий резистор;
2-кришка; 3-осердя; 4,5-відповідно вторинна і первинна обмотки; 6-кільцевий
магнітопровід; 7-ізолятор; 8-ізолювальна втулка
До кола високої напруги входять вторинна обмотка котушки
запалювання, розподільник і свічки запалювання, з'єднувальні проводи високої
напруги. Котушка складається з осердя 3 (рис. 3.1) з надітою на нього
ізольованою втулкою 8, на яку намотуються вторинна 4 й поверх
неї первинна 5 обмотки, ізолятора 7, карболітової кришки 2 із
затискачами та корпусу з магніто проводом 6. Зовні
на корпусі котушки встановлюють резистор 1, що є додатковим опором
(двигуни «Москвич», МеМЗ, ГАЗ-24), який умикається
послідовно в коло первинної обмотки і зменшує її нагрівання під час роботи двигуна
з малою частотою обертання колінчастого вала. На
автомобілі ВАЗ котушка запалювання не має додаткового опору.
Коли в
первинній обмотці проходить струм низької напруги, осердя намагнічується й
навколо обох його обмоток створюється сильне магнітне поле. Після розмикання
контактів переривника струм у первинній обмотці припиняється, створене ним
магнітне поле зникає, перетинаючи витки вторинної обмотки, в якій наводиться
ЕРС індукції. Значення цієї ЕРС пропорційне швидкості зміни магнітного потоку,
що пронизує обмотки котушки. Завдяки великій кількості витків у вторинній
обмотці й високій швидкості зникання магнітного поля напруга на вторинній
обмотці досягає 20...24 тис. В
Розподільник запалювання слугує для
періодичного розмикання кола низької напруги та розподілу струму високої
напруги по свічках запалювання відповідно до порядку роботи двигуна. Він
складається з об'єднаних у спільному корпусі переривника струму низької напруги
й розподільника струму високої напруги.


Рис. 3,2
Регулятор
випередження запалювання:
а – відцентровий; б – вакуумний; 1-замкове кільце;2-опорна
шайба;3-втулка кулачка;4-прижина;5-вал
привода;6-пластина;7-вісь;8-тягарці;9-штифт;10-планка;11-кулачок
переривника;12-діафрагма;13-тяга;14-рухомий диск переривника
У розподільнику запалювання Р-118 (автомобіль «Москвич-2140») переривник
складається з чавунного корпусу 20(рис. 3.2), всередині якого розміщено
приводний валик, з'єднаний через відцентровий регулятор з кулачком 10, нерухомого
опорного диска та рухомого диска 9. Зовні на корпусі закріплено
вакуумний регулятор випередження запалювання 8 і конденсатор 16. На
рухомому диску встановлено: нерухомий контакт 17, з'єднаний з «масою»;
рухомий контакт, ізольований від «маси» й з'єднаний провідником з ізольованим затискачем низької напруги 75; фільц 7£для змащування
кулачка. Нерухомий контакт установлено на спеціальній площадці, яку закріплено
на диску гвинтом. Площадка разом із гвинтом може переміщатися ексцентриком, що
дає змогу регулювати зазор між контактами. Рухомий контакт за допомогою пластинчастої
пружини притискається до нерухомого. Коли валик обертається, кулачок своїми
виступами періодично відтискає рухомий контакт, перериваючи коло струму
низької напруги. Замикаються контакти пластинчастою пружиною. Нормальний зазор
між контактами переривника, що перебувають у повністю розімкненому стані, має
становити 0,35...
Розподільник
складається з ротора з розносною пластиною 77, карболітової кришки
12 з вивідними бічними затискачами 13 та центральним 14 із
контактним вугликом і заглушу вальним резистором, що зменшує перешкоди
радіоприйманню. Всередині ротора є зріз, за допомогою якого він фіксується в
певному положенні на кулачку й обертається разом із ним. У гніздо центрального
затискача розподільника вставляють провід високої напруги, що йде від котушки
запалювання. Від бічних вивідних затискачів проводи приєднуються до свічок
запалювання в порядку роботи двигуна в напрямі обертання ротора. Струм високої
напруги, що індукується у вторинній обмотці котушки
запалювання, подається через контактний вуглик на пластину ротора, а потім
крізь повітряний зазор (0,4... 0,8 мм) — на бічний вивідний затискач і проводом
високої напруги — на свічку запалювання. При наступному розмиканні контактів
ротор повернеться, а розносна пластина розташується проти чергового бічного
затискача.
Випередження запалювання автоматично змінюється залежно від
частоти обертання колінчастого вала за допомогою відцентрового
регулятора що складається з двох тягарців 8, які надіваються на осі
7, закріплені на пластині б приводного вала J, і стягуються
двома пружинами 4. На тягарцях є штифти 9, які входять у прорізи планки
/0 кулачка 11 переривника.

Рис. 3.3
Октан-коректор
розподільника запалювання двигуна ВАЗ-2105
1-стопорна пластина;2-гайка;3-корпус
розподільника;4-вакуумний регулятор випередження запалювання;5-диск із
поділками
Коли частота обертання колінчастого вала
підвищується, тягарці під дією відцентрових сил розходяться й повертають планку
10 Із кулачком у напрямі його обертання на деякий кут, чим і
забезпечується більш раннє розмикання контактів переривника, тобто збільшується
випередження запалювання.
Випередження запалювання змінюється автоматично також залежно від
ступеня відкривання дросельних заслінок за допомогою вакуумного регулятора ,
порожнину якого з одного боку діафрагми сполучено з атмосферою, а з Іншого, за
допомогою трубки, — із задросельним простором
карбюратора.
Коли заслінки закриваються, розрідження в корпусі вакуумного
регулятора збільшується, діафрагма 72 , долаючи опір пружини,
прогинається назовні й через тягу ІЗ повертає рухомий диск 14 у бік
збільшення випередження запалювання; коли заслінки відкриваються, розрідження
зменшується, пружина вигинає діафрагму в протилежний бік, повертаючи диск 14
переривника у бік зменшення випередження запалювання.
Крім того, всі розподільники мають також ручне регулювання випередження
запалювання, що здійснюється залежно від октанового числа палива за допомогою октан-коректор
а. Він складається з нижньої 3 та верхньої 4 пластин. Верхню пластину
закріплено на корпусі переривника, а нижню — прикріплено до блока циліндрів.
Пластини з'єднані між собою болтом. Для збільшен ня
випередження запалювання ослаблюють болт й повертають корпус 20 переривника
проти напряму обертання ротора на одну-дві поділки шкали нижньої пластини, а
для зменшення - у зворотний бік
На автомобілях ВАЗ октан-коректор має вигляд диска 5 (рис. 3.3) з
поділками, причому диск установлюється на корпусі 3 розподільника В
нерухомому стані диск утримується стопорною пластиною 1, що кріпиться на
шпильці з гайкою 2. Для збільшення випередження запалювання ослабляють
гайку 2 й, повертаючи диск, здійснюють поворот корпусу 3 в бік
«+», а для зменшення випередження запалювання — в бік «—».
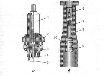
Свічка запалювання слугує для
створення Іскрового проміжку в колі високої напруги з метою запалювання робочої
суміші в циліндрі двигуна. Вона складається зі сталевого корпусу 2 (рис.
3.9, а), всередині якого встановлюється керамічний ізолятор 1. Всередині
ізолятора поміщається центральний електрод 4, верхня частина якого
сталева, а нижню виконано зі сплаву нікелю та марганцю. Бічний
електрод 5 виготовляють з такого самого сплаву. Проводи високої напруги
кріпляться на центральних електродах свічок за допомогою спеціальних
пластмасових наконечників (рис. 3.9, б) з установленими в них заглушувальними резисторами 8.

Рис. 3.4
Свічка запалювання (а) та наконечник (б):
1-ізолятор; 2-корпус; 3-прокладка;
4,5-відповідно центральний і бічний електроди; 6-різьбовий стержень; 7корпус
наконечника; 8-заглушувальний резистор; 9пружине кільце; 10-контрльна втулка
Вмикач запалювання
(замок) замикає й розмикає коло низької напруги,
вмикаючи контрольно-вимірювальні прилади, стартер, а також з'єднуючи з
джерелами струму прилади, що мають свої вмикачі (опалювач, склоочисник,
радіоприймач та ін.). Замок перешкоджає вмиканню запалювання сторонньою особою.
Схему з'єднання приладів запалювання між собою показано на рис.
Установлення запалювання. Момент запалювання суміші в циліндрах
двигуна має бути узгоджений із положенням деталей кривошипно-шатунного
механізму та механізму газорозподілу (поршень і клапани). Це узгодження
досягається встановленням запалювання, що здійснюється всякий раз, коли
узгоджена робота зазначених механізмів і системи порушується (наприклад, під
час складання двигуна, після зняття розподільника запалювання, в разі появи несправностей приладів запалювання та в інших випадках).
Щоб правильно встановити запалювання, слід діяти так.
1. Перевірити й у разі
потреби відрегулювати зазор між контактами переривника.
2. Установити поршень
першого циліндра в положення ВМТ наприкінці такту стискання. Для цього треба
вивернути свічку першого циліндра і в отвір для неї вставити паперову пробку
або закрити цей отвір пальцем. Прокручуючи колінчастий вал пусковою рукояткою,
за виходом повітря з-під пальця (виштовхуванням пробки) знайти такт стискання.
Після цього, продовжуючи повільно обертати колінчастий вал,
сумістити мітки на двигуні для встановлення запалювання. У двигуні автомобіля
«Москвич» суміщається перша риска на шківі колінчастого вала
(за ходом обертання) з установочним штифтом передньої кришки блока циліндрів, у
двигуні ВАЗ — мітка на шківі з другою міткою на передній кришці механізму
газорозподілу, у двигуні МеМЗ — перша риска (МЗ) на
шківі колінчастого вала з виступом на кришці
розподільних шестерень, у двигуні ГАЗ-24 — перша мітка — паз зі штифтом на
кришці розподільних шестерень.
3. Зняти кришку розподільника,
повернути ротор у положення, в якому його розносна пластина збігатиметься
з бічним затискачем першого циліндра кришки
розподільника (пластину ротора напрямлено на
затискач низької напруги корпусу), в такому положенні встановити розподільник
запалювання в гніздо блока й, потроху повертаючи за ротор, увести валик у
зачеплення з приводом, завернути від руки гайку кріплення розподільника до
двигуна й установити октан-коректор на нульову поділку.
4. Приєднати контрольну
лампу одним проводом до затискача низької напруги переривника, а іншим — до
маси.
5. Увімкнути запалювання й
повертати корпус розподільника запалювання проти напряму обертання ротора (у
двигунах автомобілів ГАЗ-24, ЗАЗ і «Москвич» — за годинниковою стрілкою, а в
двигунах автомобілів ВАЗ — проти) до початку розмикання контактів (у цей
момент контрольна лампа засвічується). Момент розмикання контактів можна
визначити також «за іскрою». Для цього провід високої напруги, вийнятий з
центрального затискача розподільника, потрібно тримати на відстані 3...4 мм від
маси й повертати корпус розподільника запалювання. В момент розмикання
контактів між проводом і масою з'являється іскра.
6. Вимкнути запалювання, затягнути ключем гайку кріплення
розподільника запалювання до двигуна, закрити кришку розподільника й,
починаючи із затискача першого циліндра, по черзі приєднати проводи високої
напруги до свічок у напрямі обертання ротора відповідно до порядку роботи
двигуна. Приєднати трубку вакуумного регулятора випередження запалювання.
Правильність установлення запалювання визначається пробігом. Для
цього потрібно запустити двигун, прогріти його до нормальної температури й,
рухаючись зі швидкістю 50 км/год на прямій передачі по рівній дорозі, різко
збільшити подачу палива. При цьому в двигуні мають бути чутні слабкі нетривалі
металічні стуки. Відсутність їх указує на пізнє запалювання, а стуки, що не
припиняються, — на раннє. Кут випередження запалювання в цьому разі уточнюється октан-коре ктором.
Технічне обслуговування системи запалювання.
Основні несправності: • занадто пізнє або раннє
запалювання; • перебої запалювання в одному чи кількох циліндрах; • повне
припинення запалювання.
Пізнє запалювання характеризується
втратою потужності й перегріванням двигуна, а раннє — втратою потужності
та стуком у двигуні. Для усунення несправності слід перевірити й, якщо треба,
відрегулювати момент запалювання за допомогою октан-коректора.
Перебої в одному циліндрі найчастіше
спричиняються:
/ несправністю свічки запалювання;
/ псуванням ізоляції проводу високої напруги, приєднаного до
свічки;
/ поганим контактом цього проводу в наконечнику свічки або в
гнізді кришки розподільника.
Перебої в кількох циліндрах можуть
виникати внаслідок:
/ псування ізоляції центрального проводу високої напруги;
/ поганого його контакту в гнізді кришки розподільника або в
затискачі котушки запалювання;
/ несправності конденсатора;
/ обгоряння контактів переривника, неправильного зазору між ними
або періодичного замикання рухомого контакту на масу через псування ізоляції,
тріщини кришки розподільника та ротора.
До несправностей свічки належать:
/ тріщини ізолятора;
/ обгоряння електродів або неправильний зазор між ними;
/ відкладання нагару на електродах.
Аби знайти несправну свічку, треба, запустивши двигун, на холостому
ходу по черзі від'єднувати від свічок проводи високої напруги (знімати
наконечники). Якщо при цьому перебої у двигуні збільшуються, то свічка, що
перевіряється, справна, а якщо робота двигуна не змінюється, то свічка
несправна. Крім того, несправна свічка буде трохи холоднішою, ніж решта.
Несправну свічку потрібно викрутити й після очищення електродів,
нижньої частини ізолятора та корпусу промити бензином й обдути стисненим
повітрям. Для очищення свічок краще використовувати спеціальний піскоструминний
апарат. Зазор між електродами свічки перевіряють круглим щупом і в разі потреби
регулюють, установлюючи його в межах 0,5...0,7 мм (для кожного двигуна встановлюється
заводом-виготовлювачем) підгинанням бічного електрода.
Часта причина перебоїв у циліндрах — окиснення й обгоряння
контактів переривника, які в цьому разі чинять великий опір проходженню струму,
внаслідок чого знижуються сила струму в первинній обмотці котушки запалювання
та напруга у вторинному колі.
Якщо зазор між контактами переривника малий, час перебування
контактів у розімкненому стані зменшується, й магнітне поле, яке створюється
первинною обмоткою, не встигає повністю зникнути.
Через 4...5 тис. км пробігу автомобіля:
• очистити прилади системи запалювання від пилу й бруду;
• перевірити й закріпити
проводи кіл низької та високої напруг. Через 10 тис.
км пробігу автомобіля:
• зняти кришку розподільника, протерти її зсередини ганчіркою,
змоченою бензином, а якщо буде виявлено замаснення,
то протерти диск і контакти переривника;
• змастити вісь рухомого контакту та фільц кулачка переривника
оливою для двигуна;
• на двигунах автомобілів
«Москвич», ЗАЗ і ГАЗ-24 додатково змастити оливою для двигуна втулку кулачка
переривника та мастилом 1-13 валик (повернувши ковпачок оливниці).
Через 20 тис. км пробігу автомобіля:
• на двигуні ВАЗ залити дві-три краплі оливи для двигуна в отвір оливниці, спочатку повернувши її кришку;
• оглянути контакти переривника й у разі виявлення нерівностей та обгоряння зачистити їх надфілем і відрегулювати
зазор між ними;
• перевірити встановлення моменту запалювання, для чого зняти
кришку розподільника, повернувши колінчастий вал, установити ротор у положення,
коли його розносна пластина буде спрямована на затискач першого циліндра,
приєднати контрольну лампу й повільно повертати колінчастий вал (перед цим
увімкнувши запалювання) до засвічування лампи — в цей момент установочні мітки
мають збігатися; в разі потреби встановлення запалювання повторити;
• вивернути свічки, якщо є нагар, покласти їх у бензин або ацетон,
через 20...25 хв очистити нагар щіточкою, промити й обдути стисненим повітрям,
перевірити круглим щупом зазор між електродами й у разі потреби відрегулювати
підгинанням бічного електрода.
Через ЗО тис. км пробігу автомобіля свічки рекомендується замінити
новими. Щоб запобігти зриванню різьби під час закручування, свічку слід
установлювати в торцевий свічковий ключ, а потім уже разом із ключем — у
свічковий отвір головки циліндрів і, легко повертаючи, рукою вкручувати
свічку, доки вона не піде вільно по різьбі, після чого остаточно затягнути із
застосуванням воротка.