Page 1

Практична робота №4

Тема: Система пуску дизелів

 

1. Мета заняття: Вивчити способи пуску дизельних двигунів, конструкцію пускових пристроїв

 

2. Обладнання робочого місця :двигун СМД-14, вузли системи пуску двигуна дизеля, плакати, відеоролики.

 

3. Загальні відомості

 

Надійний пуск двигуна – важливий показник його експлуатаційних якостей. Пуск здійснюється шляхом прокручування колінчастого вала двигуна додатковим джерелом енергії, яка витрачається на подолання тертя між деталями, приведення у дію механізмів і систем, стискування повітря у циліндрах і здійснення підготовчих тактів, а також надання кінематичної енергії рухомим масам.

Для того щоб запустити дизельний двигун, його колінвал повинен обертатись із швидкістю більше 200об/хв. При цьому забезпечується перемішування суміші і досягнення температури в циліндрі до +500...700°С.

Для пуску карбюраторного двигуна достатньо, щоб колінвал обертався із швидкістю З0...60об/хв (з умови сумішоутворення).

Мінімальна кількість обертів колінвала, при яких створюються умови, необхідні для пуску двигуна, називають пусковою кількістю обертів.

Використовують декілька способів запуску дизеля: з допомогою стартерів, або з допомогою допоміжних бензинових (карбюраторних) двигунів. Допоміжні карбюраторні двигуни запускають з допомогою електростартера або вручну.

Дизелі СМД-14, СМД-14А, Д-108, АМ-03'запускаються двотактними одноциліндровими карбюраторними бензиновими двигунами типу ПД (ПД-8,ПД-10) або чотиритактними типу П (ГІ-46, П-23). Дизелі СМД-60, 62. 64, 72 запускають з допомогою допоміжного одноциліндрового двотактного бензинового двигуна Д-350. В свою чергу цей двигун пускають стартером СТ-362 чи дублюючим ручним пускачем.

Дизелі типу ЯМЗ запускають з допомогою стартера СТ-103А/01. Для полегшення пуску дизелів типу ЯМЗ спеціальним пальником підігрівають воду і паливо, а типу СМД - повітря, яким прогрівають воду (охолоджуючу рідину) і мастило.

Пускові двигуни типу ПД — це двотактні двигуни з водяним охолодженням та індивідуальною системою пуску, живлення і мащення.

Складається двигун з корпусу та деталей кривошипно-шатунного механізму і системи запалювання. Остання передбачає одноіскрове магнето (М-24, М-124), дріт високої напруги і свічки (А-114).

Двигун Д-350 відрізняється підвищеною (до 10кВт) потужністю за рахунок підвищення ступеня стиску і частоти обертання колінчастого вала.

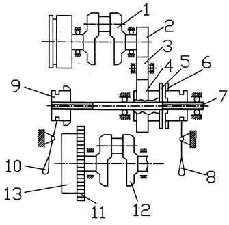
Для передачі крутного моменту від працюючого пускового двигуна на колінвал дизеля використовується силова передача (рис.4.1). Силова передача складається із редуктора, муфти, щеплення і механізму відключення.

Пуск пускового двигуна дизеля при допомозі стартера здійснюється шляхом перетворення електричної енергії в механічну, для запалення суміші в циліндрі карбюраторного двигуна.

Джерелом струму є акумуляторна батарея і генератор. На тракторах встановлюються по дві 12В батареї, які є джерелом струму на час пуску. Вони з'єднуються послідовно, що дозволяє отримати напругу 24В.

Генератор є джерелом струму усіх споживачів під час роботи основного двигуна дизеля. Генератор здійснює підзарядку акумуляторних батарей. Генератори мають потужність від 200 до 1000 Вт.

 

4. Вивчення роботи пуску допоміжним двигуном

 

Пусковий допоміжний двигун виконано одноциліндровим двотактним карбюраторним з кривошипно-камерним продуванням циліндра. Вивчіть конструкцію і принцип роботи пускового двигуна. Двигун складається із циліндра, поршня, шатуна, з'єднаного з поршневим пальцем, колінвалу, картер. Зверху в циліндр вкручена свічка.

Циліндр має три вікна: впускне, Б - продувне, В - випускне. Картер через вікно А з'єднується з карбюратором 8.

Прослідкуйте за роботою двигуна. При обертанні колінвалу поршень рухається від н.м.т. до в.м.т. Коли він перекриє продувне вікно Б, а потім випускне В, в циліндрі відбувається такт стиску, а в кривошипній камері утворюється розрідження, яке підсмоктує паливо і повітря (робочу суміш.) через вікно А. В кінці такту стиску електроіскра запалює паливо-повітряну (горючу) суміш, в результаті чого в циліндрі раптово підвищується тиск і поршень від в.м.т. прямує до н.м.т. Відкривається випускне, а потім продувне вікно. Циліндр очищується від, продуктів згорання. Так завершується робочий такт.

 

Рис.4.1. Схема трансмісії пускового двигуна: 1 - пусковий двигун; 2 - привідна шестерня; 3,4 - проміжні шестерні; 5 - ведучий диск; 6 - ведений диск; 7 - вал редуктора; 8,10 - важіль; 9 - привідна шестерня з автоматом виключення; 11 - шестерня маховика; 12 - колінчатий вал; 13 - маховик

 

Через шатун тиск передається на колінвал, який здійснює обертовий рух.

Передачу крутного моменту від колінвалу пускового двигуна на колінвал дизеля здійснюють силовою передачею.

Під час роботи пускового двигуна обертання від шестерні 2 передасться в проміжну шестерню 4. що вільно посаджена на вал 7. При дії важеля 8 на ведений фрикційний диск 6, посаджений на шліци валу 7, від ведучого диску 5, нерухомо посадженого на шестерню 4 через ведений диск 6, приводиться в рух шестерня 9. Якщо важелем 10 перевести по шліцах валу шестерню 9, то вона увійде в зачеплення з шестернею вінця маховика.

 

 

5. Дайте відповіді на запитання:

 

1. Як проводиться запуск дизельного двигуна?

2. Як проводиться запуск карбюраторного двигуна?

3. Розкажіть принцип роботи пускового двигуна.