3.3.3. Прохідні ізолятори
Прохідні ізолятори (вводи)
застосовуються для ізолювання й механічного кріплення струмоведучих частин
(шин, проводів), що проходять крізь заземлені кришки апаратів, перегородки,
стіни розподільних пристроїв і т.д. Тому прохідні ізолятори повинні мати
достатню електричну й механічну міцність і забезпечувати пропущення струму
певної величини.
Високовольтні прохідні ізолятори,
призначені для роботи при напрузі вище 35 кВ, називаються вводами.
Прохідні ізолятори (зокрема,
вводи у високовольтних апаратах і конструкціях), на відміну від інших типів
ізоляторів, мають несприятливе розташування електродів (рис. 3.13), при якому
радіальна складова напруженості електричного поля Еr поблизу фланця набагато перевершує тангенціальну
складову Еt, що приводить до вкрай нерівномірного розподілу
поля й нерівномірному зниженню розрядних напруг.

|
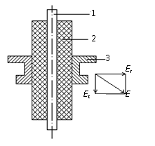
Рис. 3.13. Ескіз прохідного ізолятора: |
Рис. 3.14. Прохідний ізолятор із суцільною
порцеляновою |
Прохідні ізолятори виготовляють
для внутрішньої й зовнішнього встановлення, тому останні повинні бути
розраховані на мокророзрядну напруга. Розрізняють прохідні ізолятори із
суцільною порцеляновою ізоляцією й ізолятори з порожниною, що може бути
заповнена газом (повітрям), мінеральним маслом або компаундом.
Прохідний ізолятор із суцільною
порцеляновою ізоляцією (рис. 3.14) складається з порцелянового елемента 1, усередині якого проходить стрижень
(шина) 2, двох фланців (ковпачків) 3 на кінцях ізолятора для кріплення
струмоведучої частини й опорного фланця 4,
службовця для механічного кріплення ізолятора до конструкції апарата або стінки
розподільного пристрою, через яку здійснюється ввод високої напруги. Опорний
фланець з'єднується з порцеляною за допомогою цементного зв'язування 5. Між ковпачком і порцеляною містяться
картонні прокладки, що амортизують, і ущільнення.
Ізолятори для зовнішнього
встановлення мають ребристу поверхню, а для внутрішнього - гладку або хвилясту.
Для збільшення сухоразрядної напруги опорний (середній) фланець екранують ребрами,
зверненими до фланця, з металізованою поверхнею, електрично з'єднаної з
металевим фланцем.
Застосування проміжних ребер
також дозволяє підвищити розрядні напруги.
Нижня частина апаратних
ізоляторів поміщається в масло, має гладку поверхню й приблизно вдвічі коротше
повітряної (зовнішньої) частини.
Для запобігання іонізаційних
процесів у повітряному зазорі між струмоведучим стрижнем і внутрішньою стінкою
ізолятора остання може металізуватися й з'єднуватися зі струмоведучим стрижнем.
Розрахунок суцільних порцелянових
прохідних ізоляторів ведеться в напрямку визначення товщини стінки ізолятора,
що забезпечує необхідний запас електричної й механічної міцності при заданих
факторах, що впливають. Найбільше часто суцільні порцелянові ізолятори
застосовуються на напругу 6...10 кВ.

Прохідні ізолятори з порожниною
знаходять застосування в установках напругою до 35 кВ. З погляду електричної
міцності найбільш слабким місцем такого ізолятора (рис. 3.15) є порожнина,
заповнена газом, маслом або компаундом.
Пробій порожнини веде до повного
пробою ізолятора. Тому максимальна напруженість поля в порожнині ізолятора не
повинна перевищувати припустимих значень для обраного середовища, тобто Еmax £ Едоп,
при цьому Едоп повинна
бути менше пробивної напруженості порожнини Епр.