5.1.1. Загальні вказівки й рекомендації
Системи і способи управління освітленням. Для управління
внутрішнім і зовнішнім освітленням
можуть використовуватися апарати управління, встановлені в розподільних
пристроях підстанцій, розподільних пунктах живлення, вводних розподільних
пристроях, групових щитках [20,21,25].
При живленні від однієї лінії чотирьох і більше групових
щитків з кількістю груп шість і більше на введенні в кожний щиток
рекомендується встановлювати пристрій управління (автоматичний вимикач).
У мережах із заземленою нейтраллю апарати управління встановлюють у всіх фазних дротах. У вибухонебезпечних
зонах класу В-1 у двопроводних однофазних групових лініях передбачається
одночасне відключення фазного і нульового проводів.
У три- або двопроводних однофазних лініях мереж із
заземленою нейтраллю можуть використовуватися однополюсні вимикачі, які повинні
встановлюватися в ланцюзі фазного проводу, або двополюсні, при цьому повинна
виключатися можливість відключення одного нульового робочого провідника без
відключення фазного.
У мережах з ізольованою нейтраллю і без нейтралі і в мережах постійного струму апарати
управління встановлюють у всіх незаземлених проводах лінії і забезпечують їх
одночасне відключення.
У три- і двопроводних групових лініях мереж з ізольованою
нейтраллю або без нейтралі при напрузі
вище 50 В повинні встановлюватися
двополюсні вимикачі.
У мережах малої напруги (до 42 В) апарати управління
встановлюють: у трифазних лініях – в усіх проводах, в однофазних – в одному
незаземленому проводі.
Управління загальним внутрішнім освітленням. Для
невеликих приміщень вимикачі встановлюють біля входу, як правило, з боку
дверної ручки, для рідко відвідуваних приміщень (комори, венткамери і т. п.) –
зовні приміщень, у решті випадків – у приміщеннях. Управління окремими
ділянками приміщень з різною природною освітленістю повинне бути роздільним.
Вимикачі світильників, розміщених у приміщеннях з несприятливими умовами
середовища, рекомендується виносити в суміжні приміщення з кращими умовами
середовища. Вимикачі світильників душових і роздягалень при них, гарячих цехів
харчоблоків і їдалень повинні встановлюватися за межами цих приміщень.
У приміщеннях з бічним природним освітленням
рекомендується передбачати увімкнення
освітлювальних приладів рядами, паралельними вікнам.
У протяжних приміщеннях з декількома входами,
відвідуваних тільки спеціальним персоналом, необхідно передбачати управління
освітленням від кожного входу або
частини входів.

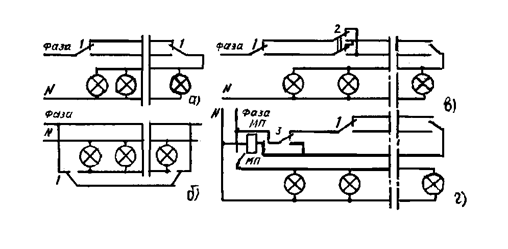
Рисунок 5.1 – Схеми управління освітленням з
декількох місць: а) з двох місць; б) з двох місць із транзитною фазою; в) з
трьох місць (при збільшенні числа перемикачів з будь-якого числа місць); г) за
допомогою магнітного пускача (для управління ним застосовують схеми а,б,в)
Місцеве управління освітленням великих приміщень, як
правило, проводиться з групових щитків автоматами групових ліній. Апарати
управління освітленням і щитки, з яких проводиться управління освітленням,
розміщують у місцях, доступних і зручних
для обслуговування.
Вимикачі світильників загального освітлення повинні
встановлюватися на стіні з боку дверної ручки на висоті від 0,8 до
Світильники місцевого освітлення повинні включатися
індивідуальними вимикачами, що входять до конструкції світильника або
встановлені в стаціонарній частині електропроводки.